NR-12 – Segurança no trabalho em máquinas e equipamentos 2

NR 12 - Máquinas e Equipamentos

1 ANEXO VI - Máquinas para panificação e confeitaria

1. Este Anexo estabelece requisitos específicos de segurança para máquinas de panificação e confeitaria, a saber: amassadeiras, batedeiras, cilindros, modeladoras, laminadoras, fatiadoras para pães e moinho para farinha de rosca.

2. Amassadeiras:

2.1 Para aplicação deste Anexo consideram-se:

a) amassadeiras classe 1: amassadeiras cujas bacias têm volume maior do que 5l (cinco litros) e menor ou igual a 90l (noventa litros) com capacidade de alimentação de até 25 kg (vinte e cinco quilogramas) de farinha por ciclo de trabalho;

b) amassadeiras classe 2: amassadeiras cujas bacias têm volume maior do que 90l (noventa litros) e menor ou igual a 270l (duzentos e setenta litros) com capacidade de alimentação de até 100 kg (cem quilogramas) de farinha por ciclo de trabalho;

c) amassadeiras classe 3: amassadeiras cujas bacias têm volume maior do que 270l (duzentos e setenta litros) com capacidade de alimentação de mais de 100 kg (cem quilogramas) de farinha por ciclo de trabalho;

d) bacia: recipiente destinado a receber os ingredientes que se transformam em massa após misturados pelo batedor, podendo também ser denominado tacho e cuba;

e) volume da bacia: volume máximo da bacia, usualmente medido em litros;

f) zonas perigosas da bacia: região entre a bacia e outros elementos da máquina, inclusive sua estrutura e seus sistemas de movimentação, que possam oferecer riscos ao operador ou a terceiros;

g) batedor: dispositivo destinado a, por movimento de rotação, misturar os ingredientes e produzir a massa, podendo ter diversas geometrias e ser denominado, no caso de amassadeiras, de garfo ou braço;

h) zona perigosa do batedor: região na qual o movimento do batedor oferece risco ao trabalhador, podendo o risco ser de aprisionamento ou de esmagamento.

2.2. O acesso à zona do batedor deve ser impedido por meio de proteção móvel intertravada por, no mínimo, uma chave de segurança com duplo canal, monitorada por relé de segurança - duplo canal, conforme os itens 12.38 a 12.55 e seus subitens e quadro I, do item A, do Anexo I desta Norma.

2.3. O acesso às zonas perigosas da bacia deve ser impedido por meio de proteções fixas ou proteções móveis intertravadas por, no mínimo, uma chave de segurança com duplo canal, monitorada por relé de segurança - duplo canal, conforme os itens 12.38 a 12.55 e seus subitens e quadro I do item A do Anexo I desta Norma.

2.4. Caso sejam utilizadas chaves de segurança eletromecânicas, ou seja, com atuador mecânico, no intertravamento das proteções móveis, devem ser instaladas duas chaves de segurança com ruptura positiva por proteção - porta, ambas monitoradas por relé de segurança - duplo canal conforme os itens 12.38 a 12.55 e seus subitens desta Norma, atendendo ainda requisitos de higiene e vibração.

2.5. O acesso à zona do batedor e zonas perigosas da bacia somente deve ser possível quando o movimento do batedor e da bacia tenha cessado totalmente.

2.6. Os dispositivos responsáveis pela parada do movimento e por seu monitoramento devem ser confiáveis e seguros, conforme os itens 12.38 a 12.55 e seus subitens desta Norma.

2.7. Quando a máquina não possuir sistema de frenagem, deve ser atendido o disposto no item 12.44, alínea “b”, desta Norma.

2.8. As amassadeiras devem possuir, no mínimo, dois botões de parada de emergência, conforme itens 12.56 a 12.63 e seus subitens desta Norma.

2.9. O circuito elétrico do comando da partida e parada do motor elétrico das amassadeiras deve possuir, no mínimo, dois contatores com contatos positivamente guiados, ligados em série, monitorados por interface de segurança.

3. Batedeiras

3.1. Para aplicação deste anexo consideram-se:

a) batedeira classe 1: batedeiras cujas bacias têm volume maior do que 5l (cinco litros) e menor ou igual a 18l (dezoito litros);

b) batedeira classe 2: batedeiras cujas bacias têm volume maior do que 18l (dezoito litros) e menor ou igual a 40l (quarenta litros);

c) batedeira classe 3: batedeiras cujas bacias têm volume maior do que 40l (quarenta litros);

d) bacia: recipiente destinado a receber os ingredientes que se transformarão na massa após misturados pelo batedor, podendo receber, também, as seguintes denominações: tacho e cuba;

e) volume da bacia: volume máximo da bacia usualmente medido em litros;

f) batedor: dispositivo destinado a, por movimento de rotação, misturar os ingredientes e produzir a massa; dependendo do trabalho a ser realizado, pode apresentar diversas geometrias, podendo também ser denominado gancho, leque ou paleta, globo ou arame; e

g) zona perigosa do batedor: região na qual o movimento do batedor oferece risco ao usuário, podendo o risco ser de aprisionamento ou esmagamento.

3.2. O acesso à zona do batedor deve ser impedido por meio de proteção móvel intertravada por, no mínimo, uma chave de segurança com duplo canal, monitorada por relé de segurança - duplo canal, conforme os itens 12.38 a 12.55 e seus subitens e quadro I do item A do Anexo I desta Norma.

2 ANEXO V - Motosserras

1. As motosserras devem dispor dos seguintes dispositivos de segurança:

a) freio manual ou automático de corrente;

b) pino pega-corrente;

c) protetor da mão direita;

d) protetor da mão esquerda; e

e) trava de segurança do acelerador.

1.1. As motopodas e similares devem atender, no que couber, o disposto no item 1 e alíneas deste Anexo.

2. Os fabricantes e importadores de motosserras e similares devem informar, nos catálogos e manuais de instruções de todos os modelos, os níveis de ruído e vibração e a metodologia utilizada para a referida aferição.

3. As motosserras e similares fabricadas e importadas devem ser comercializadas com manual de instruções que contenha informações relativas à segurança e à saúde no trabalho, especialmente:

a) quanto aos riscos à segurança e a saúde durante o seu manuseio;

b) instruções de segurança no trabalho com o equipamento, de acordo com o previsto nas Recomendações Práticas da Organização Internacional do Trabalho – OIT;

c) especificações de ruído e vibração; e

d) advertências sobre o uso inadequado.

4. Os fabricantes e importadores de motosserras e similares instalados no País devem disponibilizar, por meio de seus revendedores, treinamento e material didático para os usuários, conforme conteúdo programático relativo à utilização constante do manual de instruções.

4.1. Os empregadores devem promover, a todos os operadores de motosserra e similares, treinamento para utilização segura da máquina, com carga horária mínima de oito horas e conforme conteúdo programático relativo à utilização constante do manual de instruções.

4.2. Os certificados de garantia das máquinas devem ter campo específico, a ser assinado pelo consumidor, confirmando a disponibilidade do treinamento ou responsabilizando-se pelo treinamento dos trabalhadores que utilizarão a máquina.

5. Todos os modelos de motosserra e similares devem conter sinalização de advertência indelével e resistente, em local de fácil leitura e visualização do usuário, com a seguinte informação: o uso inadequado pode provocar acidentes graves e danos à saúde.

6. É proibido o uso de motosserras e similares à combustão interna em lugares fechados ou insuficientemente ventilados.

3 ANEXO VI - Máquinas para panificação e confeitaria Parte 2

3.3. Caso sejam utilizadas chaves de segurança eletromecânicas, com atuador mecânico no intertravamento das proteções móveis, devem ser instaladas duas chaves de segurança com ruptura positiva por proteção - porta, ambas monitoradas por relé de segurança - duplo canal, conforme os itens 12.38 a 12.55 e seus subitens desta Norma, atendendo ainda requisitos de higiene e vibração.
3.4. O acesso à zona perigosa do batedor somente deve ser possível quando o movimento do batedor e da bacia tenha cessado totalmente.
3.5. Os dispositivos responsáveis pela parada do movimento e por seu monitoramento devem ser confiáveis e seguros, conforme os itens 12.38 a 12.55 e seus subitens desta Norma.
3.6. Quando a máquina não possuir sistema de frenagem, deve ser atendido o disposto no item 12.44, alínea “b” desta Norma.
3.7. Deve haver garantia de que o batedor movimente-se apenas com a bacia na sua posição de trabalho.
3.8. As batedeiras de classes 2 e 3 definidas no subitem 3.1, alíneas “b” e “c”, deste Anexo, devem possuir dispositivo para manuseio do tipo carrinho manual ou similar para deslocamento da bacia a fim de reduzir o esforço físico do operador.
3.9. As bacias das batedeiras de classe 1 definidas no subitem 3.1, alínea “a”, deste Anexo, que não possuam dispositivo para manuseio do tipo carrinho manual ou similar para seu deslocamento, devem possuir pega, ou alças, ergonomicamente adequadas.
3.10. As batedeiras de classes 1, 2 e 3 definidas no subitem 3.1, alíneas “a”, “b” e “c”, deste Anexo, devem possuir, no mínimo, um botão de parada de emergência, conforme itens 12.56 a 12.63 e seus subitens desta Norma.
3.11. As batedeiras dotadas de sistema de aquecimento por meio de queima de combustível devem atender ao disposto no item 12.108 desta Norma e os requisitos das normas técnicas oficiais vigentes.
3.12. A temperatura máxima das superfícies acessíveis aos trabalhadores deve atender ao disposto no item 12.109 desta Norma e os requisitos das normas técnicas oficiais vigentes.
3.13. O dispositivo para movimentação vertical da bacia deve ser resistente para suportar os esforços solicitados e não deve gerar quaisquer riscos de aprisionamento ou compressão dos segmentos corporais dos trabalhadores durante seu acionamento e movimentação da bacia.
3.14. As batedeiras de classe 2 definidas no subitem 3.1, alínea “b’, deste Anexo, devem possuir dispositivo de movimentação vertical mecanizado, que reduza ao máximo o esforço e que garanta condições ergonômicas adequadas.
3.15. As batedeiras de classe 3 definidas no subitem 3.1, alínea “c’, deste Anexo, devem possuir dispositivo de movimentação vertical motorizado com acionamento por meio de dispositivo de comando de ação continuada.
3.16. O circuito elétrico do comando da partida e parada do motor elétrico das batedeiras deve possuir, no mínimo, dois contatores com contatos positivamente guiados, ligados em série, monitorados por interface de segurança.
4. Cilindro de panificação
4.1. Para aplicação deste Anexo considera-se cilindro de panificação a máquina de uso não doméstico, independente da capacidade, comprimento e diâmetro dos rolos cilíndricos, concebido para sovar a massa de fazer pães.
4.1.1. O cilindro de panificação consiste principalmente de dois cilindros paralelos tracionados que giram em sentido de rotação inversa, mesa baixa, prancha de extensão traseira, motor e polias.
4.1.1.1. Os conceitos e definições aqui empregados levam em conta a atual tecnologia empregada no segmento, ou seja, alimentação manual.
4.2. Para cilindros dotados de esteira que conduz a massa para a zona de cilindragem, as definições e proteções necessárias são as mesmas das modeladoras de pães, entendendo-se que o acesso à zona perigosa dos rolos, previsto no subitem 5.2.1.2 deste Anexo, deve ser isento de movimento de inércia por meio de sistema mecânico de frenagem.
4.3. Definições aplicáveis a cilindros:
a) mesa baixa: prancha na posição horizontal, utilizada como apoio para o operador manusear a massa;
b) prancha de extensão traseira: prancha inclinada em relação à base utilizada para suportar e encaminhar a massa até os cilindros;
c) cilindros superior e inferior: cilindros paralelos tracionados que giram em sentido de rotação inverso que comprimem a massa, tornando-a uniforme e na espessura desejada, situados entre a mesa baixa e a prancha de extensão traseira;
d) distância de segurança: distância mínima necessária para dificultar o acesso à zona de perigo;
e) movimento de risco: movimento de partes da máquina que pode causar danos pessoais;
f) rolete obstrutivo: rolo cilíndrico não tracionado, de movimento livre, posicionado sobre o cilindro superior, para evitar o acesso do operador à zona de perigo;
g) chapa de fechamento do vão entre cilindros: proteção móvel intertravada que impede o acesso do operador à zona de convergência entre cilindros;
h) indicador visual: mostrador com régua graduada que indica a distância entre os cilindros superior e inferior, e determina a espessura da massa, evitando o ato de colocar as mãos para verificar a abertura dos cilindros;
i) proteção lateral: proteção fixa nas laterais, especialmente na prancha de extensão traseira, para eliminar a possibilidade de contato com a zona de movimentação de risco;

4 ANEXO VI - Máquinas para panificação e confeitaria Parte 3

j) botão de parada de emergência: botão do tipo cogumelo na cor vermelha, à prova de poeira, posicionado em ambos os lados do cilindro de panificação, para acionamento da parada instantânea da máquina em caso de emergência, devendo o sistema mecânico de frenagem atuar de tal forma que elimine o movimento de inércia dos cilindros;
k) lâmina de limpeza para o cilindro superior: lâmina paralela ao eixo do cilindro e com mesmo comprimento, mantida tensionada para obter contato com a superfície inferior do cilindro, retirando os resíduos de massa;
l) chapa de fechamento de limpeza: proteção fixa que impede o acesso ao vão entre o cilindro inferior e a mesa baixa, proporcionando a limpeza de resíduos do cilindro inferior.
Figura 1: Desenho em corte da zona de trabalho do cilindro de panificação.
Fonte: Fundacentro.
4.4. Os cilindros de panificação devem manter uma distância mínima de segurança conforme Figura 2, respeitando os aspectos ergonômicos previstos nesta Norma.
Figura 2: Desenho esquemático do cilindro de panificação.
4.5. Entre o rolete obstrutivo e o cilindro tracionado superior deve haver proteção móvel intertravada - chapa de fechamento do vão entre cilindros - por, no mínimo, uma chave de segurança com duplo canal, monitorada por relé de segurança, duplo canal, conforme os itens 12.38 a 12.55 e seus subitens e quadro I do item A do Anexo I desta Norma.
4.5.1. Caso sejam utilizadas chaves de segurança eletromecânicas com atuador mecânico, no intertravamento das proteções móveis, devem ser instaladas duas chaves de segurança com ruptura positiva por proteção - porta, ambas monitoradas por relé de segurança, duplo canal, conforme os itens 12.38 a 12.55 e seus subitens desta Norma, atendendo ainda requisitos de higiene e vibração.
4.5.2. O acesso à zona de trabalho entre o rolete obstrutivo e o cilindro tracionado superior - chapa de fechamento do vão entre cilindros - somente deve ser possível quando o movimento do cilindro tracionado superior tenha cessado totalmente por meio de sistema mecânico de frenagem, que garanta a parada imediata quando aberta a proteção móvel intertravada, ou acionado o dispositivo de parada de emergência.
4.6. A inversão do sentido de giro dos cilindros tracionados deve ser impedida por sistema de segurança mecânico, elétrico ou eletromecânico à prova de burla, instalado na transmissão de força desses cilindros.
4.7. A máquina deve possuir, no mínimo, dois botões de parada de emergência instalados um de cada lado, conforme itens 12.56 a 12.63 e seus subitens desta Norma.
4.8. O circuito elétrico do comando da partida e parada do motor elétrico dos cilindros deve possuir, no mínimo, dois contatores com contatos positivamente guiados, ligados em série, monitorados por interface de segurança.
5. Modeladoras
5.1. Para aplicação deste anexo consideram-se:
a) correia transportadora modeladora: correia que transporta a porção de massa em processo de enrolamento;
b) correia transportadora enroladora: correia que, por pressionar a porção de massa contra a correia transportadora modeladora e por terem velocidades diferentes, enrola a massa já achatada pela passagem no conjunto de rolos;
c) correia transportadora alongadora: correia que, por pressionar a porção de massa contra a correia transportadora modeladora, alonga ou modela a massa já enrolada;
d) conjunto de rolos: conjunto de corpos cilíndricos que, quando em operação, apresentam movimento de rotação sobre seu eixo de simetria, observando-se que as posições relativas de alguns deles podem ser mudadas alterando-se a distância entre seus eixos de rotação, de forma a alterar a espessura da massa achatada pela passagem entre eles, que a seguir será enrolada e alongada; e
e) zona perigosa dos rolos: região na qual o movimento dos rolos oferece risco de aprisionamento ou esmagamento ao trabalhador.
5.2. O acesso à zona perigosa dos rolos, bem como aos elementos de transmissão das correias transportadoras, deve ser impedido por todos os lados por meio de proteções, exceto a entrada e saída da massa, em que se devem respeitar as distâncias de segurança, de modo a impedir que as mãos e dedos dos trabalhadores alcancem as zonas de perigo, conforme os itens 12.38 a 12.55 e seus subitens e quadro I item A do Anexo I desta Norma.
5.2.1. O acesso à zona perigosa dos rolos para alimentação por meio da correia modeladora transportadora deve possuir proteção móvel intertravada por, no mínimo, uma chave de segurança com duplo canal, monitorada por relé de segurança, duplo canal, conforme os itens 12.38 a 12.55 e seus subitens desta Norma.
5.2.1.1. Caso sejam utilizadas chaves de segurança eletromecânicas, com atuador mecânico, no intertravamento das proteções móveis, devem ser instaladas duas chaves de segurança com ruptura positiva por proteção - porta, ambas monitoradas por relé de segurança, duplo canal, conforme os itens 12.38 a 12.55 e seus subitens desta Norma, atendendo ainda requisitos de higiene e vibração.
5.2.1.2. O acesso à zona perigosa dos rolos somente deve ser possível quando seus movimentos tenham cessado totalmente.
5.2.1.3. Os dispositivos responsáveis pela parada do movimento e por seu monitoramento devem ser confiáveis e seguros, conforme os itens 12.38 a 12.55 e seus subitens desta Norma.
5.2.1.4. Quando a máquina não possuir sistema de frenagem, deve ser atendido ao disposto no item 12.44, alínea “b”, desta Norma.
5.3. As modeladoras devem possuir, no mínimo, um botão de parada de emergência, conforme itens 12.56 a 12.63 e seus subitens desta Norma.
5.4. O circuito elétrico do comando da partida e parada do motor elétrico das modeladoras deve possuir, no mínimo, dois contatores com contatos positivamente guiados, ligados em série, monitorados por interface de segurança.

5 ANEXO VI - Máquinas para panificação e confeitaria Parte 4

6. Laminadora
6.1. Para aplicação deste Anexo consideram-se:
a) correia transportadora: correia que transporta a porção de massa em processo de conformação, possuindo sentido de vai e vem a ser comandado pelo operador e que se estende desde a mesa dianteira, passando pela zona dos rolos rotativos tracionados, responsáveis pela conformação da massa, até a mesa traseira;
b) mesa dianteira: correia transportadora na qual a massa é colocada no início do processo;
c) mesa traseira: correia transportadora na qual a massa já sofreu conformação nos rolos rotativos tracionados;
d) conjunto de rolos rotativos tracionados: conjunto de corpos cilíndricos que, quando em operação, apresentam movimento de rotação sobre seu eixo de simetria, podendo suas posições variar, alterando a distância entre seus eixos, de forma a mudar a espessura da massa, bem como para impressão e corte da massa;
e) zona perigosa dos rolos: região na qual o movimento dos rolos oferece risco de aprisionamento ou esmagamento ao trabalhador.
6.2. O acesso à zona perigosa dos rolos, bem como aos elementos de transmissão da correia transportadora deve ser impedido por todos os lados por meio de proteções, exceto a entrada e saída da massa, em que se devem respeitar as distâncias de segurança, de modo a impedir que as mãos e dedos dos trabalhadores alcancem as zonas de perigo, conforme os itens 12.38 a 12.55 e seus subitens e quadro I item A do Anexo I desta Norma.
6.2.1. O acesso à zona perigosa dos rolos pela correia transportadora nas mesas dianteira e traseira deve possuir proteção móvel intertravada por, no mínimo, uma chave de segurança com duplo canal, monitorada por relé de segurança, duplo canal, conforme os itens 12.38 a 12.55 e seus subitens desta Norma.
6.2.1.1. Caso sejam utilizadas chaves de segurança eletromecânicas, com atuador mecânico, no intertravamento das proteções móveis, devem ser instaladas duas chaves de segurança com ruptura positiva por proteção - porta, ambas monitoradas por relé de segurança, duplo canal, conforme os itens 12.38 a 12.55 e seus subitens desta Norma, atendendo ainda requisitos de higiene e vibração.
6.2.1.2. O acesso à zona perigosa dos rolos somente deve ser possível quando seus movimentos tenham cessado totalmente.
6.2.1.3. Os dispositivos responsáveis pela parada do movimento e por seu monitoramento devem ser confiáveis e seguros, conforme os itens 12.38 a 12.55 e seus subitens desta Norma.
6.2.1.4 Quando a máquina não possuir sistema de frenagem, deve ser atendido o disposto no item 12.44, alínea “b”, desta Norma.
6.3. As laminadoras devem possuir, no mínimo, um botão de parada de emergência, conforme o item itens 12.56 a 12.63 e seus subitens desta Norma.
6.4. As laminadoras, inclusive o movimento das correias transportadoras, devem ser acionadas por meio de dispositivo manual, atendendo ao item 12.24 desta Norma, sendo proibido o uso de pedais.
6.5. O circuito elétrico do comando da partida e parada do motor elétrico das laminadoras deve possuir, no mínimo, dois contatores com contatos positivamente guiados, ligados em série, monitorados por interface de segurança.
7. Fatiadora de pães
7.1. Para aplicação deste Anexo consideram-se:
a) dispositivo de corte: conjunto de facas serrilhadas retas paralelas, que cortam por movimento oscilatório, ou por uma ou mais serras contínuas paralelas, que cortam pelo movimento em um único sentido;
b) região de descarga: região à jusante do dispositivo de corte, na qual são recolhidos manual ou automaticamente os produtos já fatiados;
c) região de carga: região à montante do dispositivo de corte, na qual são depositados manual ou automaticamente os produtos a serem fatiados;
d) dispositivo de alimentação: dispositivo que recebe os produtos a serem fatiados e os guia para o local de corte, podendo ter operação automática utilizando, por exemplo, correia transportadora, ou ser um dispositivo operado manualmente;
e) dispositivo de descarga: dispositivo que recebe os produtos já fatiados e os disponibiliza para o restante do processo produtivo, podendo ter operação automática, utilizando, por exemplo, correia transportadora, ou ser um dispositivo operado manualmente, ou apenas uma placa metálica fixa que recebe o produto, que é retirado manualmente.
7.2. O acesso ao dispositivo de corte deve ser impedido por todos os lados por meio de proteções, exceto a entrada e saída dos pães, em que se devem respeitar as distâncias de segurança, de modo a impedir que as mãos e dedos dos trabalhadores alcancem as zonas de perigo, conforme itens 12.38 a 12.55 e seus subitens e quadro I item A do Anexo I desta Norma.
7.2.1. O acesso ao dispositivo de corte pela região de carga deve possuir proteção fixa conjugada com proteção móvel intertravada, para entrada dos pães, por, no mínimo, uma chave de segurança com duplo canal e monitorada por relé de segurança, duplo canal, conforme os itens 12.38 a 12.55 e seus subitens desta Norma.
7.2.1.1. Caso sejam utilizadas chaves de segurança eletromecânicas, com atuador mecânico no intertravamento das proteções móveis, devem ser instaladas duas chaves de segurança com ruptura positiva por proteção - porta, ambas monitoradas por relé de segurança, duplo canal, conforme os itens 12.38 a 12.55 e seus subitens desta Norma, atendendo ainda requisitos de higiene e vibração.
7.2.2. Devem existir medidas de proteção na região de descarga, de modo a impedir que as mãos e dedos dos trabalhadores alcancem as zonas de perigo, conforme os itens 12.38 a 12.55 e seus subitens e quadro I item A do Anexo I desta Norma, garantido a sua segurança durante a retirada dos pães fatiados.
7.2.3. O acesso à zona de corte somente deve ser possível quando os movimentos das serrilhas tenham cessado totalmente.
7.3. As fatiadoras automáticas devem possuir, no mínimo, dois botões de parada de emergência, conforme itens 12.56 a 12.63 e seus subitens desta Norma.

6 ANEXO VI - Máquinas para panificação e confeitaria Parte 5

7.4. O circuito elétrico do comando da partida e parada do motor elétrico das fatiadoras deve possuir, no mínimo, dois contatores com contatos positivamente guiados, ligados em série, monitorados por interface de segurança.
8. Moinho para farinha de rosca
8.1. Para aplicação deste Anexo consideram-se:
a) dispositivo de moagem: conjunto de aletas que reduzem mecanicamente o pão torrado até a granulação de farinha de rosca;
b) região de descarga: região à jusante do dispositivo de moagem na qual é recolhida manual ou automaticamente a farinha de rosca; e
c) região de carga: região à montante do dispositivo de moagem na qual o pão torrado é depositado manual ou automaticamente.
8.2. O acesso ao dispositivo de moagem deve ser impedido por todos os lados por meio de proteções, exceto a entrada dos pães e saída da farinha de rosca, em que se devem respeitar as distâncias de segurança, de modo a impedir que as mãos e dedos dos trabalhadores alcancem as zonas de perigo, conforme os itens 12.38 a 12.55 e seus subitens e quadro I item A do Anexo I desta Norma.
8.2.1. O acesso ao dispositivo de moagem pela região de carga deve possuir proteções que garantam, por meio de distanciamento e geometria construtiva, a não inserção de segmento corporal dos trabalhadores.
8.2.2. Quando forem utilizadas proteções móveis, estas devem ser intertravadas por, no mínimo, uma chave de segurança com duplo canal, monitorada por relé de segurança, duplo canal.
8.2.2.1. Caso sejam utilizadas chaves de segurança eletromecânicas, com atuador mecânico, no intertravamento das proteções móveis, devem ser instaladas duas chaves de segurança com ruptura positiva por proteção - porta, ambas monitoradas por relé de segurança, duplo canal, conforme os itens 12.38 a 12.55 e seus subitens desta Norma, atendendo ainda requisitos de higiene e vibração.
8.2.3. O acesso ao dispositivo de moagem pela região de descarga deve possuir proteção fixa, conforme os itens 12.38 a 12.55 e seus subitens desta Norma.
8.2.4. O acesso à zona perigosa de moagem somente deve ser possível quando o movimento das aletas tenha cessado totalmente.
8.3. O bocal, se móvel, deve ser intertravado com a base por, no mínimo, uma chave de segurança com duplo canal, monitorada por relé de segurança, duplo canal, conforme os itens 12.38 a 12.55 e seus subitens desta Norma, impedindo o movimento das aletas com a máquina desmontada.
8.4. O circuito elétrico do comando da partida e parada do motor elétrico dos moinhos para farinha de rosca deve possuir, no mínimo, dois contatores com contatos positivamente guiados, ligados em série, monitorados por interface de segurança.

7 ANEXO VII - Máquinas para açougue e mercearia

Este Anexo estabelecer requisitos específicos de segurança para máquinas de açougue e mercearia, novas, usadas e importadas, a saber: serra fita, fatiador de bifes, amaciador de bife, moedor de carne e fatiador de frios.

1. Serra fita - para corte de carnes em varejo.

1.1. Para fins deste anexo considera-se serra fita a máquina utilizada em açougue para corte de carnes, principalmente com osso.

1.2. Os movimentos da fita no entorno das polias devem ser protegidos com proteções fixas ou proteções móveis intertravadas, conforme os itens 12.38 a 12.55 e seus subitens desta Norma, à exceção da área operacional necessária para o corte da carne, onde uma canaleta regulável deslizante deve enclausurar o perímetro da fita serrilhada na região de corte, liberando apenas a área mínima de fita serrilhada para operação.

1.3. Deve ser adotado braço articulado vertical – empurrador, com movimento pendular em relação à serra, que serve para guiar e empurrar a carne e impedir o acesso da mão à área de corte.

1.3.1. O braço articulado deve ser firmemente fixado à estrutura da máquina, não podendo apresentar folga lateral que comprometa a segurança, e ser rígido, de modo a não permitir deformações ou flexões.

1.4. A mesa fixa deve ter guia regulável paralela à serra fita utilizada para limitar a espessura do corte da carne.

1.5. As mesas de corte das máquinas fabricadas a partir da vigência desta Norma devem possuir uma parte móvel para facilitar o deslocamento da carne.

1.5.1. A mesa móvel deve ter dispositivo limitador do seu curso para que a proteção para as mãos não toque a fita.

1.5.2. A mesa móvel deve ter guia que permita o apoio da carne na mesa e seu movimento de corte.

1.6. A mesa móvel e o braço articulado - empurrador - devem ter manípulos - punhos, com anteparos para proteção das mãos.

1.7. Deve ser utilizado dispositivo manual para empurrar a carne lateralmente contra a guia regulável, e perpendicularmente à serra fita, para o corte de peças pequenas ou para finalização do corte da carne.

1.8. A serra fita deve possuir, no mínimo, um botão de parada de emergência, conforme itens 12.56 a 12.63 e seus subitens desta Norma.

2. Fatiador de bifes

2.1. Para fins deste Anexo considera-se fatiador de bifes a máquina com múltiplas lâminas tracionadas utilizada em açougue para fatiar peças de carne introduzidas por um bocal ou por meio de esteira alimentadora.

2.2. Os movimentos das lâminas de corte e de seus mecanismos devem ser enclausurados por proteções fixas ou proteções móveis intertravadas, conforme os itens 12.38 a 12.55 e seus subitens desta Norma, excetuando-se o bocal de alimentação, que deve atender o disposto no subitem 2.3 deste Anexo.

2.3. O bocal de alimentação deve impedir o acesso dos membros superiores atuando como proteção móvel intertravada dotada de, no mínimo uma chave de segurança com duplo canal, monitorada por relé de segurança, duplo canal, conforme os itens 12.38 a 12.55 e seus subitens e quadro I, item A, do Anexo I desta Norma.

2.4. A abertura da zona de descarga deve impedir o alcance dos membros superiores na zona das laminas de corte, conforme o e quadro I, item A, do Anexo I desta Norma.

3. Amaciador de bife

3.1. Para fins deste Anexo, considera-se amaciador de bifes a máquina com dois ou mais cilindros dentados paralelos tracionados que giram em sentido de rotação inversa por onde são passadas peças de bife pré-cortadas.

3.2. Os movimentos dos cilindros dentados e de seus mecanismos devem ser enclausurados por proteções fixas ou proteções móveis intertravadas, conforme os itens 12.38 a 12.55 e seus subitens desta Norma, excetuando-se o bocal de alimentação, que deve atender o disposto no item 3.3 deste Anexo.

3.3. O bocal de alimentação deve impedir o acesso dos membros superiores atuando como proteção móvel intertravada dotada de, no mínimo, uma chave de segurança com duplo canal, monitorada por relé de segurança, duplo canal, conforme os itens 12.38 a 12.55 e seus subitens e quadro I, item A, do Anexo I desta Norma.

3.4. A abertura da zona de descarga deve impedir o alcance dos membros superiores na zona de convergência dos cilindros dentados, conforme o quadro I, item A, do Anexo I desta Norma.

4. Moedor de carne - Picador

4.1. Para fins deste Anexo considera-se moedor de carne a máquina que utiliza rosca sem fim para moer carne.

4.2. Os movimentos da rosca sem fim e de seus mecanismos devem ser enclausurados por proteções fixas ou proteções móveis intertravadas, conforme os itens 12.38 a 12.55 e seus subitens desta Norma.

4.3. O bocal de alimentação deve ser construído de forma solidária à bandeja, formando uma peça única, que deve servir de proteção em função de sua geometria, ou possuir proteção que impeça o ingresso dos membros superiores na zona da rosca sem fim.

4.4. A bandeja deve atuar como proteção móvel intertravada dotada de, no mínimo, uma chave de segurança com duplo canal, monitorada por relé de segurança, duplo canal, conforme os itens 12.38 a 12.55 e seus subitens e quadro I, item A, do Anexo I desta Norma.

4.5. A abertura da zona de descarga deve impedir o alcance dos membros superiores na zona perigosa da rosca sem fim, conforme o quadro I, item A, do Anexo I desta Norma.

8 ANEXO VII - Máquinas para açougue e mercearia Parte 2

5. Fatiador de frios
5.1. Para fins deste anexo considera-se fatiador de frios a máquina com lâmina tracionada em formato de disco utilizada para fatiar frios.
5.2. Os movimentos da lâmina, com risco de corte, e seus mecanismos, inclusive durante sua afiação, exceto a área destinada ao fatiamento, devem ser enclausurados por proteções fixas ou proteções móveis intertravadas dotadas de, no mínimo, uma chave de segurança com duplo canal, monitorada por relé de segurança, duplo canal, conforme os itens 12.38 a 12.55 e seus subitens e quadro I, item A, do Anexo I desta Norma.

9 ANEXO - VIII Prensas e similares

1. Prensas são máquinas utilizadas na conformação e corte de materiais diversos, nas quais o movimento do martelo - punção, é proveniente de um sistema hidráulico ou pneumático - cilindro hidráulico ou pneumático, ou de um sistema mecânico, em que o movimento rotativo se transforma em linear por meio de sistemas de bielas, manivelas, conjunto de alavancas ou fusos.

1.1. As prensas são divididas em:

a) mecânicas excêntricas de engate por chaveta ou acoplamento equivalente;

b) mecânicas excêntricas com freio ou embreagem;

c) de fricção com acionamento por fuso;

d) servoacionadas;

e) hidráulicas;

f) pneumáticas;

g) hidropneumáticas; e

h) outros tipos não relacionados neste subitem.

1.2. Máquinas similares são aquelas com funções e riscos equivalentes aos das prensas, englobando:

a) martelos de queda;

b) martelos pneumáticos;

c) marteletes; d) dobradeiras; e) recalcadoras;

f) guilhotinas, tesouras e cisalhadoras;

g) prensas de compactação e de moldagem;

h) dispositivos hidráulicos e pneumáticos;

i) endireitadeiras;

j) prensas enfardadeiras; e

k) outras máquinas similares não relacionadas neste subitem.

1.2.1. Não se aplicam as disposições deste Anexo às máquinas denominadas de balancim de braço móvel manual - balancim jacaré, e balancim tipo ponte manual, que devem atender aos requisitos do Anexo X desta Norma.

1.3. Ferramentas - ferramental, estampos ou matrizes são elementos fixados no martelo e na mesa das prensas e similares, com função de corte ou conformação de materiais, podendo incorporar os sistemas de alimentação ou extração relacionados no subitem 1.4.

1.4. Sistemas de alimentação ou extração são meios utilizados para introduzir a matéria prima e retirar a peça processada da matriz, e podem ser:

a) manuais;

b) por gaveta;

c) por bandeja rotativa ou tambor de revólver;

d) por gravidade, qualquer que seja o meio de extração;

e) por mão mecânica;

f) por transportador ou robótica;

10 ANEXO - VIII Prensas e similares Parte 2

g) contínuos - alimentadores automáticos; e
h) outros sistemas não relacionados neste subitem.
2. Sistemas de segurança nas zonas de prensagem.
2.1. Os sistemas de segurança nas zonas de prensagem ou trabalho aceitáveis são:
a) enclausuramento da zona de prensagem, com frestas ou passagens que não permitem o ingresso dos dedos e mãos nas zonas de perigo, conforme item A, do Anexo I, desta Norma, e podem ser constituído de proteções fixas ou proteções móveis dotadas de intertravamento, conforme itens 12.38 a 12.55 e seus subitens desta Norma;
b) ferramenta fechada, que significa o enclausuramento do par de ferramentas, com frestas ou passagens que não permitem o ingresso dos dedos e mãos nas zonas de perigo, conforme quadro I, item A, do Anexo I desta Norma;
c) cortina de luz com redundância e autoteste, monitorada por interface de segurança, adequadamente dimensionada e instalada, conforme item B, do Anexo I, desta Norma e normas técnicas oficiais vigentes, conjugada com comando bimanual, atendidas as disposições dos itens 12.26, 12.27, 12.28 e 12.29 desta Norma.
2.1.1. Havendo possibilidade de acesso a zonas de perigo não supervisionadas pelas cortinas, devem existir proteções fixas ou móveis dotadas de intertravamento, conforme itens 12.38 a 12.55 e subitens desta Norma.
2.1.2. O número de comandos bimanuais deve corresponder ao número de operadores na máquina, conforme item 12.30 e subitens desta Norma.
2.1.3. Os sistemas de segurança referidos na alínea “c” do subitem 2.1 e no item 2.1.1 deste Anexo devem ser classificados como categoria 4, conforme a NBR 14153.
3. Proteção da zona de prensagem ou de trabalho.
3.1. As prensas mecânicas excêntricas de engate por chaveta ou de sistema de acoplamento equivalente de ciclo completo de fricção com acionamento por fuso e seus respectivos similares, não podem permitir o ingresso das mãos ou dos dedos dos operadores nas zonas de prensagem, devendo ser adotados os seguintes sistemas de segurança: .
a) enclausuramento com proteções fixas e, havendo necessidade de troca frequente de ferramentas, com proteções móveis dotadas de intertravamento com bloqueio, de modo a permitir a abertura somente após a parada total dos movimentos de risco, conforme alínea “a”, do subitem 2.1, deste Anexo e item 12.46 desta Norma; ou
b) operação somente com ferramentas fechadas, conforme alínea “b”, do subitem 2.1 deste Anexo.
3.2. As prensas mecânicas excêntricas com freio e embreagem, servoacionadas, hidráulicas, pneumáticas, hidropneumáticas e seus respectivos similares devem adotar os seguintes sistemas de segurança nas zonas de prensagem ou trabalho:
a) enclausuramento com proteções fixas ou proteções móveis dotadas de intertravamento, conforme alínea “a”, do subitem 2.1 deste Anexo; ou
b) operação somente com ferramentas fechadas, conforme alínea “b”, do subitem 2.1 deste Anexo; ou
c) utilização de cortina de luz conjugada com comando bimanual, conforme alínea “c”, do subitem 2.1e seus subitens deste Anexo.
4. Sistemas hidráulicos e pneumáticos de comando.
4.1. As prensas mecânicas excêntricas com freio ou embreagem pneumático, as prensas pneumáticas e seus respectivos similares, devem ser comandados por válvula de segurança específica com fluxo cruzado, monitoramento dinâmico e livre de pressão residual.
4.1.1. A prensa ou similar deve possuir rearme manual, incorporado à válvula de segurança ou em outro componente do sistema, de modo a impedir acionamento adicional em caso de falha.
4.1.2. Nos modelos de válvulas com monitoramento dinâmico externo por pressostato, micro-switches ou sensores de proximidade, o monitoramento deve ser realizado por interface de segurança.
4.1.3. Somente podem ser utilizados silenciadores de escape que não apresentem risco de entupimento, ou que tenham passagem livre correspondente ao diâmetro nominal, de maneira a não interferir no tempo de frenagem.
4.1.4. Quando válvulas de segurança independentes forem utilizadas para o comando de prensas e similares com freio e embreagem separados, devem ser interligadas de modo a estabelecer entre si um monitoramento dinâmico, para assegurar que o freio seja imediatamente aplicado caso a embreagem seja liberada durante o ciclo, e ainda para impedir que a embreagem seja acoplada caso a válvula do freio não atue.
4.1.5. Os sistemas de alimentação de ar comprimido para circuitos pneumáticos de prensas e similares devem garantir a eficácia das válvulas de segurança, e possuir purgadores ou sistema de secagem do ar e sistema de lubrificação automática com óleo específico para este fim.
4.1.6. A exigência constante do subitem 4.1.4 não se aplica a prensas pneumáticas e seus respectivos similares.
4.2. As prensas mecânicas excêntricas com freio ou embreagem hidráulico e seus respectivos similares devem ser comandados por sistema de segurança composto por válvulas em redundância, com monitoramento dinâmico.
4.2.1. A prensa ou similar deve possuir rearme manual, de modo a impedir qualquer acionamento adicional em caso de falha.
4.2.2. Nos sistemas de válvulas com monitoramento dinâmico externo por pressostato, micro-switches ou sensores de proximidade, o monitoramento deve ser realizado por interface de segurança.

11 ANEXO - VIII Prensas e similares Parte 3

4.2.3. Quando válvulas independentes forem utilizadas, devem ser interligadas de modo a estabelecer entre si um monitoramento dinâmico, assegurando que não haja pressão residual capaz de comprometer o funcionamento do conjunto freio e embreagem em caso de falha de uma das válvulas.
4.2.4. Quando forem utilizadas válvulas independentes para o comando de prensas e similares com freio e embreagem separados, aplica-se o disposto no subitem 4.1.4.
4.3. As prensas hidráulicas e similares devem possuir bloco hidráulico de segurança ou sistema de segurança composto por válvulas em redundância que possua a mesma característica e eficácia, com monitoramento dinâmico.
4.3.1. A prensa ou similar deve possuir rearme manual, de modo a impedir acionamento adicional em caso de falha.
4.3.2. Nos sistemas de válvulas com monitoramento dinâmico externo por pressostato, micro-switches ou sensores de proximidade, o monitoramento deve ser realizado por interface de segurança.
4.3.3. Quando válvulas independentes forem utilizadas, devem ser interligadas de modo a estabelecer entre si um monitoramento dinâmico, assegurando que não haja pressão residual capaz de comprometer a segurança em caso de falha de uma das válvulas.
4.3.4. As prensas hidráulicas e similares devem possuir válvula ou sistema de retenção para impedir a queda do martelo em caso de falha do bloco de segurança ou do sistema hidráulico.
4.3.5. Quando utilizado sistema hidráulico, a válvula ou sistema de retenção deve ficar localizado o mais próximo possível do cilindro.
5. Dispositivos de parada de emergência.
5.1. As prensas e similares devem possuir dispositivos de parada de emergência que garantam a parada segura do movimento da máquina ou equipamento, conforme itens 12.56 a 12.63 e seus subitens desta Norma.
5.2. O sistema de parada de emergência da prensa deve ser preparado para interligação com os sistemas de parada de emergência de equipamentos periféricos tais como desbobinadores, endireitadores e alimentadores, de modo que o acionamento do dispositivo de parada de emergência de qualquer um dos equipamentos provoque a parada imediata de todos os demais.
5.3. Quando utilizados comandos bimanuais conectáveis por plug ou tomada, removíveis, que contenham botão de parada de emergência, deve haver também dispositivo de parada de emergência no painel ou no corpo da máquina.
5.4. Havendo vários comandos bimanuais para o acionamento de uma prensa ou similar, devem ser ligados de modo a garantir o funcionamento adequado do botão de parada de emergência de cada um deles, nos termos desta Norma.
6. Monitoramento da posição do martelo.
6.1. Nas prensas mecânicas excêntricas com freio ou embreagem e similares, com zona de prensagem não enclausurada, ou cujas ferramentas não sejam fechadas, a posição do martelo deve ser monitorada por sinais elétricos produzidos por equipamento acoplado mecanicamente ao eixo da máquina.
6.1.1. O monitoramento da posição do martelo, compreendido por ponto morto inferior - PMI, ponto morto superior - PMS e escorregamento máximo admissível, deve incluir dispositivos para assegurar que, se o escorregamento da frenagem ultrapassar o máximo admissível especificado pela norma ABNT NBR 13930, uma ação de parada seja imediatamente iniciada e não possa ser possível o início de um novo ciclo.
6.1.2. Os sinais elétricos devem ser gerados por chaves de segurança com duplo canal e ruptura positiva, monitoradas por interface de segurança classificada como categoria 4 conforme a norma ABNT NBR 14153.
6.1.3. Quando for utilizada interface de segurança programável que tenha blocos de programação dedicados à função de controle e supervisão do PMS, PMI e escorregamento, a exigência de duplo canal fica dispensada.
6.2. Nas prensas hidráulicas, pneumáticas e similares, com zona de prensagem não enclausurada, ou cujas ferramentas não sejam fechadas, a posição do martelo deve ser monitorada.
6.3. Para prensas em que não seja possível garantir a parada segura do martelo em função de sua velocidade e do tempo de resposta da máquina, não é permitido o uso de cortinas de luz para proteção da zona de prensagem, ficando dispensada a exigência do subitem 6.1 deste Anexo, devendo a zona de prensagem ser protegida com proteções fixas ou móveis com intertravamento com bloqueio, de acordo com os itens 12.38 a 12.55 e seus subitens desta Norma.
7. Pedais de acionamento.
7.1. As prensas e similares que possuem zona de prensagem ou de trabalho enclausurada ou utilizam somente ferramentas fechadas podem ser acionadas por pedal com atuação elétrica, pneumática ou hidráulica, não sendo permitido o uso de pedais com atuação mecânica ou alavancas.
7.2. Os pedais de acionamento devem permitir o acesso somente por uma única direção e por um pé, devendo ser protegidos para evitar seu acionamento acidental.
7.3. Para atividades de forjamento a morno e a quente podem ser utilizados os pedais conforme disposto no subitem 7.2 deste Anexo, desde que sejam adotadas medidas de proteção que garantam o distanciamento do trabalhador das áreas de risco.
7.4. Nas operações com dobradeiras podem ser utilizados os pedais conforme disposto no subitem 7.2 deste Anexo, sem a exigência de enclausuramento da zona de prensagem, desde que adotadas medidas adequadas de proteção contra os riscos existentes.
7.5. O número de pedais deve corresponder ao número de operadores conforme o item 12.30 e subitens desta Norma.
8. Atividades de forjamento a morno e a quente
8.1. Para as atividades de forjamento a morno e a quente podem ser utilizadas pinças e tenazes, desde que sejam adotadas medidas de proteção que garantam o distanciamento do trabalhador das zonas de perigo.
8.1.1. Caso necessário, as pinças e tenazes devem ser suportadas por dispositivos de alívio de peso, tais como balancins móveis ou tripés, de modo a minimizar a sobrecarga do trabalho.

12 ANEXO - VIII Prensas e similares Parte 4

9. Proteção das transmissões de força

9.1 As transmissões de força, como volantes, polias, correias e engrenagens devem ser protegidas conforme os itens 12.38 a 12.55 e subitens desta Norma.

9.1.1. Nas prensas excêntricas mecânicas deve haver proteção fixa das bielas e das pontas de seus eixos que resistam aos esforços de solicitação em caso de ruptura.

9.1.2. O volante vertical e horizontal da prensas de fricção com acionamento por fuso devem ser protegidos, de modo que não sejam arremessados em caso de ruptura do fuso.

10. Ferramentas.

10.1. As ferramentas devem:

a) ser construídas de forma que evitem a projeção de material nos operadores;

b) ser armazenadas em locais próprios e seguros;

c) ser fixadas às máquinas de forma adequada, sem improvisações; e d) não oferecer riscos adicionais.

11. Sistemas de retenção mecânica.

11.1. As prensas e similares devem possuir sistema de retenção mecânica que suporte o peso do martelo e da parte superior da ferramenta, para travar o martelo no início das operações de trocas, ajustes e manutenções das ferramentas.

11.2. O componente de retenção mecânica deve ser pintado na cor amarela e possuir intertravamento monitorado por interface de segurança, de forma a impedir, durante a sua utilização, o funcionamento da prensa.

11.3 O componente de retenção mecânica deve:

a) garantir a retenção mecânica nas diversas posições de parada do martelo; e

b) ser projetado e construído de modo a garantir resistência à força estática exercida pelo peso total do conjunto móvel a ser sustentado e que impeça sua projeção ou sua simples soltura.

11.4. Nas situações em que não seja possível o uso do sistema de retenção mecânica, devem ser adotadas medidas alternativas que garantam o mesmo resultado.

12. Máquinas similares específicas.

12.1. Nos martelos pneumáticos:

a) o parafuso central da cabeça do amortecedor deve ser preso com cabo de aço;

b) o mangote de entrada de ar deve possuir proteção que impeça sua projeção em caso de ruptura; e c) todos os prisioneiros, superior e inferior, devem ser travados com cabo de aço.

12.2. As guilhotinas, tesouras e cisalhadoras devem possuir proteções fixas e, havendo necessidade de intervenção frequente nas lâminas, devem possuir proteções móveis com intertravamento para impedir o ingresso das mãos e dedos dos operadores nas áreas de risco, conforme os itens 12.38 a 12.55 e subitens desta Norma.

13 Dobradeiras ou prensas viradeiras.

13.1. As dobradeiras devem possuir sistema de segurança que impeça o acesso pelas laterais e parte traseira da máquina às zonas de perigo, conforme os itens 12.38 a 12.55 e subitens desta Norma.

13.2. As dobradeiras devem possuir sistema de segurança frontal que cubra a área de trabalho, selecionado de acordo com as características da construção da máquina e a geometria da peça a ser conformada, observando:

a) as dobradeiras com freio ou embreagem mecânicos - cinta, em função da imprecisão na determinação do tempo de parada, não podem possuir dispositivos detectores de presença optoeletrônicos para proteção frontal na zona de trabalho, sendo proibida a operação por mais de um trabalhador e a conformação de peças que não garantam o distanciamento do operador;

b) as dobradeiras com freio ou embreagem pneumáticos e as dobradeiras hidráulicas podem possuir dispositivos detectores de presença optoeletrônicos para proteção frontal na zona de trabalho, desde que adequadamente selecionados e instalados conforme o item B do Anexo I desta Norma;

c) as dobradeiras hidráulicas podem utilizar dispositivos detectores de presença optoeletrônicos laser de múltiplos feixes para proteção da zona de trabalho em tarefas com múltiplas dobras, condicionada às características e limitações da máquina em função da disponibilidade de baixa velocidade, se inferior ou igual a 10mm/s (dez milímetros por segundo), em altura de curso que não permita o acesso dos dedos do trabalhador, ou seja, inferior ou igual a 6mm (seis milímetros);

d) nas dobradeiras hidráulicas dotadas de dispositivo detector de presença optoeletrônico laser de múltiplos feixes, sua desativação completa – muting, somente deve ocorrer quando a abertura entre a ferramenta superior e a peça a ser conformada for menor ou igual a 6 mm (seis milímetros), associada à movimentação em baixa velocidade;

e) os dispositivos detectores de presença optoeletrônicos laser de múltiplos feixes devem ser instalados e testados de acordo com as recomendações do fabricante, norma técnica específica vigente e item C, do Anexo I, desta Norma; e

13 ANEXO - VIII Prensas e similares Parte 5

f) as dobradeiras hidráulicas que possuem dispositivos detectores de presença optoeletrônicos laser de múltiplos feixes devem ser acionadas por comando bimanual previsto nos itens 12.26, 12.27, 12.28 e 12.29 ou pedal de segurança de 3 posições, conforme item C, do Anexo I, todos desta Norma;
13.3. As dobradeiras operadas unicamente por robôs podem ser dispensadas das exigências dos subitens 13.1 e 13.2 deste Anexo, desde que possuam sistema de proteção para impedir o acesso de trabalhadores em todo o perímetro da máquina e de movimentação do robô, conforme os itens 12.38 12.55 e subitens desta Norma.
13.4. Medidas adicionais, como o emprego de posicionadores ou mesa ou encosto imantado, devem ser adotadas a fim de evitar acidentes com as mãos do trabalhador entre a peça trabalhada e a estrutura - avental - da máquina no momento da conformação.
14. As bobinadeiras, desbobinadeiras, endireitadeiras e outros equipamentos de alimentação devem possuir proteção em todo o perímetro, impedindo o acesso e a circulação de pessoas nas áreas de risco, conforme os itens 12.38 a 12.55 e subitens desta Norma.
15. Outras disposições.
15.1. Podem ser adotadas, em caráter excepcional, outras medidas de proteção e sistemas de segurança nas prensas e similares, desde que garantam a mesma eficácia das proteções e dispositivos mencionados neste anexo, e atendam ao disposto nas normas técnicas oficiais vigentes.
15.2. É proibida a importação, a fabricação, comercialização, leilão, locação, cessão a qualquer título e exposição de prensas mecânicas excêntricas e similares com acoplamento para descida do martelo por meio de engate por chaveta ou similar e dobradeiras mecânicas com freio de cinta, novas ou usadas, em todo o território nacional.
15.2.1. Entende-se como mecanismo similar aquele que não possibilite a parada imediata do movimento do martelo em qualquer posição do ciclo de trabalho.
16. Transformação de prensas e equipamentos similares
16.1. Qualquer transformação substancial do sistema de funcionamento ou do sistema de acoplamento para movimentação do martelo - “retrofitting” de prensas e equipamentos similares somente deve ser realizada mediante projeto mecânico elaborado por profissional legalmente habilitado, acompanhado de Anotação de Responsabilidade Técnica - ART.
16.2. O projeto deverá conter memória de cálculo de dimensionamento dos componentes, especificação dos materiais empregados e memorial descritivo de todos os componentes.

14 ANEXO IX - Injetoras de materiais plásticos

1. Para fins de aplicação deste Anexo considera-se injetora a máquina utilizada para a fabricação descontínua de produtos moldados, por meio de injeção de material no molde, que contém uma ou mais cavidades em que o produto é formado, consistindo essencialmente na unidade de fechamento - área do molde e mecanismo de fechamento, unidade de injeção e sistemas de acionamento e controle, conforme Figura 1 deste Anexo.

1.1. Definições aplicáveis:

a) máquina injetora hidráulica: máquina injetora em que os acionamentos dos eixos são executados por circuito de potência hidráulico, composto por motor elétrico, bomba hidráulica e cilindro hidráulico;

b) área do molde: zona compreendida entre as placas, onde o molde é montado;

c) mecanismo de fechamento: mecanismo fixado à placa móvel para movê-la e aplicar a força de fechamento;

d) força de fechamento: força exercida pelo conjunto cilindro de injeção e rosca sobre a peça de plástico que se solidifica dentro do molde de uma injetora, que garanta sua alimentação com material adicional enquanto ela se contrai em função da solidificação e resfriamento;

e) unidade de injeção: unidade responsável pela plastificação e injeção do material no molde por meio do bico;

f) injeção: transferência da massa do cilindro de injeção para o molde, processo cíclico em que um material amolecido por calor é injetado dentro de um molde sob pressão, que se mantém até que o plástico tenha endurecido suficientemente para ser ejetado do molde;

g) circuito de potência: circuito que fornece energia para operação da máquina;

h) máquina injetora carrossel - rotativa: máquina com duas ou mais unidades de fechamento, montadas em carrossel móvel, na posição vertical ou horizontal, vinculadas a uma ou mais unidades de injeção fixas;

i) máquina injetora multi-estações com unidade de injeção móvel: máquina com unidade de injeção móvel vinculada a duas ou mais unidades de fechamento fixas;

j) máquina injetora com mesa porta-molde de deslocamento transversal: máquina projetada para conter uma ou mais partes inferiores do molde fixadas a uma mesa porta-molde de deslocamento transversal, que vincula a parte inferior do molde por meio de movimento de deslocamento ou rotação da mesa, à parte superior e à unidade de injeção;

k) máquina injetora elétrica: máquina injetora em que os acionamentos dos eixos são executados por atuadores elétricos - servomotores;

l) motor elétrico: qualquer tipo de motor que usa energia elétrica, como servomotor ou motor linear;

m) unidade de controle do motor: unidade para controlar o movimento, o processo de parada e interrupção de movimento de um motor elétrico, com ou sem dispositivo eletrônico integrado, tais como conversor de frequência e contator;

n) eixo elétrico: sistema composto por um motor elétrico, uma unidade de controle motor e os contatores adicionais;

o) estado de parada: condição no qual não há movimento de uma parte da máquina com um eixo elétrico;

p) estado de parada segura: estado de parada durante o qual medidas adicionais são tomadas para evitar disparo inesperado;

q) parada: desaceleração de um movimento de uma parte da máquina até que o estado de parada seja alcançado;

r) parada segura: parada durante a qual medidas adicionais são tomadas para evitar interrupção perigosa de movimento;

s) entrada de comando de segurança monitorada: entrada de uma unidade de controle do motor usada para interrupção do fornecimento de energia para o motor do eixo elétrico;

t) equipamento periférico: equipamento que interage com a máquina injetora, por exemplo, manipulador para retirada de peças, equipamento para troca de molde e presilhas de fixação automática do molde.

1.2. Requisitos específicos de segurança nas zonas de perigo das injetoras.

1.2.1. Perigos relacionados à área do molde.

1.2.1.1. O acesso à área do molde onde o ciclo é comandado, ou frontal, deve ser impedido por meio de proteções móveis intertravadas - portas, dotadas de duas chaves de segurança eletromecânicas monitoradas por interface de segurança, atuando na unidade de comando de tal forma que a falha em qualquer um dos dispositivos de intertravamento ou em sua interligação seja automaticamente reconhecida e ainda seja impedido o início de qualquer movimento posterior de perigo, conforme os itens 12.38 a 12.55 e subitens subsequentes desta Norma.

1.2.1.1.1. Quando utilizadas chaves de segurança magnéticas, eletrônicas codificadas ou optoeletrônicas, entre outras sem atuação mecânica, pode ser adotada apenas uma chave para o intertravamento, devendo o monitoramento ser mantido por interface de segurança.

1.2.1.2. Além do disposto no subitem 1.2.1.1 deste Anexo, a proteção frontal deve atuar no circuito de potência por meio de uma válvula monitorada ou, de maneira indireta, por meio de duas chaves de segurança eletromecânicas monitoradas por interface de segurança, exceto para as máquinas injetoras elétricas.

1.2.1.2.1. Quando utilizadas chaves de segurança magnéticas, eletrônicas codificadas ou optoeletrônicas, entre outras sem atuação mecânica, pode ser adotada apenas uma chave para essa função, mantendo-se o monitoramento por interface de segurança.

1.2.1.3. Quando utilizadas chaves de segurança magnéticas, eletrônicas codificadas ou optoeletrônicas, entre outras sem atuação mecânica, pode ser adotado apenas um dispositivo de intertravamento, monitorado por interface de segurança, para o atendimento de cada um dos subitens 1.2.1.1 e 1.2.1.2 deste Anexo.

15 ANEXO IX - Injetoras de materiais plásticos Parte 2

1.2.1.4. O acesso à área do molde onde o ciclo não é comandado, ou traseira, deve ser impedido por meio de proteções móveis intertravadas - portas, dotadas de duas chaves de segurança eletromecânicas monitoradas por interface de segurança, que atuem no circuito de potência, e desliguem o motor principal.
1.2.1.4.1. Quando utilizadas chaves de segurança magnéticas, eletrônicas codificadas ou optoeletrônicas, entre outras sem atuação mecânica, pode ser adotada apenas uma chave para essa função, mantendo-se o monitoramento por interface de segurança.
1.2.5.1. Deve existir proteção na área de descarga de peças, de modo a impedir que segmentos corporais alcancem as zonas de perigo, conforme os itens 12.38 a 12.55 e subitens desta Norma.
1.2.1.6. As proteções móveis devem ser projetadas de modo que não seja possível a permanência de uma pessoa entre elas e a área do molde.
1.2.1.6.1. Caso seja necessária a permanência ou acesso de todo o corpo entre as proteções e a área de movimento perigoso ou dentro da área do molde, devem ser atendidos os subitens de 1.2.6.2 a 1.2.6.3.5 deste Anexo
1.2.1.7. Deve ser instalado dispositivo mecânico de segurança autorregulável, de tal forma que atue independente da posição da placa, ao abrir a proteção - porta, interrompendo o movimento dessa placa sem necessidade de qualquer regulagem, ou seja, sem regulagem a cada troca de molde.
1.2.1.7.1. A partir da abertura da proteção até a efetiva atuação da segurança, é permitido um deslocamento da placa móvel, de amplitude máxima igual ao passo do dispositivo mecânico de segurança autorregulável.
1.2.1.7.2. O dispositivo mecânico de segurança autorregulável deve ser dimensionado para resistir aos esforços do início do movimento de fechamento da placa móvel, não sendo sua função resistir à força de fechamento.
1.2.1.8. As proteções móveis intertravadas - portas, devem ainda proteger contra outros movimentos, e quando forem abertas, devem:
a) interromper o ciclo; a plastificação pode continuar se o espirramento de material plastificado for impedido e a força de contato do bico não puder provocar situações de perigo;
b) impedir movimento de avanço da rosca ou pistão de injeção;
c) impedir movimento de avanço da unidade de injeção; e
d) impedir movimentos perigosos dos extratores de machos e peças e de seus mecanismos de acionamento.
1.2.1.9. Dispositivos de segurança para máquinas com eixo elétrico - injetoras elétricas.
1.2.1.9.1. As máquinas injetoras elétricas devem atender aos requisitos de segurança deste Anexo, com exceção aos subitens 1.2.1.2. e 1.2.1.7
1.2.1.9.2. Para o movimento de fechamento da placa das injetoras elétricas, o circuito de potência deve possuir ligação em série com mais de uma unidade de controle motor, da seguinte forma:
a) uma unidade de controle de velocidade do motor tendo em sua saída mais dois contatores em série; ou
b) uma unidade de controle de velocidade do motor com uma entrada de comando de segurança monitorada, tendo em sua saída mais um contator em série; ou
c) uma unidade de controle de velocidade do motor com duas entradas de comando de segurança monitoradas de categoria 3, sendo que, neste caso, o uso de contator em série é desnecessário.
1.2.1.9.3. Os componentes do circuito de potência devem possuir monitoramento automático, de forma que, em caso falha em um dos componentes, não seja possível iniciar o movimento seguinte do ciclo de injeção.
1.2.1.9.3.1. O monitoramento automático deve ser realizado ao menos uma vez a cada movimento da proteção móvel - porta.
1.2.1.9.4. A proteção móvel – porta, das injetoras elétricas deve possuir dispositivo de intertravamento com bloqueio que impeça sua abertura durante o movimento perigoso.
1.2.1.9.4.1. O dispositivo de intertravamento com bloqueio deve:
a) atender às disposições dos itens 12.38 a 12.55 e subitens desta Norma;
b) suportar um esforço de até 1000N (mil Newtons);
c) manter a proteção móvel travada na posição fechada até que o estado de parada do movimento de perigo seja alcançado, devendo a detecção de estado de parada ser segura contra falhas individuais.
1.2.1.9.5. As injetoras elétricas devem atender a uma parada de emergência controlada, com fornecimento de energia ao circuito de potência necessária para atingir a parada e, então, quando a parada for atingida, a energia ser removida.
1.2.1.9.5.1. A atuação da parada de emergência deve interromper todos os movimentos e descarregar os acumuladores hidráulicos.
1.2.2. Área do mecanismo de fechamento.

16 ANEXO IX - Injetoras de materiais plásticos Parte 3

1.2.2.1. O acesso à zona de perigo do mecanismo de fechamento deve ser impedido por meio de proteção fixa ou proteção móvel intertravada - portas.
1.2.2.2. A proteção móvel intertravada – porta, frontal e traseira deve possuir uma chave de segurança monitorada por interface de segurança, que atue no circuito de potência e desligue o motor principal.
1.2.2.3. As injetoras elétricas em que o desligamento do respectivo motor possa manter retida energia potencial que traga risco de movimentos inesperados na área de mecanismo de fechamento - extração em moldes com molas, por exemplo, deve possuir dispositivos adicionais que impeçam estes movimentos, tais como freios magnéticos.
1.2.3. Proteção do cilindro de plastificação e bico injetor.
1.2.3.1. O cilindro de plastificação deve possuir proteção fixa para impedir queimaduras resultantes do contato não intencional em partes quentes da unidade de injeção em que a temperatura de trabalho exceda 80º C (oitenta graus Celsius) e, em complemento, deve ser fixada uma etiqueta indicando alta temperatura.
1.2.3.2. O bico de injeção deve possuir proteção móvel intertravada com uma chave de segurança monitorada por interface de segurança, que interrompa todos os movimentos da unidade de injeção.
1.2.3.3. O projeto das proteções deve levar em consideração as posições extremas do bico e os riscos de espirramento de material plastificado.
1.2.3.4. As partes móveis do conjunto injetor devem receber proteções fixas, ou proteção móvel intertravada com uma chave de segurança monitorada por interface de segurança, que interrompa todos os movimentos da unidade de injeção.
1.2.4. Área da alimentação de material – Funil.
1.2.4.1. O acesso à rosca plastificadora deve ser impedido, atendendo-se às distâncias de segurança determinadas no item A, do Anexo I, desta Norma.
1.2.4.2. No caso de unidades de injeção horizontais, admite-se uma abertura inferior na proteção do bico.
1.2.4.3. As unidades de injeção posicionadas sobre a área do molde devem ser equipadas com um dispositivo de retenção para impedir movimentos descendentes pela ação da gravidade.
1.2.4.3.1. No caso de movimento vertical de acionamento hidráulico, uma válvula de retenção deve ser instalada de forma direta sobre o cilindro, ou tão próximo quanto o possível daquele, usando somente tubos flangeados.
1.2.4.4 Em situações específicas de manutenção, dentre elas o acesso à zona de perigo, devem ser adotadas as medidas adicionais previstas no subitem 12.113.1 desta Norma.
1.2.5. Área da descarga de peças.
1.2.5.1. Deve existir proteção na área de descarga de peças, de modo a impedir que segmentos corporais alcancem as zonas de perigo, conforme os itens 12.38 a 12.55 e subitens e item A, do Anexo I, desta Norma.
1.2.5.1.1. A existência de esteiras transportadoras na área de descarga não desobriga o atendimento do previsto no subitem 1.2.5.1.
1.2.6. Requisitos adicionais de segurança associados com máquinas de grande porte.
1.2.6.1. Definem-se máquinas de grande porte quando:
a) a distância horizontal ou vertical entre os tirantes do fechamento for maior que 1,2 m (um metro e vinte centímetros); ou,
b) se não existirem tirantes, a distância horizontal ou vertical equivalente, que limita o acesso à área do molde, for maior que 1,2 m; (um metro e vinte centímetros) ou
c) uma pessoa consiga permanecer entre a proteção da área do molde - porta - e a área de movimento perigoso.
1.2.6.2. Componentes de segurança adicionais, como travas mecânicas, devem ser instalados nas proteções de todos os lados da máquina em que o ciclo possa ser iniciado, para agir em cada movimento de abertura da proteção e impedir seu retorno à posição “fechada”.
1.2.6.2.1. Os componentes previstos no subitem 1.2.6.2 devem ser reativados separadamente antes que se possa iniciar outro ciclo.
1.2.6.2.2. O correto funcionamento dos componentes de segurança adicionais deve ser supervisionado por dispositivos de segurança monitorados por interface de segurança, ao menos uma vez para cada ciclo de movimento da proteção - porta, de tal forma que qualquer falha em tais componentes, seus dispositivos de segurança ou sua interligação seja automaticamente reconhecida, de forma a impedir o início de qualquer movimento de fechamento do molde.
1.2.6.3. As máquinas injetoras de grande porte devem possuir dispositivos de segurança adicionais para detectar a presença de uma pessoa entre a proteção móvel da área do molde - porta - e a própria área do molde, ou detectar uma pessoa dentro da área do molde, conforme o item 12.42, alínea “c”, desta Norma.
1.2.6.3.1. A posição da qual estes dispositivos são reativados deve permitir uma clara visualização da área do molde, com a utilização de meios auxiliares de visão, se necessário.
1.2.6.3.2. Quando estes dispositivos forem acionados, o circuito de controle do movimento de fechamento da placa deve ser interrompido e, no caso de proteções – porta - com acionamento automático, o circuito de controle do movimento de fechamento da proteção deve ser interrompido.

17 ANEXO IX - Injetoras de materiais plásticos Parte 4

1.2.6.3.3 Quando a zona monitorada pelos dispositivos detectores de presença for invadida, um comando automático deve:
a) interromper o circuito de comando do movimento de fechamento da placa e, no caso de utilização de proteções - portas de acionamento automático, interromper o circuito de comando do movimento de fechamento da proteção;
b) impedir a injeção na área do molde; e c) impedir o início do ciclo subsequente.
1.2.6.3.4. Pelo menos um botão de emergência deve ser instalado, em posição acessível, entre a proteção móvel da área do molde - porta e a área do molde, conforme itens 12.56 a 12.63 e subitens desta Norma.
1.2.6.3.5. Pelo menos um botão de emergência deve ser instalado em posição acessível na parte interna da área do molde, conforme itens 12.56 a 12.63 e subitens desta Norma.
1.2.7. Máquinas com movimento vertical da placa móvel.
1.2.7.1. Máquinas hidráulicas ou pneumáticas de fechamento vertical devem ser equipadas com dois dispositivos de retenção, que podem ser, por exemplo, válvulas hidráulicas que impeçam o movimento descendente acidental da placa.
1.2.7.1.1. As válvulas previstas no subitem 1.2.7.1 devem ser instaladas diretamente no cilindro, ou o mais próximo possível, utilizando-se somente tubos flangeados.
1.2.7.2. No local em que a placa tiver uma dimensão maior que 800 mm (oitocentos milímetros) e o curso de abertura possa exceder 500 mm (quinhentos milímetros), ao menos um dos dispositivos de retenção deve ser mecânico.
1.2.7.2.1. Quando a proteção da área do molde for aberta ou quando outro dispositivo de segurança da área do molde atuar, esse dispositivo de retenção mecânico deve agir automaticamente em todo o curso da placa.
1.2.7.2.1.1. Quando não for possível a abertura da proteção móvel da área do molde antes que se atinja a posição máxima de abertura, permite-se que o dispositivo de retenção mecânico atue apenas no final do curso de abertura.
1.2.7.2.1.2. Na eventualidade da falha de um dos dispositivos de retenção o outro deverá impedir o movimento descendente da placa.
1.2.7.3. Os dispositivos de retenção devem ser automaticamente monitorados de modo que na falha de um deles:
a) a falha seja automaticamente reconhecida; e
b) seja impedido o início de qualquer movimento descendente da placa.
1.2.8. Máquinas carrossel.
1.2.8.1. O acesso aos movimentos de perigo do carrossel deve ser impedido por proteções fixas ou proteções móveis intertravadas conforme os itens 12.38 a 12.55 e subitens desta Norma.
1.2.8.2. O acesso à zona do molde deve ser impedido conforme o subitem 1.2.1.1 deste Anexo.
1.2.9. Máquina com mesa porta-molde de deslocamento transversal.
1.2.9.1. O acesso aos movimentos de perigo da mesa deve ser impedido pela adoção de sistemas de segurança previstos nos itens 12.38 a 12.55 e subitens desta Norma e complementarmente pela adoção de dispositivos de acionamento do tipo comando bimanual, conforme os itens 12.26, 12.27, 12.28 e 12.29 desta Norma.
1.2.9.2. Quando o movimento vertical da mesa for possível, deve ser impedido o movimento descendente acidental pela ação da gravidade.
1.2.10. Máquina multiestações com unidade de injeção móvel.
1.2.10.1. O acesso às zonas perigosas da unidade de injeção, quando esta se move entre as unidades de fechamento, deve ser impedido por proteções fixas ou proteções móveis intertravadas, conforme os itens 12.38 a 12.55 e subitens desta Norma.
1.2.10.2. O acesso à zona do molde deve ser impedido conforme o subitem 1.2.1.1 deste Anexo.
1.2.11. Equipamentos periféricos.
1.2.11.1 A instalação de equipamentos periféricos não deve reduzir o nível de segurança, observando-se que:
a) a instalação de equipamento periférico que implique a modificação das proteções da máquina não deve permitir acesso às zonas de perigo;
b) se a abertura de uma proteção do equipamento periférico permitir acesso a uma zona de perigo da máquina, essa proteção deve atuar da mesma maneira que a especificada para aquela zona da máquina ou, no caso de possibilidade de acesso de todo o corpo, deve ser aplicado o disposto no subitem 1.2.6 deste Anexo;
c) se o equipamento periférico impede o acesso à zona de perigo da máquina e pode ser removido sem o auxílio de ferramentas, deve ser intertravado com o circuito de comando da máquina da mesma forma que a proteção especificada para aquela área; e

18 ANEXO IX - Injetoras de materiais plásticos Parte 5

d) se a abertura de uma proteção móvel da máquina permitir acesso a uma zona de perigo de um equipamento periférico, essa proteção deve cumprir os requisitos de segurança aplicáveis ao equipamento.
Figura 1 – Desenho esquemático de injetora horizontal apresentando as principais zonas de perigo desprovidas das proteções fixas ou móveis.

19 ANEXO X - Máquinas para fabricação de calçados e afins

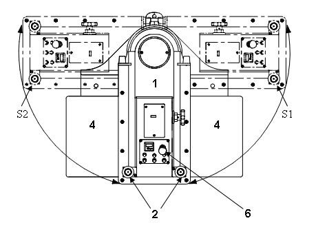
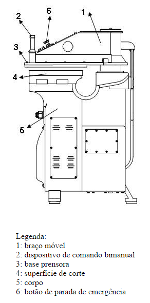
1. As máquinas denominadas balancim de braço móvel manual, ou balancim jacaré, devem possuir, além dos requisitos desta Norma, os seguintes requisitos específicos de segurança:
a) acionamento por comando bimanual de acordo com os itens 12.26 e 12.28 desta Norma, instalado junto ao braço móvel, conforme Figura 1 deste Anexo;
b) botão de emergência conforme itens 12.56 a 12.63 e subitens desta Norma, instalado no braço móvel;
c) força para movimentar o braço móvel menor ou igual a 50N (cinquenta Newtons); e
d) altura do piso à superfície de corte igual a 1000 +/- 30mm (mil milímetros, com tolerância de mais ou menos trinta milímetros).
Figura 1 – Balancim de braço móvel manual ou balancim jacaré - Vista lateral
Figura 2 - Balancim de braço móvel manual ou balancim jacaré. Vista de topo - Posição de giro do braço 180° (cento e oitenta graus)
2. As máquinas denominadas balancim tipo ponte manual devem possuir, além dos requisitos desta Norma, os seguintes requisitos específicos de segurança:
a) proteção fixa ou móvel intertravada na parte superior do equipamento - proteção do guia do carro e proteção frontal,de forma a impedir o acesso entre o carro móvel e a estrutura da máquina, conforme os itens 12.38 a 12.55 e subitens desta Norma e Figura 2 deste Anexo;
b) proteção fixa ou móvel intertravada na parte traseira do equipamento que impeça o acesso a zona de risco conforme os itens 12.38 a 12.55 e subitens desta Norma e Figura 2 deste Anexo;
c) acionamento por dois comandos bimanuais de acordo com os itens 12.26 e 12.28 desta Norma, instalados junto ao carro móvel, sendo um para realizar o deslocamento horizontal do carro móvel, e outro para realizar o movimento vertical de corte, conforme detalhe A, da Figura 2 deste Anexo; e d) botão de parada de emergência conforme itens 12.56 a 12.63 e subitens desta Norma, localizado no carro móvel.
2.1. Quando o balancim do tipo ponte dispuser de movimento automático do deslocamento horizontal do carro, deve-se adotar cortina de luz frontal monitorada por interface de segurança, conforme os itens 12.38 a 12.55 e subitens desta Norma.
Figura 3 – Balancim do tipo ponte manual. Vista lateral
Figura 4 - Balancim do tipo ponte manual - Vista frontal

20 ANEXO XI - Máquinas e implementos para uso agrícola e florestal

1. Este Anexo aplica-se às fases de projeto, fabricação, importação, comercialização, exposição e cessão a qualquer título de máquinas estacionárias ou não e implementos para uso agrícola e florestal, e ainda a máquinas e equipamentos de armazenagem e secagem e seus transportadores, tais como silos e secadores.

2. As proteções, dispositivos e sistemas de segurança previstos neste Anexo devem integrar as máquinas desde a sua fabricação, não podendo ser considerados itens opcionais para quaisquer fins.

3. Os dispositivos de partida, acionamento e parada das máquinas e dos equipamentos estacionários devem ser projetados, selecionados e instalados de modo que:

a) não se localizem em suas zonas perigosas;

b) impeçam acionamento ou desligamento involuntário pelo operador ou por qualquer outra forma acidental;

c) não acarretem riscos adicionais;

d) não possam ser burlados; e

e) possam ser acionados ou desligados em caso de emergência por outra pessoa que não seja o operador.

4. Os comandos de partida ou acionamento das máquinas estacionárias devem possuir dispositivos que impeçam seu funcionamento automático ao serem energizadas.

5. As máquinas cujo acionamento por pessoas não autorizadas possam oferecer risco à saúde ou integridade física de qualquer pessoa devem possuir sistema ou, no caso de máquinas autopropelidas, chave de ignição, para o bloqueio de seus dispositivos de acionamento.

6. As zonas de perigo das máquinas e implementos devem possuir sistemas de segurança, caracterizados por proteções fixas, móveis e dispositivos de segurança interligados ou não, que garantam a proteção à saúde e à integridade física dos trabalhadores.

6.1. A adoção de sistemas de segurança, em especial nas zonas de operação que apresentem perigo, deve considerar as características técnicas da máquina e do processo de trabalho e as medidas e alternativas técnicas existentes, de modo a atingir o nível necessário de segurança previsto nesta Norma.

6.1.1. Os componentes funcionais das áreas de processo e trabalho das máquinas autopropelidas e implementos, que necessitem ficar expostos para correta operação, devem ser protegidos adequadamente até a extensão máxima possível, de forma a permitir a funcionalidade operacional a que se destinam, atendendo às normas técnicas vigentes e às exceções constantes do Quadro II deste Anexo.

6.2. Para fins de aplicação deste Anexo, considera-se proteção o elemento especificamente utilizado para prover segurança por meio de barreira física, podendo ser:

a) proteção fixa, que deve ser mantida em sua posição de maneira permanente ou por meio de elementos de fixação que só permitam sua remoção ou abertura com o uso de ferramentas específicas; e

b) proteção móvel, que pode ser aberta sem o uso de ferramentas, geralmente ligada por elementos mecânicos à estrutura da máquina ou a um elemento fixo próximo, e deve se associar a dispositivos de intertravamento.

6.3 Para fins de aplicação deste Anexo, consideram-se dispositivos de segurança os componentes que, por si só ou interligados ou associados a proteções, reduzam os riscos de acidentes e de outros agravos à saúde, sendo classificados em:

a) comandos elétricos ou interfaces de segurança: dispositivos responsáveis por realizar o monitoramento, que verificam a interligação, posição e funcionamento de outros dispositivos do sistema e impedem a ocorrência de falha que provoque a perda da função de segurança, como relés de segurança, controladores configuráveis de segurança e controlador lógico programável - CLP de segurança;

b) dispositivos de intertravamento: chaves de segurança eletromecânicas, com ação e ruptura positiva, magnéticas e eletrônicas codificadas, optoeletrônicas, sensores indutivos de segurança e outros dispositivos de segurança que possuem a finalidade de impedir o funcionamento de elementos da máquina sob condições específicas;

c) sensores de segurança: dispositivos detectores de presença mecânicos e não mecânicos, que atuam quando uma pessoa ou parte do seu corpo adentra a zona de perigo de uma máquina ou equipamento, enviando um sinal para interromper ou impedir o início de funções perigosas, como cortinas de luz, detectores de presença optoeletrônicos, laser de múltiplos feixes, barreiras óticas, monitores de área, ou scanners, batentes, tapetes e sensores de posição;

d) válvulas e blocos de segurança ou sistemas pneumáticos e hidráulicos de mesma eficácia;

e) dispositivos mecânicos, como: dispositivos de retenção, limitadores, separadores, empurradores, inibidores, defletores e retráteis; e

f) dispositivos de validação: dispositivos suplementares de comando operados manualmente, que, quando aplicados de modo permanente, habilitam o dispositivo de acionamento, como chaves seletoras bloqueáveis e dispositivos bloqueáveis.

6.3.1 Os componentes relacionados aos sistemas de segurança e comandos de acionamento e parada das máquinas estacionárias, inclusive de emergência, devem garantir a manutenção do estado seguro da máquina quando ocorrerem flutuações no nível de energia além dos limites considerados no projeto, incluindo o corte e restabelecimento do fornecimento de energia.

6.4. As proteções devem ser projetadas e construídas de modo a atender aos seguintes requisitos de segurança:

a) cumprir suas funções apropriadamente durante a vida útil da máquina ou possibilitar a reposição de partes deterioradas ou danificadas;

b) ser constituídas de materiais resistentes e adequados à contenção de projeção de peças, materiais e partículas;

c) fixação firme e garantia de estabilidade e resistência mecânica compatíveis com os esforços requeridos;

d) não criar pontos de esmagamento ou agarramento com partes da máquina ou com outras proteções;

21 ANEXO XI - Máquinas e implementos para uso agrícola e florestal Parte 2

e) não possuir extremidades e arestas cortantes ou outras saliências perigosas;
f) resistir às condições ambientais do local onde estão instaladas;
g) impedir que possam ser burladas;
h) proporcionar condições de higiene e limpeza;
i) impedir o acesso à zona de perigo;
j) ter seus dispositivos de intertravamento utilizados para bloqueio de funções perigosas das máquinas protegidos adequadamente contra sujidade, poeiras e corrosão, se necessário;
k) ter ação positiva, ou seja, atuação de modo positivo;
l) não acarretar riscos adicionais; e
m) possuir dimensões conforme previsto no Item A do Anexo I desta Norma.
6.4.1. Quando a proteção for confeccionada com material descontínuo, devem ser observadas as distâncias de segurança para impedir o acesso às zonas de perigo, conforme previsto Item A do Anexo I desta Norma.
6.5. A proteção deve ser móvel quando o acesso a uma zona de perigo for requerido uma ou mais vezes por turno de trabalho, observando-se que:
a) a proteção deve ser associada a um dispositivo de intertravamento quando sua abertura não possibilitar o acesso à zona de perigo antes da eliminação do risco; e
b) a proteção deve ser associada a um dispositivo de intertravamento com bloqueio quando sua abertura possibilitar o acesso à zona de perigo antes da eliminação do risco.
6.5.1. Para as máquinas autopropelidas e seus implementos, a proteção deve ser móvel quando o acesso a uma zona de perigo for requerido mais de uma vez por turno de trabalho.
6.5.2. As máquinas e implementos dotados de proteções móveis associadas a dispositivos de intertravamento devem:
a) operar somente quando as proteções estiverem fechadas;
b) paralisar suas funções perigosas quando as proteções forem abertas durante a operação; e
c) garantir que o fechamento das proteções por si só não possa dar inicio às funções perigosas
6.5.2.1. As máquinas autopropelidas ficam dispensadas do atendimento das alíneas “a” e “b” do subitem 6.5.2 deste Anexo para acesso em operações de manutenção e inspeção, desde que realizadas por trabalhador capacitado ou qualificado.
6.5.3 Para as máquinas autopropelidas, é permitida a utilização de dispositivo de intertravamento mecânico de atuação simples e não monitorado para proteção do compartimento do motor.
6.5.4. Os dispositivos de intertravamento com bloqueio associados às proteções móveis das máquinas e equipamentos devem:
a) permitir a operação somente enquanto a proteção estiver fechada e bloqueada;
b) manter a proteção fechada e bloqueada até que tenha sido eliminado o risco de lesão devido às funções perigosas da máquina ou do equipamento; e
c) garantir que o fechamento e bloqueio da proteção por si só não possa dar inicio às funções perigosas da máquina ou do equipamento.
6.5.4.1. As máquinas autopropelidas ficam dispensadas do atendimento das alíneas “a” e “b” do subitem 6.5.3 para acesso em operações de manutenção e inspeção, desde que realizadas por trabalhador capacitado ou qualificado.
6.6. As transmissões de força e os componentes móveis a elas interligados, acessíveis ou expostos, devem ser protegidos por meio de proteções fixas ou móveis com dispositivos de intertravamento, que impeçam o acesso por todos os lados, ressalvado o disposto no subitem 6.1.1 deste Anexo e as exceções previstas no Quadro II deste Anexo.
6.6.1. Quando utilizadas proteções móveis para o enclausuramento de transmissões de força que possuam inércia, devem ser utilizados dispositivos de intertravamento com bloqueio.
6.7. O eixo cardã deve possuir proteção adequada, em perfeito estado de conservação em toda a sua extensão, fixada na tomada de força da máquina desde a cruzeta até o acoplamento do implemento ou equipamento.
6.8. As máquinas e equipamentos que ofereçam risco de ruptura de suas partes, projeção de peças ou material em processamento devem possuir proteções que garantam a saúde e a segurança dos trabalhadores, salvo as exceções constantes dos Quadros I e II deste Anexo.

22 ANEXO XI - Máquinas e implementos para uso agrícola e florestal Parte 3

6.8.1. As roçadoras devem possuir dispositivos de proteção contra o arremesso de materiais sólidos.
6.9. As máquinas de cortar, picar, triturar, moer, desfibrar e similares devem possuir sistemas de segurança que impossibilitem o contato do operador ou demais pessoas com suas zonas de perigo.
6.10 Nas proteções distantes de máquinas estacionárias, em que haja possibilidade de alguma pessoa ficar na zona de perigo, devem ser adotadas medidas adicionais de proteção coletiva para impedir a partida da máquina, enquanto houver a presença de pessoas nesta zona.
6.11. As aberturas para alimentação de máquinas ou implementos que estiverem situadas ao nível do ponto de apoio do operador ou abaixo dele, devem possuir proteção que impeça a queda de pessoas em seu interior.
6.12. Quando as características da máquina ou implemento exigirem que as proteções sejam utilizadas também como meio de acesso, estas devem atender aos requisitos de resistência e segurança adequados a ambas as finalidades.
6.12.1. O fundo dos degraus ou da escada deve possuir proteção – espelho, sempre que uma parte saliente do pé ou da mão do trabalhador possa contatar uma zona perigosa.
7. As baterias devem atender aos seguintes requisitos mínimos de segurança:
a) localização de modo que sua manutenção e troca possam ser realizadas facilmente a partir do solo ou de uma plataforma de apoio;
b) constituição e fixação de forma a não haver deslocamento acidental; e
c) proteção do terminal positivo, a fim de prevenir contato acidental e curto-circuito.
8. As máquinas autopropelidas fabricadas a partir de maio de 2008, sob a égide da redação da NR 31 dada pela Portaria nº 86, de 3 de março de 2005, devem possuir faróis, lanternas traseiras de posição, buzina, espelho retrovisor e sinal sonoro automático de ré acoplado ao sistema de transmissão, salvo as exceções listadas no Quadro I deste Anexo.
9. As máquinas autopropelidas devem possuir Estrutura de Proteção na Capotagem - EPC e cinto de segurança, exceto as constantes do Quadro II deste anexo, que devem ser utilizadas em conformidade com as especificações e recomendações indicadas nos manuais do fabricante.
10. As máquinas autopropelidas que durante sua operação ofereçam riscos de queda de objetos sobre o posto de trabalho devem possuir de Estrutura de Proteção contra Queda de Objetos - EPCO.
11. Na tomada de potência – TDP dos tratores agrícolas deve ser instalada uma proteção que cubra a parte superior e as laterais, conforme Figura 1 deste Anexo.
12. As máquinas e equipamentos tracionados devem possuir sistemas de engate para reboque pelo sistema de tração, de modo a assegurar o acoplamento e desacoplamento fácil e seguro, bem como a impedir o desacoplamento acidental durante a utilização.
12.1. A indicação de uso dos sistemas de engate mencionados no item 12 deve ficar em local de fácil visualização e afixada em local próximo da conexão.
12.2. Os implementos tracionados, caso o peso da barra do reboque assim exija, devem possuir dispositivo de apoio que possibilite a redução do esforço e a conexão segura ao sistema de tração.
13. As correias transportadoras devem possuir:
a) sistema de frenagem ao longo dos trechos em que haja acesso de trabalhadores;
b) dispositivo que interrompa seu acionamento quando necessário;
c) partida precedida de sinal sonoro audível em toda a área de operação que indique seu acionamento;
d) sistema de proteção contra quedas de materiais, quando oferecer risco de acidentes aos trabalhadores que operem ou circulem em seu entorno;
e) sistemas e passarelas que permitam que os trabalhos de manutenção sejam desenvolvidos de forma segura;
f) passarelas com sistema de proteção contra queda ao longo de toda a extensão elevada onde possa haver circulação de trabalhadores; e
g) sistema de travamento para ser utilizado nos serviços de manutenção.
13.1. Excetuam-se da obrigação do item 13 as correias transportadoras instaladas em máquinas autopropelidas, implementos e em esteiras móveis para carga e descarga.
14. As máquinas e implementos devem possuir manual de instruções fornecido pelo fabricante ou importador, com informações relativas à segurança nas fases de transporte, montagem, instalação, ajuste, operação, limpeza, manutenção, inspeção, desativação e desmonte.
14.1. Os manuais devem:
a) ser escritos na língua portuguesa - Brasil, com caracteres de tipo e tamanho que possibilitem a melhor legibilidade possível, acompanhado das ilustrações explicativas;

23 ANEXO XI - Máquinas e implementos para uso agrícola e florestal Parte 4

b) ser objetivos, claros, sem ambiguidades e em linguagem de fácil compreensão;
c) ter sinais ou avisos referentes à segurança realçados; e
d) permanecer disponíveis a todos os usuários nos locais de trabalho.
14.2. Os manuais das máquinas e equipamentos fabricados no Brasil ou importados devem conter, no mínimo, as seguintes informações:
a) razão social, endereço do fabricante ou importador, e CNPJ quando houver;
b) tipo e modelo;
c) número de série ou de identificação, e ano de fabricação;
d) descrição detalhada da máquina ou equipamento e seus acessórios;
e) e)diagramas, inclusive circuitos elétricos, em particular a representação esquemática das funções de segurança, no que couber, para máquinas estacionárias.
f) definição da utilização prevista para a máquina ou equipamento;
g) riscos a que estão expostos os usuários;
h) definição das medidas de segurança existentes e aquelas a serem adotadas pelos usuários;
i) especificações e limitações técnicas para a sua utilização com segurança, incluindo o critérios de declividade de trabalho para máquinas e implementos, no que couber;
j) riscos que poderiam resultar de adulteração ou supressão de proteções e dispositivos de segurança;
k) riscos que poderiam resultar de utilizações diferentes daquelas previstas no projeto;
l) procedimentos para utilização da máquina ou equipamento com segurança;
m) procedimentos e periodicidade para inspeções e manutenção;
n) procedimentos básicos a serem adotados em situações de emergência.
15. As máquinas, equipamentos e implementos devem dispor de acessos permanentemente fixados e seguros a todos os seus pontos de operação, abastecimento, inserção de matérias-primas e retirada de produtos trabalhados, preparação, manutenção e de intervenção constante.
15.1. Consideram-se meios de acesso elevadores, rampas, passarelas, plataformas ou escadas de degraus.
15.1.1. Na impossibilidade técnica de adoção dos meios previstos no subitem 15.1, poderá ser utilizada escada fixa tipo marinheiro.
15.1.2. As máquinas autopropelidas e implementos com impossibilidade técnica de adoção dos meios de acesso dispostos no subitem 15.1, onde a presença do trabalhador seja necessária para inspeção e manutenção e que não sejam acessíveis desde o solo devem possuir meios de apoio como manípulos ou corrimãos, barras, apoio para os pés ou degraus com superfície antiderrapante, que garantam ao operador manter contato de apoio em três pontos durante todo o tempo de acesso, de modo a torná-lo seguro, conforme o item 15.21 deste Anexo.
15.1.2.1. Deve-se utilizar uma forma de acesso seguro indicada no manual de operação, nas situações em que não sejam aplicáveis os meios previstos no subitem 15.1.2.
15.2. Os locais ou postos de trabalho acima do nível do solo em que haja acesso de trabalhadores para intervenções devem possuir plataformas de trabalho estáveis e seguras.
15.3. Devem ser fornecidos meios de acesso se a altura do solo ou do piso ao posto de operação das máquinas for maior que 0,55 m (cinquenta e cinco centímetros).
15.4. Em máquinas autopropelidas da indústria de construção com aplicação agroflorestal, os meios de acesso devem ser fornecidos se a altura do solo ao posto de operação for maior que 0,60 m (sessenta centímetros).
15.5. Em colhedoras de arroz, colhedoras equipadas com esteiras e outras colhedoras equipadas com sistema de autonivelamento, os meios de acesso devem ser fornecidos se a altura do solo ao posto de operação for maior que 0,70 m (setenta centímetros).
15.6. Nas máquinas, equipamentos e implementos os meios de acesso permanentes devem ser localizados e instalados de modo a prevenir riscos de acidente e facilitar sua utilização pelos trabalhadores.

24 ANEXO XI - Máquinas e implementos para uso agrícola e florestal Parte 5

15.7. Os meios de acesso de máquinas estacionárias, exceto escada fixa do tipo marinheiro e elevador, devem possuir sistema de proteção contra quedas com as seguintes características:

a) ser dimensionados, construídos e fixados de modo seguro e resistente, de forma a suportar os esforços solicitantes;

b) ser constituídos de material resistente a intempéries e corrosão;

c) possuir travessão superior de 1,10 m (um metro e dez centímetros) a 1,20 m (um metro e vinte centímetros) de altura em relação ao piso ao longo de toda a extensão, em ambos os lados;

d) o travessão superior não deve possuir superfície plana, a fim de evitar a colocação de objetos; e

e) possuir rodapé de, no mínimo, 0,20 m (vinte centímetros) de altura e travessão intermediário a 0,70 m (setenta centímetros) de altura em relação ao piso, localizado entre o rodapé e o travessão superior.

15.7.1. Havendo risco de queda de objetos e materiais, o vão entre o rodapé e o travessão superior do guarda corpo deve receber proteção fixa, integral e resistente

15.7.1.1. A proteção mencionada no subitem 15.7.1 pode ser constituída de tela resistente, desde que sua malha não permita a passagem de qualquer objeto ou material que possa causar lesões aos trabalhadores.

15.7.2. Para o sistema de proteção contra quedas em plataformas utilizadas em operações de abastecimento ou que acumulam sujidades, é permitida a adoção das dimensões da Figura 5 do Anexo III desta Norma.

15.8. O emprego dos meios de acesso de máquinas estacionárias deve considerar o ângulo de lance conforme Figura 1 do Anexo III desta Norma.

15.9. As passarelas, plataformas, rampas e escadas de degraus devem propiciar condições seguras de trabalho, circulação, movimentação e manuseio de materiais e:

a) ser dimensionadas, construídas e fixadas de modo seguro e resistente, de forma a suportar os esforços solicitantes e movimentação segura do trabalhador;

b) ter pisos e degraus constituídos de materiais ou revestimentos antiderrapantes;

c) ser mantidas desobstruídas; e

d) ser localizadas e instaladas de modo a prevenir riscos de queda, escorregamento, tropeçamento e dispêndio excessivo de esforços físicos pelos trabalhadores ao utilizá-las.
15.10. As rampas com inclinação entre 10º (dez) e 20º (vinte) graus em relação ao plano horizontal devem possuir peças transversais horizontais fixadas de modo seguro, para impedir escorregamento, distanciadas entre si 0,40 m (quarenta centímetros) em toda sua extensão.
15.11. É proibida a construção de rampas com inclinação superior a 20º (vinte) graus em relação ao piso.
15.12. As passarelas, plataformas e rampas devem ter as seguintes características:
a) largura útil mínima de 0,60 m (sessenta centímetros) para máquinas, exceto para as autopropelidas e implementos que devem atender a largura mínima determinada conforme norma técnica especifica;
b) meios de drenagem, se necessário; e c) não possuir rodapé no vão de acesso.
15.13. Em máquinas estacionárias as escadas de degraus com espelho devem ter:
a) largura mínima de 0,60 m (sessenta centímetros);
b) degraus com profundidade mínima de 0,20 m (vinte centímetros);
c) degraus e lances uniformes, nivelados e sem saliências;
d) altura entre os degraus de 0,20 m (vinte centímetros) a 0,25 m (vinte e cinco centímetros);
e) plataforma de descanso de 0,60m (sessenta centímetros) a 0,80m (oitenta centímetros) de largura e comprimento a intervalos de, no máximo, 3,00 m (três metros) de altura.
15.14. Em máquinas estacionárias as escadas de degraus sem espelho devem ter:
a) largura mínima de 0,60 m (sessenta centímetros);
b) degraus com profundidade mínima de 0,15 m (quinze centímetros);

25 ANEXO XI - Máquinas e implementos para uso agrícola e florestal Parte 6

c) degraus e lances uniformes, nivelados e sem saliências;
d) altura máxima entre os degraus de 0,25 m (vinte e cinco centímetros);
e) plataforma de descanso com 0,60m (sessenta centímetros) a 0,80 m (oitenta centímetros) de largura e comprimento a intervalos de, no máximo, 3,00 m (três metros) de altura;
f) projeção mínima de 0,01 m (dez milímetros) de um degrau sobre o outro; e
g) degraus com profundidade que atendam à fórmula: 600≤ g +2h ≤ 660 (dimensões em milímetros), conforme Figura 2 deste Anexo.
15.15. Em máquinas estacionárias as escadas fixas do tipo marinheiro devem ter:
a) dimensão, construção e fixação seguras e resistentes, de forma a suportar os esforços solicitantes;
b) constituição de materiais ou revestimentos resistentes a intempéries e corrosão, caso estejam expostas em ambiente externo ou corrosivo;
c) gaiolas de proteção, caso possuam altura superior a 3,50 m (três metros e meio), instaladas a partir de 2,0 m (dois metros) do piso, ultrapassando a plataforma de descanso ou o piso superior em pelo menos de 1,10 m (um metro e dez centímetros) a 1,20 m (um metro e vinte centímetros);
d) corrimão ou continuação dos montantes da escada ultrapassando a plataforma de descanso ou o piso superior de 1,10 m (um metro e dez centímetros) a 1,20 m (um metro e vinte centímetros);
e) largura de 0,40 m (quarenta centímetros) a 0,60 m (sessenta centímetros), conforme Figura 3 do Anexo III desta Norma;
f) altura total máxima de 10,00 m (dez metros), se for de um único lance;
g) altura máxima de 6,00 m (seis metros) entre duas plataformas de descanso, se for de múltiplos lances, construídas em lances consecutivos com eixos paralelos, distanciados no mínimo em 0,70 m (setenta centímetros), conforme Figura 3 do anexo III desta Norma;
h) espaçamento entre barras de 0,25 m (vinte e cinco centímetros) a 0,30 m (trinta centímetros), conforme Figura 3 do Anexo III desta Norma;
i) espaçamento entre o piso da máquina ou da edificação e a primeira barra não superior a 0,55 m (cinquenta e cinco centímetros), conforme Figura 3 do Anexo III desta Norma;
j) distância em relação à estrutura em que é fixada de, no mínimo, 0,15 m (quinze centímetros), conforme Figura 4 do Anexo III desta Norma;
k) barras de 0,025m (vinte e cinco milímetros) a 0,038 m (trinta e oito milímetros) de diâmetro ou espessura; e l) barras com superfícies, formas ou ranhuras a fim de prevenir deslizamentos.
15.15.1. As gaiolas de proteção devem possuir:
a) diâmetro de 0,65m (sessenta e cinco centímetros) a 0,80 m (oitenta centímetros), conforme Figura 4 do Anexo III desta Norma; e
b) vãos entre grades protetoras de, no máximo, 0,30 m (trinta centímetros), conforme Figura 3 do Anexo III desta Norma.
15.16. Os meios de acesso das máquinas autopropelidas e implementos, devem possuir as seguintes características:
a) ser dimensionados, construídos e fixados de modo seguro e resistente, de forma a suportar os esforços solicitantes;
b) ser constituídos de material resistente a intempéries e corrosão;
c) o travessão superior não deve ter superfície plana, a fim de evitar a colocação de objetos.
15.17. A direção não pode ser considerada manípulo de apoio.
15.18. Os pneus, cubos, rodas e para-lamas não são considerados degraus para acesso aos postos de trabalho.
15.19. Os para-lamas podem ser considerados degraus para acesso desde que projetados para esse fim.
15.20. Em máquinas de esteira, as sapatas e a superfície de apoio das esteiras podem ser utilizadas como degraus de acesso desde que projetados para esse fim e se for garantido ao operador apoio em três pontos de contato durante todo tempo de acesso.

26 ANEXO XI - Máquinas e implementos para uso agrícola e florestal Parte 7

15.21. As máquinas autopropelidas e implementos devem ser dotados de corrimãos ou manípulos - pega-mãos, em um ou ambos os lados dos meios de acesso que ofereçam risco de queda ou acesso às áreas de perigo, que devem possuir:
a) projeto de forma que o operador possa manter contato de apoio em três pontos durante todo o tempo de acesso;
b) largura da seção transversal entre 0,025m (vinte e cinco milímetros) e 0,038 m (trinta e oito milímetros);
c) extremidade inferior em pelo menos um corrimão ou manípulo localizada no máximo a 1600 mm (mil e seiscentos milímetros) da superfície do solo;
d) espaço livre mínimo de 0,050m (cinquenta milímetros) entre o corrimão ou manípulo e as partes adjacentes para acesso da mão, exceto nos pontos de fixação;
e) um manípulo instalado do último degrau superior do meio de acesso a uma altura de 0,85 m (oitenta e cinco centímetros a 1,10 m (um metro e dez centímetros); e
f) manípulo com comprimento mínimo de 0,15 m (quinze centímetros).
15.21.1. Os pontos de apoio para mãos devem ficar a pelo menos 0,30 m (trinta centímetros) de qualquer elemento de articulação.
15.22. As escadas usadas no acesso ao posto de operação das máquinas autopropelidas e implementos devem atender a um dos seguintes requisitos:
a) a inclinação α deve ser entre 70º (setenta graus) e 90° (noventa graus) em relação à horizontal conforme Figura 2 desta Norma; ou
b) no caso de inclinação α menor que 70° (setenta graus), as dimensões dos degraus devem atender à equação (2B + G) ≤ 700 mm, onde B é a distância vertical, em mm, e G a distância horizontal, em mm, entre degraus, permanecendo as dimensões restantes conforme Figura 2 do Anexo III desta Norma.
15.22.1. Os degraus devem possuir:
a) superfície antiderrapante;
b) batentes verticais em ambos os lados;
c) projeção de modo a minimizar o acúmulo de água e de sujidades, nas condições normais de trabalho;
d) altura do primeiro degrau alcançada com os maiores pneus indicados para a máquina;
e) espaço livre adequado na região posterior, quando utilizado sem espelho, de forma a proporcionar um apoio seguro para os pés;
f) dimensões conforme a Figura 2 do Anexo III desta Norma;
g) altura do primeiro deles em relação ao solo de até 700mm (setecentos milímetros) para colhedoras de arroz ou colhedoras equipadas com esteiras e outras colhedoras equipadas com sistema de autonivelamento; e
h) altura do primeiro deles em relação ao solo de até 600mm (seiscentos milímetros) para máquinas autopropelidas da indústria da construção com aplicação agroflorestal.
15.22.2. A conexão entre o primeiro degrau e o segundo degrau pode ser articulada.
15.22.3. Não deve haver riscos de corte, esmagamento ou movimento incontrolável para o operador na movimentação de meios de acesso móveis.
15.23. As plataformas de máquinas autopropelidas e implementos que apresentem risco de queda de trabalhadores devem ser acessados por degraus e possuir sistema de proteção contra quedas conforme as dimensões da Figura 5 do Anexo III desta Norma.
15.24. A plataforma de operação ou piso de trabalho das máquinas autopropelidas e implementos deve:
a) ser plana, nivelada e fixada de modo seguro e resistente;
b) possuir superfície antiderrapante;
c) possuir meios de drenagem, se necessário;
d) ser contínua, exceto para tratores denominados “acavalados”, em que poderá ser de dois níveis; e
e) não possuir rodapé no vão de entrada da plataforma.

27 ANEXO XI - Máquinas e implementos para uso agrícola e florestal Parte 8

15.24.1. Os meios de acesso móveis ou retráteis das plataformas e cabines, para fins de transporte, devem possuir sistema para limitação do vão de acesso.
15.25. O bocal de abastecimento do tanque de combustível e de outros materiais deve ser localizado, no máximo, a 1,5 m (um metro e cinquenta centímetros) acima do ponto de apoio do operador.
15.25.1. Caso não seja possível atender ao disposto no subitem 15.25 para as operações de abastecimento de combustível e de outros materiais, nas máquinas autopropelidas deve ser instalado degrau de acesso com manípulos que garantam três pontos de contato durante toda a tarefa.
15.25.2. Caso não seja possível atender ao disposto no subitem 15.25 para as operações de abastecimento de combustível das máquinas autopropelidas que possuam o tanque localizado na parte traseira ou lateral, poderá ser utilizada plataforma ou escada externa que servirá de apoio para execução segura da tarefa.
Figura 1 – Cobertura de proteção da TDP para tratores agrícolas
Quadro I – Máquinas excluídas.
Quadro II – Exclusões a proteção em partes moveis (subitens 6.1.1 e 6.6)

28 ANEXO XII - Equipamentos de guindar para elevação de pessoas e realização de trabalho em altura

CESTA AÉREA: Equipamento veicular destinado à elevação de pessoas para execução de trabalho em altura, dotado de braço móvel, articulado, telescópico ou misto, com caçamba ou plataforma, com ou sem isolamento elétrico, podendo, desde que projetado para este fim, também elevar material por meio de guincho e de lança complementar (JIB), respeitadas as especificações do fabricante.

CESTO ACOPLADO: Caçamba ou plataforma acoplada a um guindaste veicular para elevação de pessoas e execução de trabalho em altura, com ou sem isolamento elétrico, podendo também elevar material de apoio indispensável para realização do serviço.

CESTO SUSPENSO: Conjunto formado pelo sistema de suspensão e a Caçamba ou plataforma suspensa por equipamento de guindar que atenda aos requisitos de segurança deste anexo, para utilização em trabalhos em altura.

1. Para fins deste anexo consideram-se as seguintes definições:

Altura nominal de trabalho (para cestas aéreas e cestos acoplados):

Distância medida na elevação máxima desde o fundo da caçamba até o solo, acrescida de 1,5 m.

Berço: suporte de apoio da lança do guindaste na sua posição recolhida.

Caçamba ou plataforma (vide figura 1): Componente destinado à acomodação e movimentação de pessoas à posição de trabalho.

Carga nominal (carga bruta): capacidade estabelecida pelo fabricante ou por profissional legalmente habilitado para determinada configuração do equipamento de guindar e caçamba ou plataforma.

Capacidade nominal da caçamba ou plataforma: a capacidade máxima da caçamba, estabelecida pelo fabricante, em termos de peso e número de ocupantes previsto.

Chassi (vide figura 1): É a estrutura de todo o conjunto onde se monta o mecanismo de giro, coluna, braços e lanças, bem como o sistema de estabilizadores.

Classificação de capacidade de carga (tabela de carga): conjunto de cargas nominais para as configurações estipuladas de equipamentos de guindar e condições operacionais.

Comando: Sistema responsável pela execução de uma função.

Controle: Atuador de interface entre o operador e o comando.

Cuba isolante ou Liner: Componente projetado para ser acomodado dentro da caçamba, plataforma ou suporte similar, capaz de modificar as propriedades elétricas da caçamba/plataforma. Pode ser de duas naturezas:

Liner/Cuba Isolante: Acessório da caçamba destinado a garantir a sua isolação elétrica em Cestas Aéreas Isoladas, aplicáveis de acordo com a classe de isolação e método de trabalho.

Liner/Cuba condutiva: Acessório da caçamba destinado à equalização de potencial entre a rede, as partes metálicas e o eletricista, para trabalhos realizados pelo método ao potencial.

Ensaios Não Destrutivos. Exame das Cestas Aéreas ou de seus componentes sem alteração das suas características originais.

Incluem, mas não se limitam a: Inspeção Visual, ensaios de Emissão Acústica, Partícula Magnética/Líquido Penetrante, Ultrassom e Dielétrico.

Dispositivo de tração na subida e descida do moitão: Sistema ou dispositivo que controle o içamento ou descida motorizada da caçamba ou plataforma impedindo a queda livre.

Eslinga, linga ou lingada: Dispositivo composto de cabos e acessórios destinados a promover a interligação entre o equipamento de guindar e a caçamba ou plataforma.

Estabilizadores (vide figura 1): Dispositivos e sistemas utilizados para estabilizar a cesta aérea, cesto acoplado ou equipamento de guindar.

Estabilizar/estabilidade: condição segura de trabalho prevista pelo fabricante para evitar o tombamento.

Freio: dispositivo utilizado para retardar ou parar o movimento.

Freio automático: dispositivo que retarda ou para o movimento, sem atuação do operador, quando os parâmetros operacionais específicos do equipamentos são atingidos.

Giro (vide figura 1): Movimento rotativo da coluna ou torre, da lança ou braço móvel em torno do eixo vertical.

Grau de isolamento: Cestas áreas isoladas são classificadas de acordo com sua classe de isolamento elétrico, definidas em 3 categorias conforme NBR 14631.

Guindaste Veicular: Equipamento hidráulico veicular dotado de braço móvel articulado, telescópico ou misto destinado a elevar cargas.

JIB: Lança auxiliar acoplada à extremidade da lança principal com objetivo de içar ou sustentar cargas adicionais.

29 ANEXO XII - Equipamentos de guindar para elevação de pessoas e realização de trabalho em altura Parte 2

Lança ou braço móvel (vide figura 1): Componente articulado, extensível ou misto, que sustenta e movimenta a caçamba ou plataforma.
Manilha: Acessório para movimentação ou fixação de carga, formado por duas partes facilmente desmontáveis, consistindo em corpo e pino.
Plano de movimentação de carga (Plano de Rigging): Consiste no planejamento formalizado de uma movimentação com guindaste móvel ou fixo, visando a otimização dos recursos aplicados na operação (equipamentos, acessórios e outros) para se evitar acidentes e perdas de tempo. Ele indica, por meio do estudo da carga a ser içada, das máquinas disponíveis, dos acessórios, condições do solo e ação do vento, quais as melhores soluções para fazer um içamento seguro e eficiente.
Ponto(s) de fixação: lugar na caçamba ou plataforma para conexão ao sistema de suspensão.
Posição de acesso: Posição que permite o acesso à plataforma ou caçamba. Posição de acesso e posição de transporte podem ser idênticas.
Posição de transporte: A posição de transporte da plataforma ou caçamba é a posição recomendada pelo fabricante na qual a cesta aérea ou o cesto acoplado é transportado/deslocado ao local de utilização em vias públicas ou no interior dos canteiros de obras.
Posição de transporte para cesto acoplado: É considerada posição de transporte aquela definida pelo fabricante, quando as lanças do guindaste estiverem posicionadas no berço ou sobre a carroceria do caminhão, desde que não ultrapassada as dimensões de transporte (largura e altura) em conformidade com a legislação vigente Profissional de movimentação de carga (Rigger), responsável pelo planejamento e elaboração do plano de movimentação de cargas, capacitado conforme previsto no item 12.138 desta NR.
Sapatilha: Elemento utilizado na proteção para olhal de cabo de aço.
Sistema de suspensão: cabo ou eslingas e outros componentes, incluindo dispositivos de fixação, utilizado para ligar o equipamento de guindar à caçamba ou plataforma.
Sistema de suspensão dedicado: É aquele que só pode ser utilizado para a operação em conjunto com a caçamba. Quando atendidos os requisitos de segurança previstos neste anexo, pode ser dotado de cesto acoplado ou cesto suspenso.
Sistema limitador de momento: sistema de segurança que atua quando alcançado o limite do momento de carga impedindo os movimentos que aumentem o momento de carga.
Superlaço: Olhal feito abrindo-se a ponta do cabo em duas metades. Uma metade é curvada para formar um olhal, e em seguida a outra metade é entrelaçada no espaço vazio da primeira.
Trabalho pelo método ao potencial: Metodologia de trabalho em redes elétricas com tensões superiores a 60kV, onde, através de vestimentas e outros meios específicos, o trabalhador é equalizado no mesmo potencial da rede elétrica (mesmo nível de tensão), possibilitando o trabalho em contato direto com o condutor.
FIGURA 1: EXEMPLO DE ARRANJO COM CESTO
ACOPLADO
2. CESTAS AÉREAS
2.1 As cestas aéreas devem dispor de:
a) ancoragem para cinto de segurança tipo paraquedista, conforme projeto e sinalização do fabricante;
b) todos os controles claramente identificados quanto a suas funções e protegidos contra uso inadvertido e acidental;
c) controles para movimentação da caçamba na parte superior e na parte inferior, que devem voltar para a posição neutra quando liberados pelo operador, exceto o controle das ferramentas hidráulicas;
d) controles inferior e superior para a operação do guincho e válvula de pressão para limitar a carga nas cestas aéreas equipadas com guincho e ″JIB″ para levantamento de material, caso possua este acessório.
e) dispositivo de travamento de segurança de modo a impedir a atuação inadvertida dos controles superiores;
f) controles superiores na caçamba ou ao seu lado, prontamente acessíveis ao operador;
g) controles inferiores prontamente acessíveis e dotados de um meio de prevalecer sobre o controle superior de movimentação da caçamba;
h) dispositivo de parada de emergência nos comandos superior e inferior devendo manter-se funcionais em ambos casos;
i) válvulas de retenção nos cilindros hidráulicos das sapatas estabilizadoras e válvulas de retenção e contrabalanço (holding) nos cilindros hidráulicos do braço móvel a fim de evitar movimentos indesejáveis em caso de perda de pressão no sistema hidráulico;
j) sistema estabilizador, com indicador de inclinação instalado, em local que permita a visualização durante a operação dos estabilizadores, para mostrar se o equipamento está posicionado dentro dos limites de inclinação lateral permitidos pelo fabricante;
k) controles dos estabilizadores protegidos contra o uso inadvertido, que retornem à posição neutra quando soltos pelo operador, localizados na base da unidade móvel, de modo que o operador possa ver os estabilizadores se movimentando;
l) válvula seletora, junto ao comando dos estabilizadores, que numa posição bloqueie a operação dos estabilizadores e na outra posição os comandos de movimentação da(s) caçamba(s);

30 ANEXO XII - Equipamentos de guindar para elevação de pessoas e realização de trabalho em altura Parte 3

m) sistema que impeça a operação das sapatas estabilizadoras sem o prévio recolhimento do braço móvel para uma posição segura de transporte;
n) sistema de operação de emergência que permita a movimentação dos braços e rotação da torre em caso de pane, exceto no caso previsto na alínea ″o″;
o) recurso para operação de emergência que permita a movimentação dos braços e rotação da torre em caso de ruptura de mangueiras hidráulicas;
p) ponto para aterramento;
2.2 A caçamba deve atender aos seguintes requisitos:
a) ser dimensionada para suportar e acomodar o(s) operadore(s) e as ferramentas indispensáveis para realização do serviço;
b) não devem haver aberturas nem passagens nas caçambas de cestas aéreas isoladas, exceto para trabalho pelo método ao potencial;
c) possuir sistema de proteção contra quedas com no mínimo 990 mm de altura e demais requisitos dos itens 12.70 alíneas ″a″, ″b″, ″d″, ″e″, 12.71, 12.71.1, 12.73 alíneas ″a″, ″b″, ″c″ desta NR;
d) quando o acesso da caçamba for por meio de portão, não pode permitir a abertura para fora e deve ter sistema de travamento que impeça a abertura acidental;
e) as caçambas fabricadas em material não condutivo devem atender aos requisitos da norma ABNT NBR 14631;
f) a caçamba das cestas aéreas isoladas deve ser dotada de cuba isolante (liner), exceto para trabalho pelo método ao potencial
2.3 As cestas aéreas, isoladas e não isoladas, devem possuir sistema de nivelamento da(s) caçamba(s) ativo e automático, através de sistema mecânico ou hidráulico que funcione integradamente aos movimentos do braço móvel e independente da atuação da força gravitacional.
2.3.1 As cestas áreas não isoladas com até 10 anos de uso, contados a partir da vigência deste anexo, estão dispensadas da exigência do item 2.3, podendo possuir sistema de nivelamento da caçamba por gravidade.
2.3.2 É proibida a utilização de cestas aéreas não isoladas que não possuam sistema de nivelamento da caçamba ativo e automático.
2.4 Para serviços em linhas, redes e instalações energizadas com tensões iguais ou superiores a 1000V deve-se utilizar cesta aérea isolada, que possua o grau de isolamento, categorias A, B ou C, conforme NBR 14631, e devem ser adotadas outras medidas de proteção coletivas para a prevenção do risco de choque elétrico, nos termos da NR-10.
2.5 Para serviços em linhas, redes e instalações energizadas com tensões inferiores a 1000V a caçamba deve possuir isolamento, garantido o grau de isolamento adequado, e devem ser adotadas outras medidas de proteção coletivas para a prevenção do risco de choque elétrico, nos termos da NR-10.
2.6 Para serviços em proximidade de linhas, redes e instalações energizadas ou com possibilidade de energização acidental, em que o trabalhador pode entrar na zona controlada com uma parte do seu corpo ou com extensões condutoras, a caçamba deve possuir isolamento, garantido o grau de isolamento adequado, e devem ser adotadas outras medidas de proteção coletivas para a prevenção do risco de choque elétrico, nos termos da NR-10.
2.7 Em cestas aéreas com duas caçambas, os controles superiores devem estar posicionados ao alcance dos operadores, sem que haja a necessidade de desengatar seu cinto de segurança.
2.8 Os controles inferiores da Cesta Aérea não devem ser operados com trabalhadores na caçamba, exceto em situações de emergência ou quando a operação ou atividade assim o exigir.
2.9 É proibida a movimentação de carga, exceto as ferramentas, equipamentos e materiais necessários para a execução da tarefa e acondicionados de forma segura.
2.10 As ferramentas, equipamentos e materiais a serem transportados não devem ter dimensões que possam trazer riscos ou desconforto aos trabalhadores.
2.11 O peso total dos trabalhadores, ferramentas, equipamentos e materiais não pode exceder, em nenhum momento, a capacidade de carga nominal da caçamba.
2.12 As cestas aéreas devem ter placa de identificação, localizada na parte inferior do equipamento, na qual constem, no mínimo, as seguintes informações:
a) marca;
b) modelo;
c) isolado ou não isolado;
d) teste de qualificação e data do ensaio, se aplicável;
e) número de série;
f) data de fabricação (mês e ano);

31 ANEXO XII - Equipamentos de guindar para elevação de pessoas e realização de trabalho em altura Parte 4

g) capacidade nominal de carga;
h) altura nominal de trabalho;
i) pressão do sistema hidráulico;
j) número de caçambas;
k) categoria de isolamento da cesta aérea, se aplicável;
l) razão Social e CNPJ do fabricante ou importador;
m) empresa instaladora;
n) existência de acessórios para manuseio de materiais (guincho e JIB);
o) indicação de que o equipamento atende a norma NBR 14631.
2.13 s cestas aéreas devem ser dotadas de sinalização de segurança, atendidos os requisitos desta NR, devendo contemplar também:
a) riscos envolvidos na operação do equipamento;
b) capacidade de carga da caçamba e dos equipamentos para movimentação de materiais (guincho e JIB);
c) informações relativas ao uso e à capacidade de carga da cesta aérea para múltiplas configurações.
2.14 Os controles das cestas aéreas devem estar identificados com símbolos e/ou inscrições com a descrição de suas funções.
2.15 As cestas aéreas devem ser submetidas as inspeções e ensaios previstos na NBR 14631.
2.16 Nos casos de transferência de propriedade é responsabilidade do comprador informar ao fabricante da cesta aérea, em um prazo de 30 dias a partir do recebimento do equipamento, seu modelo e número de série, bem como o número do CNPJ e o endereço do novo proprietário.
2.17 O vendedor deve providenciar e entregar o manual da cesta aérea para o comprador.
3. CESTOS ACOPLADOS
3.1 Os cestos acoplados devem dispor de:
a) ancoragem para cinto de segurança tipo paraquedista, conforme projeto e sinalização do fabricante;
b) todos os controles claramente identificados quanto a suas funções e protegidos contra uso inadvertido e acidental;
c) controles para movimentação da caçamba na parte superior e na parte inferior, que voltem para a posição neutra quando liberados pelo operador.
d) dispositivo de travamento de segurança de modo a impedir a atuação inadvertida dos controles superiores;
e) controles superiores na caçamba ou ao seu lado e prontamente acessíveis ao operador;
f) controles inferiores prontamente acessíveis e dotados de um meio de prevalecer sobre o controle superior de movimentação da caçamba;
g) dispositivo de parada de emergência nos comandos superior e inferior, devendo manter-se funcionais em ambos os casos;
h) válvulas de retenção nos cilindros hidráulicos das sapatas estabilizadoras, e válvulas de retenção e contrabalanço (holding) nos cilindros hidráulicos do braço móvel e giro, a fim de evitar mo vimentos indesejáveis em caso de perda de pressão no sistema hidráulico.
i) controles dos estabilizadores protegidos contra o uso inadvertido, que retornem à posição neutra quando soltos pelo operador, localizados na base do guindaste, de modo que o operador possa ver os estabilizadores movimentando;
j) válvula seletora, junto ao comando dos estabilizadores, que numa posição bloqueie a operação dos estabilizadores e na outra posição os comandos de movimentação da(s) caçamba(s);

32 ANEXO XII - Equipamentos de guindar para elevação de pessoas e realização de trabalho em altura Parte 5

k) sistema que impeça a operação das sapatas estabilizadoras sem o prévio recolhimento do braço móvel para uma posição segura de transporte;
l) sistema de operação de emergência que permita a movimentação dos braços e rotação da torre em caso de pane, exceto no caso previsto na alínea ″m″;
m) recurso para operação de emergência que permita a movimentação dos braços e rotação da torre em caso de ruptura de mangueiras hidráulicas;
n) sistema estabilizador, com indicador de inclinação instalado junto aos comandos dos estabilizadores, em ambos os lados, para mostrar se o equipamento está posicionado dentro dos limites de inclinação permitidos pelo fabricante;
o) sistema limitador de momento de carga que, quando alcançado o limite do momento de carga, emita um alerta visual e sonoro automaticamente e impeça o movimento de cargas acima da capacidade máxima do guindaste, bem como bloqueie as funções que aumentem o momento de carga.
p) ponto para aterramento no equipamento de guindar;
q) sistema mecânico e/ou hidráulico que permita o nivelamento do cesto, evite seu basculamento e assegure que o nível do cesto não oscile além de 5º em relação ao plano horizontal durante os movimentos do braço móvel ao qual o cesto está acoplado.
3.2 A caçamba ou plataforma deve atender aos seguintes requisitos:
a) ser dimensionada e fabricada para suportar e acomodar o operador e material de apoio indispensável para realização do serviço;
b) possuir sistema de proteção contra quedas com no mínimo 990 mm de altura e demais requisitos dos itens 12.70 alíneas ″a″, ″b″, ″d″, ″e″, 12.71, 12.71.1, 12.73 alíneas ″a″, ″b″, ″c″ desta NR;
c) possuir o piso com superfície antiderrapante e sistema de drenagem cujas aberturas não permitam a passagem de uma esfera com diâmetro de 15 mm;
d) possuir degrau, com superfície antiderrapante, para facilitar a entrada do operador quando a altura entre o nível de acesso à caçamba e o piso em que ele se encontra for superior a 0,55m;
e) possuir borda com cantos arredondados.
3.3 Para serviços em linhas, redes e instalações energizadas com tensões iguais ou superiores a 1000V a caçamba e o equipamento de guindar devem possuir isolamento, garantido o grau de isolamento, categorias A, B ou C, conforme NBR 14631, e devem ser adotadas outras medidas de proteção coletivas para a prevenção do risco de choque elétrico, nos termos da NR-10.
3.4 Para serviços em linhas, redes e instalações energizadas com tensões inferiores a 1000V a caçamba deve possuir isolação, garantido o grau de isolamento adequado, e devem ser adotadas outras medidas de proteção coletivas para a prevenção do risco de choque elétrico, nos termos da NR-10.
3.5 Para serviços em proximidade de linhas, redes e instalações energizadas ou com possibilidade de energização acidental, em que o trabalhador possa entrar na zona controlada com uma parte do seu corpo ou com extensões condutoras, a caçamba deve possuir isolação, garantido o grau de isolamento adequado, e devem ser adotadas outras medidas de proteção coletivas para a prevenção do risco de choque elétrico, nos termos da NR-10.
3.6 O posto de trabalho do equipamento de guindar, junto aos comandos inferiores, não deve permitir que o operador tenha contato com o solo na execução de serviços em proximidade de energia elétrica.
3.6.1 O posto de trabalho deve ser fixado na parte inferior do equipamento de guindar ou no chassi do veículo.
3.7 Os equipamentos de guindar que possuam mais de um conjunto de controle inferior devem possuir meios para evitar a operação involuntária dos controles, enquanto um dos controles estiver sendo operado.
3.8 Em cestos acoplados com duas caçambas, os controles superiores devem estar posicionados ao alcance dos operadores, sem que haja a necessidade de desengatar seu cinto de segurança.
3.9 Os controles inferiores do guindaste não devem ser operados com trabalhadores na caçamba, exceto em situações de emergência ou quando a operação ou atividade assim o exigir.
3.10 Quando o acesso da caçamba for por meio de portão, este não pode permitir a abertura para fora e deve ter sistema de travamento que impeça a abertura acidental.
3.11 O sistema de estabilização deve ser utilizado conforme orientações do fabricante para garantir a estabilidade do conjunto guindaste/cesto.
3.12 O conjunto guindaste/cesto acoplado deve ser ensaiado com carga de 1,5 vezes a capacidade nominal, a ser aplicada no centro da caçamba na sua posição de máximo momento de tombamento, registrado em relatório de ensaio.
3.13 Estabilizadores com extensão lateral devem ser projetados para evitar sua abertura involuntária e devem ter o seu curso máximo limitado por batentes mecânicos ou cilindros hidráulicos projetados para esta função.
3.14 As caçambas dos cestos acoplados devem ter placa de identificação na qual constem, no mínimo, as seguintes informações:
a) razão social e CNPJ do fabricante ou importador;
b) modelo;
c) data de fabricação;

33 ANEXO XII - Equipamentos de guindar para elevação de pessoas e realização de trabalho em altura Parte 6

d) capacidade nominal de carga;
e) número de ocupantes;
f) eventuais restrições de uso;
g) grau de isolação elétrica da caçamba, se aplicável.
3.15 As caçambas devem possuir sinalização, atendidos os requisitos desta NR, destacando a capacidade de carga nominal, o número de ocupantes e a tensão máxima de uso, quando aplicável.
4. CESTOS SUSPENSOS
4.1 Nas atividades onde tecnicamente for inviável o uso de Plataforma de trabalho aéreo - PTA, cesta aérea ou cesto acoplado, e em que não haja possibilidade de contato ou proximidade com redes energizadas ou com possibilidade de energização, poderá ser utilizado cesto suspenso içado por equipamento de guindar que atenda aos requisitos mínimos previstos neste anexo, sem prejuízo do disposto nas demais Normas Regulamentadoras e normas técnicas oficiais vigentes pertinentes a tarefa.
4.2 A inviabilidade técnica deve ser comprovada por laudo técnico elaborado por profissional legalmente habilitado e mediante emissão de respectiva Anotação de Responsabilidade Técnica - ART.
4.3 É proibida a movimentação de pessoas simultaneamente com carga, exceto as ferramentas, equipamentos e materiais para a execução da tarefa acondicionados de forma segura.
4.4 As ferramentas, equipamentos e materiais a serem transportados não devem ter dimensões que possam trazer riscos ou desconforto aos trabalhadores.
4.5 O peso total dos trabalhadores, ferramentas, equipamentos e materiais não pode exceder, em nenhum momento, a capacidade de carga nominal da caçamba.
4.6 Para os cestos suspensos o peso total da carga içada, incluindo o moitão, conjunto de cabos, caçamba, trabalhadores, ferramentas e material não deve exceder 50% da capacidade de carga nominal do equipamento de guindar.
4.7 A utilização de cesto suspenso deverá ser objeto de planejamento formal, contemplando as seguintes etapas:
a) realização de análise de risco;
b) especificação dos materiais e ferramentas necessárias;
c) elaboração de plano de movimentação de pessoas;
d) elaboração de procedimentos operacionais e de emergência;
e) emissão de permissão de trabalho para movimentação de pessoas.
4.8 A utilização do cesto suspenso deve estar sob a responsabilidade técnica de Engenheiro de Segurança do Trabalho.
4.9 A supervisão da operação do cesto suspenso deve ser realizada por Engenheiro de Segurança do Trabalho ou Técnico de Segurança do Trabalho.
4.10 A operação contará com a presença física de profissional capacitado em movimentação de carga desde o planejamento até a conclusão. .
4.11 A análise de risco da operação deve prever recurso para realização de operação de emergência com vistas à retirada do trabalhador da caçamba ou plataforma ou seu posicionamento em local seguro em caso de pane do sistema.
4.12 A análise de risco deve considerar possíveis interferências no entorno, em particular a operação de outros equipamentos de movimentação, devendo nesse caso ser impedida a movimentação simultânea ou adotado sistema anticolisão, quando utilizadas gruas.
4.13 Antes de içar os trabalhadores nos cestos suspensos devem ser realizados testes operacionais de içamento com a caçamba a cada turno e após qualquer mudança de local de instalação, configuração dos equipamentos de içamento, ou do operador.
4.14 Os testes de içamento devem ser executados para avaliar a correta instalação e configuração dos equipamentos de içamento, o funcionamento dos sistemas de segurança, as capacidades de carga e a existência de qualquer interferência perigosa.
4.15 No içamento de teste, a caçamba deve ser carregada com a carga prevista para o içamento dos trabalhadores e deslocada até a posição em que ocorre o momento de carga máximo da operação planejada.
4.16 O cesto suspenso deve ser projetado por Profissional Legalmente Habilitado, contendo as especificações construtivas e a respectiva memória de cálculo, acompanhado de ART.
4.17 Para efeitos de dimensionamento devem ser considerados a carga nominal, com os seguintes coeficientes de segurança:
a) cinco para os elementos estruturais da caçamba;

34 ANEXO XII - Equipamentos de guindar para elevação de pessoas e realização de trabalho em altura Parte 7

b) sete para o sistema de suspensão com um único ponto de sustentação;
c) cinco para os sistemas de suspensão com dois ou mais pontos de sustentação.
4.18 A caçamba deve dispor de:
a) capacidade mínima de 136 kg;
b) sistema de proteção contra quedas com no mínimo 990 mm de altura e demais requisitos dos itens 12.70 alíneas ″a″, ″b″, ″d″, ″e″, 12.71, 12.71.1, 12.73 alíneas ″a″, ″b″, ″c″ desta NR;
c) piso com superfície antiderrapante e sistema de drenagem cujas aberturas não permitam a passagem de uma esfera com diâmetro de 15 mm;
d) no mínimo, conjunto estrutural, piso e sistema de proteção contra quedas confeccionado em material metálico;
e) ponto(s) de fixação para ancoragem de cinto de segurança tipo paraquedista em qualquer posição de trabalho, sinalizados e dimensionados em função do número máximo de ocupantes da caçamba e capazes de suportar cargas de impacto em caso de queda;
f) barra fixa no perímetro interno, na altura mínima de 990 mm, com projeção interna mínima de 50 mm a partir do limite do travessão superior do sistema de proteção contra quedas para o apoio e proteção das mãos e capaz de resistir aos esforços mencionados na alínea g deste item;
g) portão que não permita a abertura para fora e com sistema de travamento que impeça abertura acidental.
4.19 A caçamba deve ter afixada em seu interior placa de identificação indelével de fácil visualização, com no mínimo as seguintes informações:
a) identificação do fabricante;
b) data de fabricação;
c) capacidade de carga da caçamba em peso e número de ocupantes;
d) modelo e número de identificação de caçamba que permita a rastreabilidade do projeto;
e) peso do cesto suspenso vazio (caçamba e sistema de suspensão).
4.20 Sempre que o cesto suspenso sofrer alterações que impliquem em mudança das informações constantes da placa de identificação esta deve ser atualizada.
4.21 O içamento do cesto suspenso somente pode ser feito por meio de cabo de aço, com fitilho de identificação ou sistema para identificação e rastreamento previsto pelo INMETRO - Regulamento de Avaliação da Conformidade para Cabos de Aço de Uso Geral, Portaria INMETRO/MDIC nº 176 de 16.06.2009.
4.22 É proibida a utilização de correntes, cabos de fibras naturais ou sintéticos no içamento e/ou sustentação do cesto suspenso.
4.23 O sistema de suspensão deve minimizar a inclinação devido ao movimento de pessoal na caçamba e não deve permitir inclinação de mais de dez graus fora do plano horizontal.
4.24 Os sistemas de suspensão devem ser dedicados, não podendo ser utilizados para outras finalidades. e satisfazer aos seguintes requisitos:
a) o sistema de suspensão de cabos com superlaços unidos mecanicamente deve ser projetado com sapatilha em todos os olhais, sendo proibida a utilização de grampos, soquetes tipo cunha, ou nós;
b) o sistema de suspensão de cabos com conexões finais de soquetes com furos devem ser concebidos de acordo com as instruções do fabricante;
c) todos os sistemas de suspensão de eslinga devem utilizar uma ligação principal para a fixação ao gancho do moitão do equipamento de içamento ou à manilha com porca e contra-pino;
d) as cargas devem ser distribuídas uniformemente entre os pontos de sustentação do sistema de suspensão;
e) O conjunto de cabos (superlaços) destinado a suspender a caçamba deve ter sua carga nominal identificada;
f) manilhas, se usadas no sistema de suspensão, devem ser do tipo com porca e contra-pino;
g) deve haver um elemento reserva entre o gancho do moitão e as eslingas do sistema de suspensão, de forma a garantir a continuidade de sustentação do sistema em caso de rompimento do primeiro elemento;
h) os ganchos devem ser dotados de sistema distorcedor e trava de segurança;

35 ANEXO XII - Equipamentos de guindar para elevação de pessoas e realização de trabalho em altura Parte 8

i) os cabos e suas conexões devem atender aos requisitos da NBR 11900 - Extremidades de laços de cabos de aço.
4.25 Quando a análise de risco indicar a necessidade de estabilização da caçamba por sistema auxiliar externo, esta deve ser feita por meio de elementos de material não condutor, vedado o uso de fibras naturais.
4.26 O equipamento de guindar utilizado para movimentar pessoas no cesto suspenso deve possuir, no mínimo:
a) anemômetro que emita alerta visual e sonoro para o operador do equipamento de guindar quando for detectada a incidência de vento com velocidade igual ou superior a 35 km/h;
b) indicadores do raio e do ângulo de operação da lança, com dispositivos automáticos de interrupção de movimentos (dispositivo limitador de momento de carga), que emita um alerta visual e sonoro automaticamente e impeça o movimento de cargas acima da capacidade máxima do guindaste;
c) indicadores de níveis longitudinal e transversal;
d) limitador de altura de subida do moitão que interrompa a ascensão do mesmo ao atingir a altura previamente ajustada;
e) dispositivo de tração de subida e descida do moitão que impeça a descida da caçamba ou plataforma em queda livre (banguela);
f) ganchos com identificação e travas de segurança;
g) aterramento elétrico;
h) válvulas hidráulicas em todos os cilindros hidráulicos a fim de evitar movimentos indesejáveis em caso de perda de pressão no sistema hidráulico, quando utilizado guindastes;
i) controles que devem voltar para a posição neutra quando liberados pelo operador;
j) dispositivo de parada de emergência;
k) dispositivo limitador de velocidade de deslocamento vertical do cesto suspenso de forma a garantir que se mantenha, no máximo, igual a trinta metros por minuto (30m/min).
4.27 Em caso de utilização de grua esta deve possuir, no mínimo:
a) limitador de momento máximo por meio de sistema de segurança monitorado por interface de segurança;
b) limitador de carga máxima para bloqueio do dispositivo de elevação, por meio de sistema de segurança monitorado por interface de segurança;
c) limitador de fim de curso para o carro da lança nas duas extremidades, por meio de sistema de segurança monitorado por interface de segurança;
d) limitador de altura que permita frenagem segura para o moitão por meio de sistema de segurança monitorado por interface de segurança;
e) alarme sonoro para ser acionado pelo operador em situações de risco e alerta, bem como de acionamento automático, quando o limitador de carga ou momento estiver atuando;
f) placas indicativas de carga admissível ao longo da lança, conforme especificado pelo fabricante;
g) luz de obstáculo (lâmpada piloto);
h) trava de segurança no gancho do moitão;
i) cabos-guia para fixação do cabo de segurança para acesso à torre, lança e contra-lança;
j) limitador de giro, quando a grua não dispuser de coletor elétrico;
k) anemômetro que emita alerta visual e sonoro para o operador do equipamento de guindar quando for detectada a incidência de vento com velocidade igual ou superior a 35 km/h;
l) dispositivo instalado nas polias que impeça o escape acidental do cabo de aço;
m) limitador de curso de movimentação de gruas sobre trilhos, por meio de sistema de segurança monitorado por interface de segurança;
n) limitadores de curso para o movimento da lança - item obrigatório para gruas de lança móvel ou retrátil.

36 ANEXO XII - Equipamentos de guindar para elevação de pessoas e realização de trabalho em altura Parte 9

o) aterramento elétrico;

p) dispositivo de parada de emergência.

q) dispositivo limitador de velocidade de deslocamento vertical do cesto suspenso de forma a garantir que se mantenha, no máximo, igual a trinta metros por minuto (30m/min).

4.28 É obrigatório, imediatamente antes da movimentação, a realização de:

a) reunião de segurança sobre a operação com os envolvidos, contemplando as atividades que serão desenvolvidas, o processo de trabalho, os riscos e as medidas de proteção, conforme analise de risco, consignado num documento a ser arquivado contendo o nome legível e assinatura dos participantes;

b) inspeção visual do cesto suspenso;

c) checagem do funcionamento do rádio;

d) confirmação de que os sinais são conhecidos de todos os envolvidos na operação.

4.29 A reunião de segurança deve instruir toda a equipe de trabalho, dentre outros envolvidos na operação, no mínimo, sobre os seguintes perigos:

a) impacto com estruturas externas à plataforma;

b) movimento inesperado da plataforma;

c) queda de altura;

d) outros específicos associados com o içamento.

4.30 A equipe de trabalho é formada pelo(s) ocupante(s) do cesto, operador do equipamento de guindar, sinaleiro designado e supervisor da operação.

4.31 A caçamba, sistema de suspensão e pontos de fixação devem ser inspecionados, pelo menos, uma vez por dia, antes do uso, por um trabalhador capacitado para esta inspeção. A inspeção deve contemplar no mínimo os itens da Lista de Verificação nº 1 deste anexo, os indicados pelo fabricante da caçamba e pelo profissional legalmente habilitado responsável técnico pela utilização do cesto.

4.32 Quaisquer condições encontradas que constituam perigo devem ser corrigidas antes do içamento do pessoal.
4.33 As inspeções devem ser registradas em documento específicos, podendo ser adotado meio eletrônico.
4.34 A equipe de trabalho deve portar rádio comunicador operando em faixa segura e exclusiva.
4.35 Os ocupantes do cesto devem portar um rádio comunicador para operação e um rádio adicional no cesto.
4.36 Deve haver comunicação permanente entre os ocupantes do cesto e o operador de guindaste
4.37 Se houver interrupção da comunicação entre o operador do equipamento de guindar e o trabalhador ocupante do cesto a movimentação do cesto deve ser interrompida até que a comunicação seja restabelecida.
4.38 Os sinais de mão devem seguir regras internacionais podendo ser criados sinais adicionais, desde que sejam conhecidos pela equipe e não entrem em conflito com os já estabelecidos pela regra internacional.
4.39 Placas ou cartazes contendo a representação dos sinais de mão devem ser afixados de modo visível dentro da caçamba e em quaisquer locais de controle e sinalização de movimento do cesto suspenso.
4.40 Dentre os ocupantes do cesto, pelo menos, um trabalhador deve ser capacitado em código de sinalização de movimentação de carga.
4.41 É proibido o trabalho durante tempestades com descargas elétricas ou em condições climáticas adversas ou qualquer outra condição metrológica que possa afetar a segurança dos trabalhadores.
4.42 Na utilização do cesto suspenso deve ser garantido distanciamento das redes energizadas.
5. Os sistemas de segurança previstos neste anexo devem atingir a performance de segurança com a combinação de componentes de diferentes tecnologias (ex: mecânica, hidráulica, pneumática e eletrônica), e da seleção da categoria de cada componente levando em consideração a tecnologia usada.
6. Toda documentação prevista neste anexo deve permanecer no estabelecimento à disposição dos Auditores Fiscais do Trabalho, dos representantes da Comissão Interna de Prevenção de Acidentes - CIPA e dos representantes das Entidades Sindicais representativas da categoria, sendo arquivada por um período mínimo de 5 (cinco) anos.
7. Para operações específicas de transbordo em plataformas marítimas deve ser utilizada a Cesta de transferência homologada pela Diretoria de Portos e Costas da Marinha do Brasil - DPC.

37 ANEXO XII - Equipamentos de guindar para elevação de pessoas e realização de trabalho em altura Parte 10

7.1 A equipe de trabalho deve ser capacitada com Curso Básico de Segurança de Plataforma (NORMAM 24) e portar colete salva-vidas.
7.2 Devem ser realizados procedimentos de adequação da embarcação, área livre de convés e condições ambientais.
8. Serviços de manutenção de instalações energizadas de linhas de transmissão e barramentos energizados para trabalhos ao potencial devem atender aos requisitos de segurança previstos na NR-10.

Lista de verificação nº 1

FORMULÁRIO DE PLANEJAMENTO E AUTORIZAÇÃO DE IÇAMENTO DE CESTO SUSPENSO

38 ANEXOS - Segurança no trabalho em máquinas e equipamentos