DESENHO TÉCNICO MECÂNICO

Leitura e Interpretação de Desenho Técnico Mecânico

1 Desenho Técnico Mecânico

1. Vistas auxiliares,

2. Projeção de peças com rotação,

3. Vistas especiais,

4. Vistas localizadas,

5. Vistas simplificadas.

 

VISTAS AUXILIARES ou projeção ortogonal especial:

1 O que são VISTAS AUXILIARES?

São vistas que possibilitam mostrar faces oblíquas de peças de maneira que não fiquem distorcidas.

Exemplo da aula passada que deveria ter sido representado com vistas auxiliares:

 

2. Onde usar as VISTAS AUXILIARES?

É necessário usar as VISTAS AUXILIARES em peças cujas projeções ortogonais ficam distorcidas devido a uma (ou mais) face(s) oblíqua(s) ou onde se deseja representar uma vista em verdadeira grandeza.

EXEMPLO:

3. Criando vistas auxiliares...

...Rebatimento do plano auxiliar...

...Resumo

4. Como desenhar uma VISTA AUXILIAR?

Exemplo:

Exemplo:

Exemplo:

Projeção de peças com rotação:

1. O que é projetar uma vista com rotação?

É rotacionar virtualmente um ou mais elementos de uma peça a fim de que as projeções ortogonais não fiquem distorcidas, sendo necessário existir um eixo de rotação na peça.

2. Projeção com rotação: exemplos

Projeção com rotação: exemplo

Vistas Especiais:

1. O que são VISTAS ESPECIAIS?

São projeções com posição do observador indicada por setas e letras quando não representadas na posição normal de rebatimento.

2. Exemplos

Vistas Localizadas:

Vistas Simplificadas:

Utilizadas somente quando não acarretar dúvidas

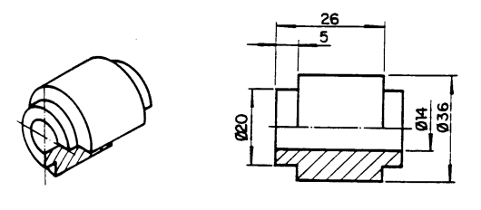
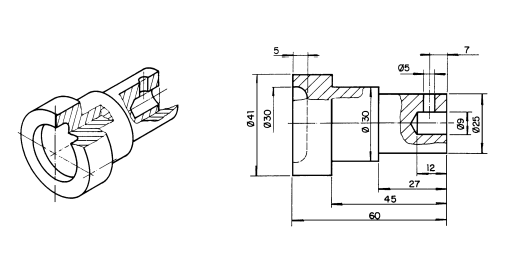
2 Corte

Corte é a denominação dada à representação de um produto secionada por um ou mais planos virtuais (planos secantes). No corte se representa tudo o que está atrás do plano secante, sendo que as linhas que estavam invisíveis nas vistas ortogonais passam a ficar visíveis.

É um recurso muito utilizado para representar mais efetivamente detalhes internos de componentes ou montagens.

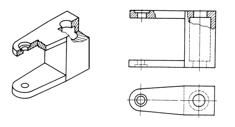
No contexto de interpretação de desenho técnico mecânico, a aplicação de setas acompanhadas de letras assume um papel crucial na comunicação visual. A expressão "corte AA" é estrategicamente posicionada abaixo da vista hachurada, indicando de maneira clara e precisa a localização do corte no desenho. Notavelmente, as vistas não afetadas pelo corte mantêm todas as linhas, garantindo a integridade das informações visuais.

Destaca-se que na vista hachurada, as linhas tracejadas podem ser omitidas, desde que essa omissão não comprometa a compreensão do desenho. Essa abordagem visa simplificar a representação gráfica sem prejudicar a clareza e a legibilidade do projeto. A utilização criteriosa de setas e letras, portanto, desempenha um papel fundamental na orientação do observador, contribuindo para uma interpretação precisa e eficiente do desenho técnico mecânico.

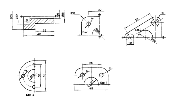
3 Hachuras

Na representação em corte, a área concebida como cortada é preenchida com hachuras, as quais consistem em linhas estreitas, comumente desenhadas a um ângulo de 45º, embora, em determinadas situações, seja permitida uma inclinação de 30º.

As hachuras também mostram os tipos de materiais; embora se utilize atualmente apenas a de ferro fundido, independentemente do material.

As hachuras em uma peça composta (unidas ou montagem), são feitas em direções diferentes.

Cortes em componentes de paredes muito delgadas, como por exemplo: chapas, juntas, guarnições, perfis estruturais, devem ser representadas em negrito com espaçamento em branco.

As hachuras não devem ter a mesma inclinação de arestas das peças, nem das cotas. Também não devem interceptar dimensões.

As hachuras não devem ter a mesma inclinação de arestas das peças, nem das cotas. Também não devem interceptar dimensões.

Corte

4 Elementos não Cortados

Alguns elementos de máquinas não são cortados quando atingido pelo plano secante.

Plano Secante

5 Corte Composto (Em Desvio)

Utilizado quando se deseja representar detalhes em diferentes planos de corte.

6 Corte Parcial

É um corte utilizado apenas para mostrar determinados detalhes internos na projeção. Para limitar a parte cortada, usa-se a linha de ruptura (sinuosa estreita)

7 Meio Corte

O meio-corte é empregado no desenho de peças simétricas, no qual aparece somente meia vista em corte. O meio corte apresenta a vantagem de indicar, em uma só vista, as partes internas e externa da peça.

Meio Corte em Vista Unica

Em peças com a linha de simetria horizontal, o meio corte é representado na parte INFERIOR da linha de simetria.

Em peças com a linha de simetria vertical, o meio corte é representado À ESQUERDA da linha de simetria.

MEIO-CORTE - Duas representações em meio corte no mesmo desenho