Normas de serviços e elementos de fixação

Mecânica para Motos e Ciclomotores

1 Normas

Use somente as ferramentas com medidas em milímetros (sistema métrico) para efetuar serviços de manutenção e reparos na motocicleta. O uso incorreto de ferramentas ou de elementos de fixação pode danificar a motocicleta.

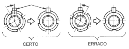
Para remover uma peça fixada com parafusos e porcas de diversos tamanhos, deve-se começar a desapertar de fora para dentro em sequência cruzada, soltando primeiro os parafusos e as porcas de menor diâmetro. Se desapertar primeiro os parafusos e as porcas de diâmetros maiores, a força exercida sobre os menores será excessiva.

Os rolamentos de esferas são removidos utilizando as ferramentas que aplicam forças em uma ou ambas (interna ou externa) pistas de esferas. Se aplicar a força somente em uma pista, o rolamento será danificado durante a remoção, e deverá ser substituído. Se aplicar a força em ambas as pistas de maneira igual, o rolamento não será danificado durante a remoção.

A limpeza do rolamento de esferas deve ser feita em solvente não inflamável e em seguida secá-lo com ar comprimido. Aplique o ar comprimido segurando as duas pistas de esferas para evitar que ele gire. Se permitir o giro do rolamento, a alta velocidade gerado pelo jato de ar pode exceder o limite de velocidade do rolamento, causando assim dano permanente.

Anéis elásticos são instalados sempre com as bordas chanfradas (laminadas) voltadas para a peça que está limitando. Dessa forma, a pressão sobre o anel elástico será exercida na área onde a borda do anel está paralela com a parede da canaleta. Se instalar incorretamente o anel elástico, exercerá uma pressão sobre as bordas chanfradas ou laminadas que podem comprimir o anel elástico e com a possibilidade de desalojá -lo da canaleta.

Nunca reutilize o anel elástico, já que sua função normal é controlar a folga da extremidade e desgaste com uso normal. O desgaste é crítico especialmente nos anéis elásticos que retém as peças que giram como as engrenagens. Após a instalação do anel elástico, sempre gire -o em sua canaleta para certificar-se de que ele está assentado corretamente.

O comprimento dos parafusos pode variar para montagem de tampas ou carcaças. Esses parafusos com diferentes comprimentos devem ser instalados nas posições corretas.Se você tiver dúvidas, coloque os parafusos nos orifícios e compare o comprimento das partes dos parafusos que estão fora do orifício. Todos os parafusos devem ter comprimentos expostos iguais.

O aperto dos parafusos e porcas de diferentes medidas devem ser feitos como segue:

Introduza os parafusos e as porcas com a mão e, em seguida aperte os parafusos e as porcas com as medidas maiores an tes dos menores. Aperte-os em sequência cruzada de dentro para fora em duas ou três etapas, a menos que seja determinada uma sequência particular.

Não utilize óleo nas roscas dos parafusos.

Uma motocicleta é composta de várias peças conectadas uma na out ra. Diferentes tipos e tamanhos de elementos de fixação são utilizados para conectar essas peças. Os elementos de fixação rosqueados são indispensáveis como meio de fixação não permanente, pois eles permitem a remoção da peça sempre que for necessário.

Calculando de maneira aproximada, o diâmetro da rosca é o diâmetro externo da rosca macho ou diâmetro interno da parte mais baixa da canaleta da rosca fêmea.O passo é a distância deslocada num parafuso ou uma porca quando no mesmo dá-se uma volta completa.

Tipos de roscas

As roscas métricas especificadas pela Organização de Normas Internacionais (ISO) são utilizadas nas motocicletas HONDA.As roscas ISO mais comuns encontradas nos produtos Honda tem as seguintes medidas de roscas e passos.

As medidas das roscas

As medidas das roscas são representadas pelo diâmetro da rosca macho. A distância entre os flancos da cabeça sextavada representa a medida da ferramenta aplicável. Nas motocicletas Honda, a medida do parafuso e a porca é representada pelo diâmetro da rosca.

A distância entre os flancos

A distância entre flancos é a porção onde as ferramentas, como uma chave, são aplicadas. O tamanho da ferramenta aplicável é determinada por esta medida. A denominação de uma chave fixa 10 mm, por exemplo, representa uma chave para ser utilizada em um parafuso com a cabeça sextavada com a distância entre flancos de 10 mm.

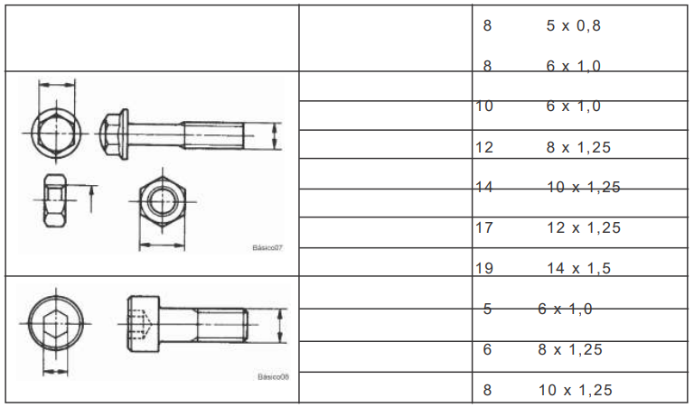
A tabela abaixo apresenta as medidas da distância entre os flancos e das roscas mais usadas nas motocicletas Honda.

Parte sextavada Distância entre flancos (Diâmetro da rosca) x (passo)

Marcas de Resistência dos Parafusos com Cabeça Sextavada

As marcas de resistência, que indicam o tipo de material, são visíveis na cabeça de alguns parafusos. Os parafusos são classificados como parafusos normais e parafusos de alta tensão de acordo com os tipos de materiais utilizados. Durante a montagem, tenha cuidado para não instalar os parafusos de alta tensão no lugar inadequado. Note -se que os parafusos normais são apertados de acordo com o torque padrão, a menos que um outro valor seja especificado, enquanto que parafusos de alta tensão sempre possuem seus próprios valores de torque.Os parafusos SH 6 mm sem a marca de resistência (parafusos com flange de cabeça pequena com a distância entre flancos de 8 mm e o diâmetro das roscas de 6 mm) são todos considerados parafusos comuns.

Os parafusos do tipo DR (cabeça abaulada), sem as marcas de resistência (parafusos flange com a cabeça sextavada e com o orifício de redução de peso) são classificados pelos diâmetros externos do flange. Tenha cuidado quanto ao local de instalação e o torque dos parafusos de alta tensão, pois eles tem as mesmas distâncias entre os flancos com os parafusos normais, porém, os diâmetros dos flanges maiores.

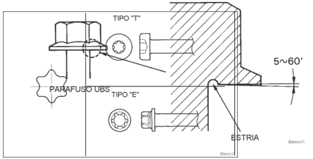
Os parafusos UBS pertencem à categoria dos parafusos de alta tensão. Eles podem ser reconhecidos pela estria sob a cabeça. Os parafusos UBS podem ou não ter as marcas de resistência. Além disso, esses parafusos são estruturados de tal maneira q ue não afrouxam facilmente, devido a ligeira inclinação de 5 a 60’ na base do flange.

Os parafusos “TORX” possuem duas configurações: o TORX interno que é classificado como tipo “T”, e o TORX externo que é o tipo “E”, conforme pode ser observado na figura abaixo.

A tabela abaixo mostra a representação do tamanho do alojamento e o diâmetro da rosca, muitas vezes usados nas motocicletas Honda.

Tem um tipo “T” TORX especial que tem uma projeção na base do furo. Este tipo de parafuso TORX é usado em partes que não são desmontada s (ex: instalação do sensor do carburador).Para remover e instalar este tipo específico (com a ranhura para o ressalto) uma chave TORX é recomendado. Tenha cuidado, as peças que utilizam este pa- rafuso TORX tipo “T” especial, basicamente não deverão ser removidas ou é recomendado ajustes na reinstalação.

CT (parafuso combinado) gera a rosca fêmea quando ele é rosqueado dentro do furo piloto sem rosca.A parte inferior do parafuso CT tem a vantagem de combinar a rosca comum com a rosca baixa.

Quando o parafuso CT é rosqueado dentro do furo piloto sem rosca, o parafuso faz a rosca fêmea por deformação na parede do furo. Poucos cavacos e aparas são produzidos neste processo, o qual é diferente do rosqueamento por uma máquina.

A rosca permanece na peça após o parafuso ser removido.

Quando o parafuso CT necessitar de troca, use um novo parafuso CT ou um parafuso comum genuíno Honda (comprimento l). Não utilize um parafuso comum com comprimento l’.

2 Forças de Aperto

Quando duas ou mais peças são conectadas por um parafuso, suas conexões não devem ser afetadas por forças externas e não podem haver folgas entre as peças que são apertadas uma contra a outra. Chamamos de força de aperto apropriada, quando a força de aperto for suficiente para que as peças fixadas realizem suas funções pretendidas.

A redução da força de aperto (força de aperto inicial) com o passar do tempo, causada pelas forças externas ou vibrações durante o uso é chamado de “afrouxamento de parafusos”. Mesmo quando a força de ap erto inicial do parafuso estiver correta, com o uso pode afrouxá -lo e ocasionar danos nas peças. Como uma medida preventiva contra o afrouxamento do parafuso, o reaperto deve ser executado após um certo período de tempo. O aperto periódico dos raios das rodas é um exemplo dessa operação.

As forças de aperto corretas são determinadas de acordo com a resistência do parafuso, a resistência das peças fixadas e a intensidade das forças externas. O aperto deve ser executado exatamente de acordo com sua especificação, principalmente nos pontos importantes. Se apertar o parafuso de fixação da capa da biela com uma força maior do que o valor correto, por exemplo, irá deformar a peça fixada (capa da biela) tornando o filme de óleo menor do que o especificado, o que causará o engripamento no rolamento.Uma força de aperto insuficiente, por outro lado, pode afrouxar as porcas ou a capa da biela e pode soltar-se durante o funcionamento do motor, causando sérios danos ao motor.

O uso de um torque de aperto pré determinado é o método mais comum de controlar a tensão dos elementos de fixação.Deve-se observar que, esse método de controle usando os valores de torque, a tensão axial é proporcional ao torque sob certas condições. Em outras condições, esta tensão axial varia mesmo quando os parafusos são apertados com o mesmo valor de torque.

O desenho acima mostra que o coeficiente de atrito diminui quando tem aderência de óleo na parte rosqueada do parafuso. De um torque de aperto aplicado nas roscas secas, de 88 a 92% é consumido pelo atrito do flange e da superfície rosqueada, e, somente de 8 a 12% é transformado efetivamente em tensão axial. Essa porcentagem de transformação em tensão axial aumenta na medida em que o atrito diminui. Isso quer dizer que, quanto menor for o atrito, maior será a tensão axial.

Nota:É muito importante aplicar óleo nas roscas do parafuso quando houver instrução para fazê-lo no manual de serviços específico.

Afrouxamento dos Elementos de fixação

Certas áreas de uma motocicleta estão sujeitas as repetidas e severas forças externas. Parafusos especiais, com uma alta porcentagem de capacidade de deformação elástica, são usados para estas áreas.

Instalação de parafusos comuns nestas áreas com requisitos especiais podem provocar o afrouxamento ou ruptura nos parafusos. Portanto, é importante identificar esses parafusos especiais e suas posições de instalação onde esses são indicados.

Limpe completamente os parafusos, se houver qualquer sujeira em qualquer parte do parafuso.

Instalação de parafusos com sujeira ou outros objetos nas roscas do parafuso ou da porca resultará em uma tensão axial incorreta, mesmo empregando o torque de aperto correto.Ao desprender a sujeira ou outros objetos de vido a vibração e atuação mútua das peças fixadas, o parafuso irá se afrouxar rapidamente.

Arruela de pressão (Tipo fendido convencional)

Quando a arruela é comprimida sob pressão pela superfície da porca, a elasticidade da mola e as bordas da extremidade do anel impedem o afrouxamento.É aplicado em vários pontos do chassi (Parafusos incorporados com as arruelas também são disponíveis).

Precaução

Não utilize as arruelas de pressão que perderam sua elasticidade ou estão deformadas ou excêntricas.Um torque excessivo abrirá ou deformará a arruela tornando-a sem efeito.Use um tamanho adequado para o diâmetro da rosca ou pontos sextavados.

Quando utilizar com a arruela lisa, coloque sempre a arruela de pressão entre a porca e a arruela lisa.

3 Porca auto travante

Esta é uma porca com uma placa de mola na sua parte superior. Esta placa de mola pressiona as roscas, dificultando o afrouxamento da porca. Este tipo de porca pode ser reutilizada após a remoção.É aplicado nos pontos importantes do chassi: porcas do ponto de articulação do PRO-LINK, porcas dos eixos, etc.

Precaução

Evite utilizar as porcas com as placas de molas deformadas ou danificadas. A cabeça do parafuso ou do eixo deve ser fixada durante a instalação e a remoção da porca, devido a resistência da placa de mola contra o parafuso. Se o comprimento do parafuso for muito curto, a parte da placa de mola da porca não encaixará completamente nas roscas.

Combinação de duas porcas

A contraporca, aplicada à porca de ajuste pelo lado de fora, exerce pressão contra a porca de ajuste, impedindo assim o afrouxamento. É aplicado nos ajustadores da corrente e ajustadores dos cabos.(Elas são usadas também para instalar ou remover os prisioneiros).

Precaução

Segure a porca de ajuste firmemente e aperte a contraporca. Qualquer tentativa de afrouxar as duas porcas (porca de ajuste e contraporca) simultaneamente danificará as roscas das porcas.

Arruela cônica de pressão

A superfície da porca exerce a pressão sobre a arruela cônica e a reação da mola pressiona a porca para impedir o afrouxamento.É aplicado nos pontos importantes da parte interna do motor: porca trava da embreagem, porca trava da engrenagem primária, parafusos do pinhão, etc.

Precaução

A instalação incorreta diminui a eficiência da trava. Instale as arruelas cônicas sempre com suas marcas “out side” voltadas para fora. Se não possuir a marca, monte a arruela cônica de pressão conforme mostra a ilustração acima.

Não utilize se ela estiver deformada ou danificada.

Quando utilizar uma porca chanfrada somente de um lado, instale a porca com o lado chanfrado voltado para a arruela cônica como mostra a ilustração ao lado.

Placa de Trava com Lingueta

Dobre as linguetas (garras) sobre a face plana ou na ranhura da porca para travar a porca ou a cabeça do parafuso.É aplicado nos pontos importantes da parte interna do motor e segurança do chassi: porca trava da embreagem, porca do rolamento superior da coluna de direção, porcas da coroa, etc.

Precaução

Certifique-se de que a lingueta esteja travando corretamente à porca.As operações repetidas de dobrar/desempenar danificará a lingueta. Substitua a placa de trava por uma nova sempre que e la for removida. Alinhe a lingueta com a porca perfeitamente quando o torque correto é aplicado, ou então a porca deve ser apertada um pouco mais até alinhar com a lingueta.

Não alinhe a porca com a lingueta da trava com o torque menor do que o especificado.

Porca castelo

Introduza a cupilha pelo orifício do parafuso e pela ranhura da porca para travar a porca.É aplicado nos pontos importantes de segurança do chassi: porca do eixo e braço de ancoragem do freio.

Precaução

As operações repetidas de dobrar/desempenar danificam as cupilhas. Sempre utilize uma cupilha nova durante a montagem. Aperte a porca até o torque especificado. Em seguida alinhe o orifício do parafuso com a ranhura da porca apertando a porca um pouco além do torque especificado. Não alinhe o orifício do parafuso e a ranhura da porca com o torque menor do que o especificado.

Dobre as cupilhas como mostra a figura ao lado.

Pino trava/cupilha

Introduza o pino trava ou a cupilha no orifício do parafuso para evitar que a porca se afrouxe. É aplicado nos pontos importantes de segurança do chassi: vareta do freio.

Precaução

As operações repetidas de dobrar/desempenar danificam as cupilhas. Sempre utilize uma cupilha nova durante a montagem. Entre tanto, o pino trava pode ser reutilizado. Substitua o pino trava por um novo se ele deformar ou danificar.

Quando utilizar uma cupilha ou pino trava nos componentes da roda ou da suspensão, instale o pino com a cabeça voltada para a dianteira da motocicleta. Se instalar a cupilha ou pino na direção contrária, os pinos podem ser dobrados e eventualmente quebrados, desprendendo -se da motocicleta devido o impacto com outros objetos estacionários ou com as pedras atiradas. Certifique-se que as cupilhas estejam dobradas corretamente como mostra a figura abaixo.

Coloque a cabeça do pino em qualquer posição dentro da faixa “A” mostrado abaixo.

Porca trava com lingueta

Alinhe a lingueta da porca com a ranhura do eixo e dobre a lingueta para dentro da ranhura.É aplicado nos pontos importantes da parte interna do motor: porca trava do cubo da embreagem, limitador do rolamento da roda, posicionador de marchas, etc.

Precaução

Durante a montagem, desempene a lingueta antes de soltar a porca.Substitua a porca se a dobra anterior da lingueta alinhar com a ranhura do eixo após o aperto da porca até o torque especificado.Depois de apertar a porca até o torque especificado, dobre a lingueta da porca batendo-a levemente para dentro da ranhura do eixo. Certifique-se que a lingueta da porca ocupa pelo menos 2/3 da profundidade da ranhura.

Trava química

Aplique trava química nas roscas do parafuso para evitar o afrouxamento.É aplicado nos pontos rotativos da parte interna do motor, os pontos que se afrouxarem podem entrar em contato com as peças giratórias: parafuso da bobina do estator, parafusos do limitador de rolamento, parafuso do posicionador de marchas, parafusos Allen do amortecedor dianteiro, parafusos do disco de freio, etc.

Precaução

Aplicação de trava química aumenta o torque de desaperto. Tenha cuidado para não danificar o parafuso durante a remoção.Antes de aplicar a trava química, limpe completamente o óleo ou resíduos de adesivo que permanecem nas roscas e seque-as completamente.

Aplicação excessiva de trava química pode danificar a rosca ou quebrar o parafuso durante a remoção. Aplicando uma pequena quantidade na extremidade das roscas do parafuso, a trava química será distribuída totalmente ao rosquear o parafuso.