Medidas de proteção contra quedas de altura

NR 35 - Trabalho em Altura

1 Recomendação técnica de procedimentos

Objetivo

Esta Recomendação Técnica de Procedimentos - RTP Nº 1 especifica disposições técnicas relativas a proteção contra riscos de queda de pessoas e materiais na indústria da construção.

Princípio básico de segurança adotado

Onde houver risco de queda é necessária a instalação da proteção coletiva correspondente.

Prioridade na implementação das medidas

A proteção coletiva deve priorizar a adoção de medidas que objetivem evitar a ocorrência de quedas. Não sendo tal possível, e somente nessa hipótese, deve-se utilizar recursos de limitação de quedas.

Sistema de proteção coletiva para evitar quedas

Esse sistema destina-se a promover a proteção contra riscos de queda de pessoas, materiais e ferramentas. Deve se constituir de uma proteção sólida, de material rígido e resistente, convenientemente fixada e instalada nos pontos de plataformas, áreas de trabalho e de circulação onde haja risco de queda de pessoas e materiais. Como elementos constitutivos o GcR (Figuras: 1, 2, 3, 4, 5, 6 e 7) tem:

• travessão superior (barrote, listão, parapeito) - compõe-se de barra, sem aspereza, destinada a proporcionar proteção como anteparo rígido. Será instalado a uma altura de l,20 m (um metro e vinte centímetros) referida do eixo da peça ao piso de trabalho. Deve ter resistência mínima a esforços concentrados de l50 kgf/ metro linear (cento e cinqüenta quilogramas-força por metro linear), no centro (meio) da estrutura;

• travessão intermediário - compõe-se de elemento situado entre o rodapé e o travessão superior, a uma altura de 0,70m (setenta centímetros) referida do eixo da peça ao piso de trabalho de mesmas características e resistência do travessão superior;

• rodapé - compõe-se de elemento apoiado sobre o piso de trabalho que objetiva impedir a queda de objetos. Será formado por peça plana e resistente com altura mínima de 0,20m (vinte centímetros) de mesmas características e resistência dos travessões;

• montante - compõe-se de elemento vertical que permite ancorar o GcR à estrutura das superfícies de trabalho ou de circulação (com aberturas ou vãos a proteger) e no qual se fixam os travessões e rodapé de mesmas características e resistência dos travessões.

• O elemento horizontal superior é constituído por cabo de aço ou tubo metálico, instalado a uma altura de 1,20m (um metro e vinte centímetros) do piso ou plataforma de trabalho, funcionando como parapeito.

• Sendo usado cabo de aço, este deve estar tracionado por meio de dispositivos tensores.

• O elemento inferior constituído de cabo de aço ou tubo metálico é instalado junto ao piso, fixado no espaçamento uniforme de 0,50m (cinqüenta centímetros), de forma que não haja abertura entre o piso e o elemento inferior superior a 0,03m (três centímetros), funcionando também como estrutura de fixação da tela.

• A fixação do sistema é feita na estrutura definitiva do edifício em construção por meio de dispositivos que garantam resistência a esforços de impacto transversais de 150 kgf/metro linear (cento e cinqüenta quilogramas-força por metro linear).

• A tela tem amarração contínua e uniforme nos elementos superior e inferior, cobrindo todo o vão e na sua extremidade e fixada (amarrada) em toda a dimensão vertical.

• Em qualquer ponto do sistema (elementos superior e inferior, tela ou rede e fixação) deve haver uma resistência mínima a esforços horizontais de 150 kgf (cento e cinqüenta quilogramas-força) (Figura 13).

Proteção de Aberturas no Piso por Cercados, Barreiras com Cancelas ou Similares

As aberturas no piso, mesmo quando utilizadas para o transporte de materiais e equipamentos, devem ser protegidas por cercado rígido composto de travessa intermediária, rodapé e montantes de características e sistema construtivo idêntico ao GcR. No ponto de entrada e saída de material o sistema de fechamento deve ser do tipo cancela ou similar (Figura 14)

2 Proteção de abertura no piso por cercados

Na hipótese de não ser possível o transporte vertical com o cercado fixo, pode-se utilizar o cercado removível devidamente sinalizado.

Os vãos de acesso às caixas dos elevadores devem ter fechamento vertical provisório, através de sistema GcR ou de painel inteiriço de no mínimo 1,20m (um metro e vinte centímetros) de altura, constituído de material resistente, fixado à estrutura da edificação, até a colocação definitiva das portas (Figuras 16, 17 e 18).

Esses dispositivos de proteção são de instalação obrigatória em todos os níveis das edificação a serem servidos por elevadores. Toda periferia da construção deve ser dotada de dispositivos de proteção contra quedas desde o início dos serviços de concretagem da primeira laje. Um meio tecnicamente recomendado para a viabilização dessa proteção periférica é se prever, desde a colocação das formas de lajes e pilares inferiores, suportes de fixação para montantes de sistema de guarda-corpo e rodapé a ser instalado no piso de trabalho superior (Figuras 1, 2, 3, 4 e 5). A proteção periférica provisória somente pode ser retirada para se executar a vedação definitiva de todo o perímetro do pavimento.

Dispositivos Protetores de Plano Horizontal

Todas as aberturas nas lajes ou pisos, não utilizadas para transporte vertical de materiais e equipamentos, devem ser dotadas de proteção sólida, na forma de fechamento provisório fixo (assoalho com encaixe), de maneira a evitar seu deslizamento ou por sistema GcR (Figuras 19, 20, 21 e 22).

A proteção deve ser inteiriça, sem apresentar frestas ou falhas, fixada em peças de perfil metálico ou de madeira, projetada e instalada de forma a impedir a queda de materiais, ferramentas e/ou outros objetos. Deve resistir a um esforço vertical de no mínimo 150 Kgf/metro linear (cento e cinqüenta quilogramas-força por metro linear), no centro da estrutura, quando se destinar, exclusivamente, à proteção de quedas de pessoas. Quando objetivar a proteção de áreas de circulação de veículos (carrinhos) ou de cargas com peso superior ao do trabalhador, a estrutura deve ser projetada e instalada em função dos respectivos esforços a que será submetida. Elementos diversos de instalações prediais (caixas de esgoto, água pluviais e outros), dos quais derivem aberturas no piso devem ter fechamento provisório (tampa) sempre que forem interrompidos os serviços no seu interior. Os poços de elevadores devem ser mantidos assoalhados:

Em todo o perímetro e nas proximidades de vãos e/ou aberturas das superfícies de trabalho da edificação devem ser previstos e instalados elementos de fixação ou apoio para cabo-guia/cinto de segurança, a serem utilizados em atividades junto ou nessas áreas expostas de trabalho, possibilitando aos trabalhadores, dessa forma, o alcance seguro de todos os pontos da superfície de trabalho Esse tipo de elemento de fixação ou apoio para cabo-guia/cinto de segurança, deve permanecer instalado na estrutura depois de concluída, para uso em obras de reparos e reformas.

Dispositivos de Proteção para Limitação de Quedas

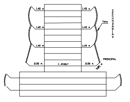
Em todo o perímetro de construção de edifícios com mais de 4 (quatro) pavimentos ou altura equivalente é obrigatória a instalação de uma Plataforma Principal de Proteção e de Plataformas Secundárias dependendo do número de pavimentos ou altura da edificação. Estas plataformas devem ser rígidas e dimensionadas de modo a resistir aos possíveis impactos a qual estarão sujeitas. A Plataforma Principal de Proteção deve ser instalada, na altura da primeira laje, em balanço ou apoiada, a critério de construtor. A Plataforma Principal de Proteção deve ter no mínimo 2,50 m (dois metros e cinqüenta centímetros) de projeção horizontal da face externa da construção e um complemento de 0,80 m (oitenta centímetros) de extensão, a 45º (quarenta e cinco graus) da sua extremidade (Figura 25).

A instalação da Plataforma Principal de Proteção deve ser após a concretagem da laje na qual será apoiada. Recomenda-se, para tanto, que na própria laje concretada sejam previstos e instalados meios de fixação ou apoio para as vigas, perfis metálicos ou equivalentes, que servirão para a Plataforma Principal de Proteção (ganchos, forquilhas e/ou similares). A Plataforma Principal de Proteção só poderá ser retirada, quando o revestimento externo de edificação acima dela estiver concluído. Devem ser instaladas, igualmente, Plataformas Secundarias de Proteção, em balanço, de 3 (três) em 3 (três) lajes, contadas a partir da Plataforma Principal de Proteção (Figura 25). As Plataformas Secundárias de Proteção devem ter no mínimo 1,40 m (um metro e quarenta centímetros) de balanço e um complemento de 0,80 m (oitenta centímetros) de extensão, a 45º (quarenta e cinco graus) da sua extremidade. Toda Plataforma Secundária de Proteção deve ser instalada da mesma forma que a Plataforma Principal de Proteção e somente retirada quando a vedação da periferia até a plataforma imediatamente superior estiver concluída.

Todo o perímetro da construção de edifícios, entre as Plataformas de Proteção, deve ser fechado com tela de resistência de 150 Kgf/metro linear, com malha de abertura de intervalo entre 20mm (vinte milímetros) e 40mm (quarenta milímetros) ou material de resistência e durabilidade equivalentes fixada nas extremidades dos complementos das plataformas. Nas construções em que os pavimentos mais altos forem recuados, a Plataforma Principal de Proteção deve ser obrigatoriamente instalada na primeira laje do corpo recuado e as Plataformas Secundárias de Proteção a partir da quarta laje.

No corpo principal devem ser instaladas Plataformas Terciárias de Proteção na altura da primeira laje e quantas mais forem necessárias, de duas em duas lajes, a partir da primeira plataforma (Figura 26).

Na construção de edifícios com pavimentos no subsolo, devem ser instaladas ainda Plataformas Terciárias de Proteção, de 2 (duas) em 2 (duas) lajes, contadas em direção ao subsolo e a partir da laje referente a instalação da plataforma principal de proteção. Essas plataformas devem ter, no mínimo, 2,20m (dois metros e vinte centímetros) de projeção horizontal da face externa da construção e um complemento de 0,80m (oitenta centímetros) de extensão, com inclinação de 45º (quarenta e cinco graus) a partir de sua extremidade.

Devem ser observados intervalos máximos de 2,00 m (dois metros) para instalação dos suportes das Plataformas Secundárias de Proteção, salvo quando o projeto de execução autorizar a adoção de espaçamentos maiores. No caso de suportes metálicos, só poderão ser utilizados os elementos convenientemente dimensionados e cujo estado de conservação não venha a comprometer a segurança da estrutura das Plataformas de Proteção. Portanto peças empenadas, oxidadas ou com falhas de soldagem, serão necessariamente rejeitadas. É indispensável a realização de inspeções freqüentes dos diversos elementos e componentes dos suportes metálicos . O estrado das Plataformas de Proteção deverá ser contínuo, sem apresentar vãos, com execução da passagem de prumadas, que deverá ser realizada através dos recortes minimamente necessários na forração.

Trechos de Plataformas de Proteção, retirados temporariamente para transporte vertical indispensável, devem ser recolocados logo após concluído o transporte As plataformas de proteção devem ser mantidas sem sobrecarga, que prejudiquem a estabilidade de sua estrutura, devendo o início de sua desmontagem ser precedido da retirada de todo os materiais ou detritos nela acumulados. A tela deverá ser de material de resistência de 150 Kgf/metro linear, com malha de abertura com intervalo de 20 mm e 40 mm ou de material de resistência e durabilidade equivalentes. Não deve ser permitida a retirada, ainda que parcial, dos materiais utilizados nas proteções.

O conjunto formado pelas Plataformas de Proteção pode ser substituído por andaimes fachadeiros, instalando-se tela em toda a sua face externa. A desmontagem das Plataformas deve ser feita ordenadamente, de preferência de cima para baixo, podendo ser realizada no sentido inverso, caso seja utilizado andaime suspenso mecânico pesado ou do tipo fachadeiro.

3 As medidas de proteção contra quedas de altura na construção civil

As quedas de alturas elevadas são consideradas uns dos principais acidentes que ocorrem na construção civil. De acordo com pesquisa realizada pelo Ministério do Trabalho e Emprego (MTE), 40% dos acidentes de trabalho estão relacionadas a quedas sofridas por trabalhadores que atuam em altura. Visando acabar com esse problema e garantir as medidas de proteção necessárias contra quedas na construção civil, o MTE desenvolveu a Norma Regulamentadora de número 18 (NR 18), que tem como principal objetivo proteger os trabalhadores da indústria da construção.

Esta é uma das principais normas regulamentadoras para trabalho em altura existentes, destacando-se como a responsável por especificar as normas para utilização de andaimes, bem como outras medidas preventivas. Podemos ressaltar como medida preventiva, a utilização de Equipamentos de Proteção Individual (EPI) para garantir a segurança e preservação da integridade física dos colaboradores. Os principais EPIs para quem trabalha em altura dentro da construção civil são: cinto de segurança limitador de espaço, capacete de proteção e trava quedas. Para entender melhor essa norma regulamentadora, confira abaixo algumas obrigatoriedades referentes às medidas de proteção contra quedas de altura.

Medidas de proteção contra quedas de altura construção civil

• Instalação obrigatória de itens de proteção coletiva nos locais onde houver risco de queda ou projeção de materiais;

• Todas as edificações com mais de quatro pavimentos ou altura equivalente, precisam ter obrigatoriamente uma plataforma principal de proteção na altura da primeira laje que esteja pelo menos a um pé-direito acima do nível do terreno;

• Os vãos de acesso às caixas dos elevadores precisam ter um fechamento provisório de pelo menos 1,20 metros de altura, composto de material resistente e fixado a estrutura, até a colocação das portas definitivas;

• Como forma alternativa a utilização das plataformas secundárias de proteção, pode ser instalado o Sistema Limitador de Queda de Altura, com a utilização de redes de segurança;

• Devem ser colocadas rampas e passarelas provisórias, e elas devem ser mantidas em perfeitas condições de uso e segurança para transição dos trabalhadores;

• É estritamente proibida a utilização de escada de mão junto a redes e equipamentos elétricos;

• É proibido colocar a escada de mão próxima de portas ou áreas de circulação, onde há risco de queda de objetos e materiais ou próximo de aberturas e vãos.

4 NR 18 e suas diretrizes

A Norma Regulamentadora 18 (NR 18) do Ministério do Trabalho e Emprego (MTE) é uma das mais importantes da construção civil. Mas você sabe o que ela diz sobre proteções e medidas de segurança contra queda em altura? O assunto é tratado em um dos tópicos da NR 18. Abaixo, falaremos um pouco mais das diretrizes estabelecidas por ela e de seus respectivos objetivos em relação ao tema na implementação de medidas de controle e sistemas preventivos de segurança.

NR 18 e suas diretrizes para evitar quedas de altura

Essa norma regulamentadora traz uma série de obrigatoriedades relativas às medidas de proteção contra quedas de altura. Entre elas, podemos citar: A instalação de proteção coletiva onde houver risco de queda de trabalhadores ou de projeção de materiais; Na periferia da edificação, a instalação de proteção contra queda de trabalhadores e projeção de materiais a partir do início dos serviços necessários à concretagem da primeira laje; A instalação, em todo perímetro da construção de edifícios com mais de 4 (quatro) pavimentos ou altura equivalente, de uma plataforma principal de proteção na altura da primeira laje que esteja, no mínimo, um pé-direito acima do nível do terreno.

Outros dispositivos de segurança

Além dessas obrigatoriedades, entre tantas outras, a NR 18 discorre sobre outros itens de segurança essenciais na construção civil. Abaixo, falamos de alguns deles:

• O perímetro da construção de edifícios deve ser fechado com tela (constituída de uma barreira protetora contra projeção de materiais e ferramentas), a partir da plataforma principal de proteção;

• O Sistema Limitador de Quedas de Altura deve ser composto, no mínimo, por rede de segurança; cordas de sustentação ou de amarração e perimétrica da rede; e conjunto de sustentação, fixação e ancoragem e acessórios de rede;

• As fases de montagem, deslocamento e desmontagem do Sistema Limitador de Queda de Altura devem ser supervisionadas pelo responsável técnico pela execução da obra.

É importante, para trabalhos em altura, dar preferência aos equipamentos de proteção individual (EPIs) e equipamentos de proteção coletiva (EPCs) mais resistentes. Invista em soluções certificadas e adequadas para a realização da atividade que não impactam negativamente na produtividade da obra.