Instalações prediais de água quente I

Encanador e Bombeiro Hidráulico

1 Instalações prediais de água quente

Introdução

O fornecimento de água quente representa uma necessidade nas instalações de determinados aparelhos e equipamentos ou uma conveniência para melhorar as condições de conforto e higiene em aparelhos sanitários de uso comum. As presentes instruções serão baseada na norma pertinente: NBR 7198:1993 – Projeto e execução de instalações prediais de água quente.

A temperatura com que a água deve ser fornecida depende do uso a que se destina.Quando uma mesma instalação deve fornecer água em temperaturas diferentes nos diversos pontos de consumo, faz-se o resfriamento com um aparelho misturador de água fria ou o aquecimento com um aquecedor individual no local de utilização.

Tabela: 1.1 Temperaturas recomendadas.

Terminologia

Aquecedor: aparelho destinado a aquecer a água.

Aquecedor de acumulação: aparelho que se compõe de um reservatório dentro do qual a água acumulada é aquecida.

Aquecedor instantâneo: aparelho que não exige reservatório, aquecendo a água quando de sua passagem por ele.

Dispositivo anti-retorno: dispositivo destinado a impedir o retorno de fluídos para a rede de distribuição.

Dispositivo de pressurização: dispositivo destinado a manter sob pressão a rede de distribuição predial, composto de tubulação, reservatórios, equipamentos e instalação elevatória.

Engate:tubulação flexível ou que permite ser curvada, utilizada externamente para conectar determinados aparelhos sanitários – geralmente bidês e lavatórios – aos respectivos pontos de utilização.

Isolamento térmico:dispositivo utilizado para reduzir as perdas de calor ao longo da tubulação condutora de água quente.Misturador:

Misturador:dispositivo que mistura água quente e fria.

Reservatório de água quente:reservatório destinado a acumular água quente a ser distribuída.

Respiro:dispositivo destinado a permitir a saída de ar e/ou vapor de uma instalação.

Tubulação de retorno:Tubulação que conduz a água quente de volta ao reservatório de água quente ou aquecedor.

Válvula de segurança de temperatura:dispositivo destinado a evitar que a temperatura da água quente ultrapasse determinado valor.

Dilatação térmica:variação nas dimensões de uma tubulação devida às alterações de temperatura.

Junta de expansão:dispositivo destinado a absorver as dilatações lineares das tubulações.

Dreno:dispositivo destinado ao esvaziamento de recipiente ou tubulação, para fins de manutenção ou limpeza.

Dispositivo de recirculação:dispositivo destinado a manter a água quente em circulação, a fim de equalizar sua temperatura.

Sistema de aquecimento

O abastecimento de água quente é feito em encanamentos separados dos de água fria e pode ser de três tipos.

Sistema individual ou local

Nesta modalidade se produz água quente para um único aparelho ou no máximo, para aparelhos do mesmo ambiente. São aparelhos localizados no próprio banheiro ou na área de serviço. Como exemplo pode-se citar o chuveiro elétrico.

Para este sistema não existe a necessidade de uma rede de tubulações para água quente, visto que os aparelhos estão geralmente nos ambientes em que são utilizados. Os aquecedores são instantâneos (de passagem). Este sistema é mais utilizado em edificações de baixa renda, pois o investimento inicial é baixo. A instalação da rede de água quente aumenta o custo da edificação.

Sistema central privado (domiciliar)

Neste sistema se produz água quente para todos os aparelhos de uma unidade residencial (casa ou apartamento). Esta modalidade se torna vantajosa em prédios de apartamentos onde exista dificuldade de rateio na conta de energia e manutenção, que será de responsabilidade de cada condômino.O sistema central privado utiliza basicamente os seguintes tipos de fontes de energia: eletricidade, óleo combustível, gás combustível, lenha e energia solar.

Os aparelhos de aquecimento para este sistema podem ser instantâneos (ou de passagem), onde a água vai sendo aquecida à medida que passa pelo aparelho (sem reservação) ou de acumulação, onde a água é reservada e aquecida para posterior uso.

Para este sistema de aquecimento, deve haver uma prumada de água fria exclusiva, com dispositivo que evite o retorno da água do interior do aquecedor em direção à coluna de água, tal como o sifão térmico. Os aquecedores deverão ainda contar com dispositivo para exaustão dos gases e os ambientes onde os mesmos serão instalados devem obedecer às normas quanto à adequação de ambientes.A Figura abaixo ilustra o sistema central privado.

A distribuição de água quente para este se sistema constitui basicamente de ramais que conduzem a água do aparelho de aquecimento até os pontos de utilização. Este caminhamento deverá ser o mais curto possível para se evitar perda de temperatura na tubulação ao longo do trecho.

A escolha deste sistema deve levar em conta os fatores financeiros, visto que a instalação da rede demanda um certo investimento inicial. A adequação dos ambientes também deverá ser levada em consideração, visto que os ambientes necessitam de ventilação permanente e espaço físico adequado, principalmente no caso de se adotar aquecedores de acumulação, o que demanda espaço para sua instalação.

Em certos casos, a falta de espaço remete à instalação de aquecedores de passagem. Outro fator importante na escolha de aquecedores de passagem ou acumulação é o caminhamento da tubulação. Trechos muito longos proporcionam perdas de temperatura, o que limita a utilização de um único aquecedor instantâneo. A alimentação de mais de um ponto de utilização com um único aquecedor de passagem também pode ser deficiente. Um aquecedor de acumulação, nestes casos, proporcionaria mais conforto ao usuário.

Figura1.1: Esquema de alimentação de água fria para sistema central privado de uma residência, com aquecedor Junker de baixa pressão

Sistema central coletivo

Neste sistema, se produz água quente para todos os parelhos ou unidades da edificação. O aparelho de aquecimento é, normalmente situado no térreo ou subsolo, para facilitar a manutenção e o abastecimento de combustível. O abastecimento de água neste caso também é feito através de uma prumada exclusiva. Estes aparelhos (comumente denominados de caldeiras) podem apresentar dispositivos para a troca do energético alimentador (sistema de backup); assim tem-se caldeira a gás e eletricidade num mesmo aparelho, proporcionando a alternância da fonte de energia.

Assim como nos aquecedores de acumulação para central privada, o reservatório pode estar situado conjuntamente com o gerador ou não, dependendo do espaço físico destinado ao aparelho. Assim, pode-se ter o gerador no pavimento térreo ou subsolo e o reservatório na parte superior da edificação (cobertura). A Figura 1.2 ilustra o sistema central coletivo. As dimensões variam conforme o volume contido e alguns fabricantes trazem recomendações quanto às dimensões das casas de caldeiras para a instalação das mesmas.

A distribuição neste sistema pode ser ascendente, descendente ou mista. Na distribuição ascendente (Figura 1.3),tem-se um barrilete inferior que alimenta as colunas.Na distribuição descendente (Figura 1.4),as colunas são alimentadas por um barrilete superior.Na distribuição mista (Figura 1.5),existem dois barriletes,um superior e outro inferior.

É recomendada quando não há rateio na conta, como em hotéis, motéis, hospitais, clubes, indústrias, etc. É recomendado também quando se dispõe de pouco espaço físico no interior do apartamento, ou então, em situações onde não se deseja a instalação de aparelhos de aquecimento no apartamento.Vale ressaltar que neste sistema a água é oferecida em maiores vazões e o correto dimensionamento do sistema proporciona quantidades de água quente adequadas em todos os pontos de utilização. Entretanto, as perdas de calor no reservatório são maiores do que as perdas verificadas num aquecedor utilizado no sistema central privado.

Figura 1.2 Sistema central coletivo – caldeira a gás combustível

Figura 1.3  Sistema central coletivo – distribuição ascendente

Figura 1.4 Sistema central coletivo – distribuição descendente

Figura 1.5 - Sistema central coletivo – distribuição mista

2 Tipos de aquecedores

Para o aquecimento da água na edificação dispõe-se basicamente de três fontes:

a) Energia solar.
b) Combustão de sólidos (madeira, carvão, etc), líquidos (óleo, querosene, álcool, etc) ou gases (gás natural, GLP, etc);
c) Eletricidade; 

Na prática, estas fontes podem ser associadas, sendo uma a fonte principal e a outra a fonte suporte (o que comumente é chamado de backup). Numa eventual falta ou deficiência da fonte principal a fonte suporte a substitui ou complementa o fornecimento. É o caso da energia solar que tem como suporte a eletricidade ou GLP, para longos períodos nublados.

Aquecimento com energia solar

O Sol envia uma quantidade fabulosa de energia à Terra. Anualmente chegam 1018 kWh de energia enviados pelo Sol. Isto equivale a 1013 toneladas de carvão, que é a reserva total de carvão disponível. A humanidade consome aproximadamente 1014 kWh por ano, ou seja, 1/10000 da energia que o Sol envia. O Sol envia por hora a energia que a humanidade consome por ano.

A utilização de energia solar no aquecimento de água apresenta uma importância cada vez maior devido ao elevado custo das outras formas de energia. O aproveitamento da energia solar no aquecimento de água exige um investimento inicial elevado que normalmente é compensado pela gratuidade da energia solar.

Vantagens:

  • a) Não é poluidora.
  • b) É auto-suficiente.
  • c) É completamente silenciosa.
  • d) É uma fonte alternativa de energia.
  • e) Geralmente está disponível no local do consumo
  • f) Um bom aquecedor consegue elevar a temperatura da água acima de 80°C. 

Desvantagens

  • a) Encontra limitações do ponto de vista arquitetônico e também de espaço nas coberturas das edificações.
  • b) Apresenta-se na forma disseminada, não concentrada, portanto de difícil captação.
  • c) Apresenta disponibilidade descontínua (dia / noite, inverno / verão).
  • d) Apresenta variações casuais (céu nublado, chuva). 
  • e) Pode haver necessidade de um aquecedor auxiliar que utilize energia convencional para suprir os períodos ou momentos de carência.

O equacionamento do problema deveria ser a utilização de energia solar como aquecimento normal da água onde e sempre que possível, e o aquecimento elétrico ou com combustível auxiliar, e não o inverso.

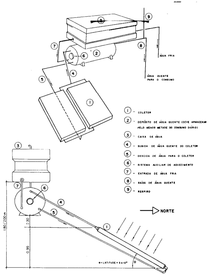
O sistema de geração de água quente à base de energia solar se compõe de (Figuras 1.6 e 1.7)

  • a) Coletores de energia (placas coletoras), que absorvem energia dos raios solares aquecendo-se e transferindo o calor para a água contida em um conjunto de tubos que constituem uma espécie de serpentina.
  • b) Acumulador de energia (reservatório de água quente com revestimento térmico, boiler, storage).
  • c) Rede de distribuição (tubulações e acessórios).
  • d) Bomba de circulação, quando a circulação por convecção for suficiente para alcançar a temperatura desejada. 

Figura 1.6:Instalação de um coletor solar em residência.

Figura 1.7:Esquema típico de instalação de aquecimento solar.

Os coletores devem ser montados de acordo com as seguintes prescrições (Figura 1.8)|:

a) Orientação: deverá ser orientado para o norte verdadeiro.
b) Inclinação: a inclinação com a horizontal deverá ser igual à latitude do local mais 5 a 10º.
c) Nível: para que ocorra a circulação normal (fluxo ascendente de água com temperatura mais elevada), deverá haver um desnível de 60 cm ou mais entre a saída do coletor e o
fundo do reservatório de água quente. 

Figura 1.8:Componentes de uma célula de coletor solar.

Cobertura transparente:constituída de uma ou mais placas, em geral, de vidro plano.

Placa absorvedora:normalmente metálica e pintada de preto fosco (ou de material seletivo de radiação), apresentando, em geral, uma grelha de tubos de cobre.

Isolamento térmico:comumente uma camada de lã de vidro colocada no fundo e nas laterais do coletor a fim de reduzir ao máximo as perdas de calor

Caixa do coletor​​​​​​​:elemento estrutural freqüentemente de chapas/perfis de alumínio, com função de abrigar e proteger os componentes internos contra as intempéries.

 

3 Tipos de instalação de aquecimento solar:

Circulação Natural ou Termossifão:é a forma de instalação mais utilizada em residências. A circulação da água acontece apenas pela diferença de densidade da água quente em relação à água fria. A água quente naturalmente menos densa tende a “subir” formando assim um circuito de circulação de água entre o boiler e as placas coletoras sem a necessidade de bombeamento.

Mais importante ainda do que o armazenador estar próximo aos pontos de consumo, é o conjunto de placas coletoras estar próximo a ele. Além do boiler trabalhar "afogado" pela caixa de água fria, o conjunto de placas coletoras deverá ser instalado, em nível vertical, abaixo do boiler. A distância horizontal entre eles também não pode ser muito grande para evitar perdas de carga na tubulação que possam impossibilitar o bom funcionamento do sistema. Por este motivo, o número de curvas e conexões deve ser reduzido ao mínimo.

Figura 1.9 Circulação natural ( termossifão )

Circulação natural ( termossifão )

Este tipo de instalação é geralmente utilizado em instalações de grande porte ou quando os desníveis e distâncias necessárias entre coletores solares e boiler não puderem ser respeitados. Neste caso, o conjunto de placas poderá ficar até mesmo acima do reservatório de água fria. Uma motobomba fará com que a circulação da água se proceda normalmente. Juntamente com a motobomba, será necessária a instalação de um termostato diferencial de temperatura, o qual tem por função ligar e desligar a motobomba sempre que a temperatura do coletor solar estiver mais aquecida que a temperatura da água no interior do boiler.

Figura 1.10 Circulação forçada ou bombeada

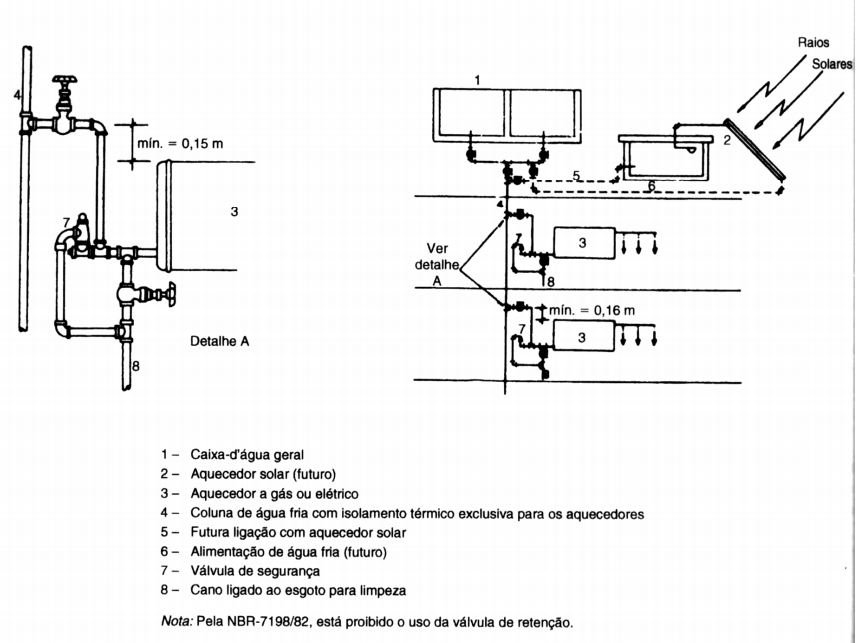
A utilização de coletores solares em edifícios residenciais com a finalidade de assitir a um sistema convencional de aquecimento de água (sistema de pré-aquecimento da água), pode ser realizada de maneira relativamente simples. A figura 3.11. ilustra uma instalação de água, em edifício, com aquecimento elétrico ou à gás e previsão para o pré-aquecimento por energia solar. Essa medida pode resultar em uma economia de combustível ou eletricidade de até 50%.

Figura 1.11 Esquema de uma instalação hidráulica de edifício, com previsão para utilização de aquecedores solares

A área de coletores necessária é calculada pela Equação:

onde: A = área dos coletores (m²); Q = calor necessário (kcal / dia); I = intensidade de radiação solar (kWh/m² ou kcal x h/m²); R = rendimento dos coletores (geralmente 50%).

Radiação solar incidente:

I= Ri (0,24 + 0,58p) 

onde: Ri = radiação solar recebida no topo da atmosfera no 15º dia do mês considerado, em função da latitude do lugar; p = relação entre o número de horas diárias de insolação e a
duração máxima da insolação no mês considerado.

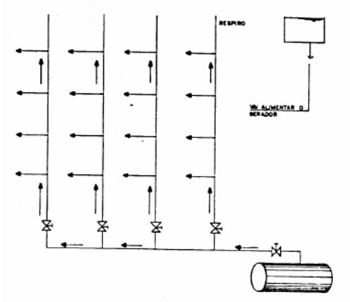
Ligação dos coletores:

Há três maneiras de se ligarem os coletores:

a) Ligação em paralelo

Nesta ligação, a circulação normal funciona bem. Todos os coletores funcionam na mesma temperatura e têm a mesma eficiência. Conforme a Figura 3-13, considerando-se C1, C2 e C3 os coletores; T1, T2 e T3 as temperaturas dos coletores e E1, E2 e E3 as eficiências dos coletores, se verifica que:

T1 = T2 = T3 e E1 = E2 = E3.

Usando-se mais coletores, aumenta-se o volume de água quente mas não aumenta a temperatura.

Figura 1.13:Coletores solares ligados em paralelo

b) Ligação em série​​​​​​

Nesta ligação a circulação deve ser forçada. Para isto utiliza-se bombas de circulação ou pressurizadores, que apresentam potências variadas, a depender do tamanho da instalação. Para residências e pequenas instalações, esta potência geralmente fica entre 1/6 CV e 1/2 CV.

Conforme a Figura 1.14 considerando-se C1, C2 e C3 os coletores; T1, T2 e T3 as temperaturas dos coletores e E1, E2 e E3 as eficiências dos coletores, se verifica que:

T1 < T2 < T3 e E1 >E2 > E3.

 

A água passa em todos os coletores, e em cada coletor há um ganho de temperatura.Usando mais coletores, aumenta a temperatura da água, porém não aumenta o volume.

Figura 1.14 Coletores solares ligados em série

c) Ligação em série/paralelo

É uma combinação da ligações anteriores e a circulação deve ser forçada. Utiliza-se esta modalidade quando se deseja aumentar quanto o volume quanto a temperatura da água. A Figura 1.15 apresenta o esquema típico de instalação deste tipo de ligação.

Figura 1.15 :Ligação série / paralelo dos coletores solares