Técnicas De Desmontagem De Elementos Mecânicos

Mecânica e Manutenção de Máquinas Industriais

1 Técnicas de desmontagem de elementos mecânicos:

Desmontagem:

Em geral, uma máquina ou equipamento industrial instalado corretamente, funcionando nas condições especificadas pelo fabricante e recebendo cuidados periódicos do serviço de manutenção preventiva é capaz de trabalhar, sem problemas, por muitos anos. Entretanto, quando alguns dos componentes falha, seja por descuido na operação, seja por deficiência na manutenção, é necessário identificar o defeito e eliminar suas causas.

No caso de máquinas mais simples, é relativamente fácil identificar o problema e providenciar sua eliminação, porém, quando se trata de máquinas mais complexas, a identificação do problema e sua remoção exigem, do mecânico de manutenção, a adoção de procedimentos sequenciais bem distintos. O primeiro fato a ser considerado é que não se deve demonstrar uma máquina antes da análise dos problemas.

A análise, como já foi visto em aulas anteriores, deve ser baseada no relatório do observador, no exame da ficha de manutenção da máquina e na realização de testes envolvendo os instrumentos de controle. Salientemos, novamente, que a desmontagem completa de uma máquina deve ser evitada sempre que possível, porque demanda gasto de tempo com a conseqüente elevação dos custos, uma vez que a máquina encontra-se indisponível para a produção. Agora, se a desmontagem precisar ser feita, há uma sequência de procedimentos a ser observada:

  • Desligar os circuitos elétricos;
  • Remover as peças externas, feitas de plástico, borracha ou couro;
  • Limpar a máquina;
  • Drenar os fluidos;
  • Remover os circuitos elétricos;
  • Remover alavancas, mangueiras, tubulações, cabos;
  • Calçar os componentes pesados.

Essa sequência de procedimentos fundamenta-se nas seguintes razões:

a) É preciso desligar, antes de tudo, os circuitos elétricos para evitar acidentes. Para tanto, basta desligar a fonte de alimentação elétrica ou, dependendo do sistema, remover os fusíveis.

b) A remoção das peças externas consiste na retirada das proteções de guias, barramentos e raspadores de óleo. Essa remoção é necessária para facilitar o trabalho de desmonte.

c) A limpeza preliminar da máquina evita interferências das sujeiras ou resíduos que poderiam contaminar componentes importantes e delicados.

d) É necessário drenar reservatórios de óleos lubrificantes e refrigerantes para evitar possíveis acidentes e o espalhamento desses óleos no chão ou na bancada de trabalho.

e) Os circuitos elétricos devem ser removidos para facilitar a desmontagem e limpeza do setor. Após a remoção, devem ser revistos pelo setor de manutenção elétrica.

f) Os conjuntos mecânicos pesados devem ser calçados para evitar o desequilíbrio e a queda de seus componentes, o que previne acidentes e danos às peças.

Obedecida a seqüência desses procedimentos, o operador deverá continuar com a desmontagem da máquina, efetuando as seguintes operações:

1- Colocar desoxidantes nos parafusos, pouco antes de removê-los. Os desoxidantes atuam sobre a ferrugem dos parafusos, facilitando a retirada deles. Se a ação dos desoxidantes não for eficiente, pode-se aquecer os parafusos com a chama de um aparelho de solda oxiacetilênica.

2- Para desapertar os parafusos, a seqüência é a mesma que a adotada para os apertos. A tabela a seguir mostra a seqüência de apertos. Conhecendo a seqüência de apertos, sabe-se a sequência dos desapertos.

É importante obedecer à orientação da tabela para que o aperto dos elementos de fixação seja adequado ao esforço a que eles podem ser submetidos. Um aperto além do limite pode causar deformação e desalinhamento no conjunto de peças.

3- Identificar a posição do componente da máquina antes da sua remoção. Assim, não haverá problema de posicionamento.

4- Remover e colocar as peças na bancada, mantendo-as na posição correta de funcionamento. Isto facilita a montagem e, se for caso, ajuda na confecção de croquis.

5- Lavar as peças no lavador, usando querosene. Essa limpeza permite identificar defeitos ou falhas nas peças como trincas, desgastes etc.

A lavagem de peças deve ser feita com o auxílio de uma máquina de lavar peças que é encontrada no comércio. A seqüência de operações para a lavagem de peças é a seguinte:

a) Colocar as peças dentro da máquina de lavar, contendo querosene filtrado e desodorizado. Não utilizar óleo diesel, gasolina, thíner ou álcool automotivo, pois são substâncias que em contato com a pele podem provocar irritações.

b) Limpar as peças – dentro da máquina de lavar – com pincel de cerdas duras para remover as partículas e crostas mais espessas.

c) Continuar lavando as peças com querosene para retirar os resíduos finais de partículas.

d) Retirar as peças de dentro da máquina e deixar o excesso de querosene aderido escorrer por alguns minutos. Esse excesso deve ser recolhido dentro da própria máquina de lavar.

Durante a lavagem de peças, as seguintes medidas de segurança deverão ser observadas:

  • Utilizar óculos de segurança;
  • Manter o querosene sempre limpo e filtrado;
  • Decantar o querosene, uma vez por semana, se as lavagens forem freqüentes;
  • Manter a máquina de lavar em ótimo estado de conservação;
  • Limpar o piso e outros locais onde o querosene tiver respingado;
  • Lavar as mãos e os braços, após o término das lavagens, para evitar problemas na pele;
  • Manter as roupas limpas e usar, sempre, calçados adequados.

e) Separar as peças lavadas em lotes, de acordo com o estado em que se apresentam, ou seja:

  • Lote 1 – Peças perfeitas e, portanto, reaproveitáveis.
  • Lote 2 – Peças que necessitam de recondicionamento.
  • Lote 3 – Peças danificadas que devem ser substituídas.
  • Lote 4 – Peças a serem examinadas no laboratório.

Secagem rápida das peças:

Usa-se ar comprimido para secar as peças com rapidez. Nesse caso, deve-se proceder da seguinte forma:

  • Regular o manômetro ao redor de 4 bar, que corresponde à pressão ideal para a secagem;
  • Jatear (soprar) a peça de modo que os jatos de ar atinjam-na obliquamente, para evitar o agravamento de trincas existentes. O jateamento deverá ser aplicado de modo intermitente para não provocar turbulências.

Normas de segurança no uso de ar comprimido:

a) Evitar jatos de ar comprimido no próprio corpo e nas roupas. Essa ação imprudente pode provocar a entrada de partículas na pele, boca, olhos, nariz e pulmões, causando danos à saúde.

b) Evitar jatos de ar comprimido em ambiente com excesso de poeira e na limpeza de máquinas em geral. Nesse último caso, o ar pode levar partículas abrasivas para as guias e mancais, acelerando o processo de desgaste por abrasão.

c) Utilizar sempre óculos de segurança.

Manuais e croqui:

Geralmente as máquinas são acompanhadas de manuais que mostram desenhos esquematizados dos seus componentes. O objetivo dos manuais é orientar quem for operá-las e manuseá-las nas tarefas do dia-a-dia. Entretanto, certas máquinas antigas ou de procedência estrangeira são acompanhadas de manuais de difícil interpretação. Nesse caso, é recomendável fazer um croqui (esboço) dos conjuntos destas máquinas, o que facilitará as operações posteriores de montagem.

Atividades pós-desmontagem:

Após a desmontagem, a lavagem, o secamento e a separação das peças em lotes, deve-se dar início à correção das falhas ou defeitos. As atividades de correção mais comuns são as seguintes:

  • Confecção de peças;
  • Substituição de elementos mecânicos;
  • Substituição de elementos de fixação;
  • Rasqueteamento;
  • Recuperação de roscas;
  • Correção de erros de projeto;
  • Recuperação de chavetas.

2 Técnicas de Montagem de elementos mecânicos:

Objetivo da montagem:

A montagem tem por objetivo maior a construção de um todo, constituído por uma série de elementos que são fabricados separadamente. Esses elementos devem ser colocados em uma seqüência correta, isto é, montados segundo normas preestabelecidas, para que o todo seja alcançado e venha a funcionar adequadamente. Em manutenção mecânica, esse todo é representado pelos conjuntos mecânicos que darão origem às máquinas e equipamentos.

Montagem de conjuntos mecânicos: A montagem de conjuntos mecânicos exige a aplicação de uma série de técnicas e cuidados por parte do mecânico de manutenção. Além disso, o mecânico de manutenção deverá seguir, caso existam, as especificações dos fabricantes dos componentes a serem utilizados na montagem dos conjuntos mecânicos. Outro cuidado que o mecânico de manutenção deve ter, quando se trata da montagem de conjuntos mecânicos, é controlar a qualidade das peças a serem utilizadas, sejam elas novas ou recondicionadas.

Nesse aspecto, o controle de qualidade envolve a conferência da peça e suas dimensões.Sem controle dimensional ou sem conferência para saber se a peça é realmente a desejada e se ela não apresenta erros de construção, haverá riscos para o conjunto a ser montado. De fato, se uma peça dimensionalmente defeituosa ou com falhas de construção for colocada em um conjunto mecânico, poderá produzir outras falhas e danos em outros componentes.

Recomendações para a montagem:

  1. Verificar se todos os elementos a serem montados encontram-se perfeitamente limpos, bem como o ferramental.
  2. Examinar os conjuntos a serem montados para se ter uma ideia exata a respeito das operações a serem executadas.
  3. Consultar planos ou normas de montagem, caso existam.
  4. Examinar em primeiro lugar a ordem de colocação das diferentes peças antes de começar a montagem, desde que não haja planos e normas relativas à montagem.
  5. Verificar se nos diferentes elementos mecânicos há pontos de referência. Se houver, efetuar a montagem segundo as referências existentes.
  6. Evitar a penetração de impurezas nos conjuntos montados, protegendo-os adequadamente.
  7. Fazer testes de funcionamento dos elementos, conforme a montagem for sendo realizada, para comprovar o funcionamento perfeito das partes. Por exemplo, verificar se as engrenagens estão se acoplando sem dificuldade. Por meio de testes de funcionamento dos elementos, é possível verificar se há folgas e se os elementos estão dimensionalmente adequados os e colocados nas posições corretas.
  8. Lubrificar as peças que se movimentam para evitar desgastes precoces causados pelo atrito dos elementos mecânicos.

Métodos para realização da montagem:

Nos setores de manutenção mecânica das indústrias, basicamente são aplicados dois métodos para se fazer a montagem de conjuntos mecânicos:

  • Montagem peça a peça; e
  • Montagem em série.

Montagem peça a peça:

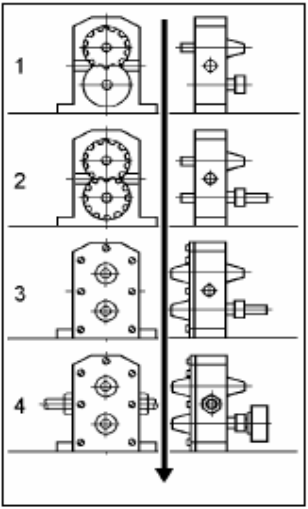
A montagem peça a peça é efetuada sobre bancadas. Como exemplo, a figura mostra a seqüência de operações a serem realizadas para a montagem de uma bomba de engrenagens.

Como todas as peças já estão ajustadas, a atividade de montagem propriamente dita se limita a uni-las ordenadamente. Um controle de funcionamento indicará se será preciso fazer correções.

A Montagem em série:

A figura seguinte, a título de exemplo, mostra a seqüência de operações a serem realizadas para a montagem de uma série de bombas de engrenagem.

Caso não haja manual de instruções ou esquema de montagem, deve-se proceder da seguinte forma:

a) Fazer uma análise detalhada do conjunto antes de desmontá-lo.

b) Fazer um croqui mostrando como os elementos serão montados no conjunto.

c) Anotar os nomes dos elementos à medida que vão sendo retirados do conjunto.

A montagem deve ser baseada no croqui e nas anotações feitas anteriormente, invertendo-se a sequência de desmontagem.

3 Análise de falhas em máquinas:

As origens de falhas das máquinas estão nos danos sofridos pelas peças componentes. A máquina nunca quebra totalmente de uma só vez, mas pára de trabalhar quando alguma parte vital de seu conjunto se danifica. A parte vital pode ser no interior da máquina, no mecanismo de transmissão, no comando ou nos controles. Pode, também, estar no exterior, em partes rodantes ou em acessórios. Por exemplo, um pneu é uma parte rodante vital para que um caminhão funcione, assim como um radiador é um acessório vital para o bom funcionamento de um motor.

Origem dos danos:

A origem dos danos pode ser assim agrupada:

Erros de especificação ou de projeto: A máquina ou alguns de seus componentes não correspondem às necessidades de serviço. Nesse caos os problemas, com certeza, estarão nos seguintes fatores: dimensões, rotações, marchas, materiais, tratamentos térmicos, ajustes, acabamentos superficiais ou, ainda, em desenhos errados.

Falhas de fabricação: A máquina, com componentes falhos, não foi montada corretamente. Nessa situação pode ocorrer o aparecimento de trincas, inclusões, concentração de tensões, contatos imperfeitos, folgas exageradas ou, insuficientes, empeno ou exposição de peças a tensões não previstas no projeto.

Instalação imprópria: Trata-se de desalinhamento dos eixos entre o motor e a máquina acionada. Os desalinhamentos surgem devido aos seguintes fatores:

  • fundação (local de assentamento da máquina) sujeita a vibrações;
  • sobrecargas;
  • trincas;
  • corrosão.

Manutenção imprópria: Trata-se da perda de ajustes e da eficiência da máquina em razão dos seguintes fatores:

  • sujeira;
  • falta momentânea ou constante de lubrificação;
  • lubrificação imprópria que resulta em ruptura do filme ou em sua decomposição;
  • superaquecimento por causa do excesso ou insuficiência da viscosidade do lubrificante;
  • falta de reapertos;
  • falhas de controle de vibrações.

Operação imprópria: Trata-se de sobrecarga, choques e vibrações que acabam rompendo o componente mais fraco da máquina. Esse rompimento, geralmente, provoca danos em outros componentes ou peças da máquina. Salientamos que não estão sendo consideradas medidas preventivas a respeito de projetos ou desenhos, mas das falhas originadas nos erros de especificação, de fabricação, de instalação, de manutenção e de operação que podem ser minimizados com um controle melhor.

As falhas são inevitáveis quando aparecem por causa do trabalho executado pela máquina. Nesse aspecto, a manutenção restringe-se à observação do progresso do dano para que se possa substituir a peça no momento mais adequado. É assim que se procede, por exemplo, com os dentes de uma escavadeira que vão se desgastando com o tempo de uso.

Análise de danos e defeitos:

A análise de danos e defeitos de peças tem duas finalidades:

a) apurar a razão da falha, para que sejam tomadas medidas objetivando a eliminação de sua repetição;

b) alertar o usuário a respeito do que poderá ocorrer se a máquina for usada ou conservada inadequadamente.

Para que a análise possa ser bem feita, não basta examinar a peça que acusa a presença de falhas. É preciso, de fato, fazer um levantamento de como a falha ocorreu, quais os sintomas, se a falha já aconteceu em outra ocasião, quanto tempo a máquina trabalhou desde sua aquisição, quando foi realizada a última reforma, quais os reparos já feitos na máquina, em quais condições de serviço ocorreu a falha, quais foram os serviços executados anteriormente, quem era o operador da máquina e por quanto tempo ele a operou.

Enfim, o levantamento deverá ser o mais minucioso possível para que a causa da ocorrência fique perfeitamente determinada. Evidentemente, uma observação pessoal das condições gerais da máquina e um exame do seu dossiê (arquivo ou pasta) são duas medidas que não podem ser negligenciadas.

O passo seguinte é diagnosticar o defeito e determinar sua localização, bem como decidir sobre a necessidade de desmontagem da máquina. A desmontagem completa deve ser evitada, porque é cara e demorada, além de comprometer a produção, porém, às vezes, ela é inevitável. É o caso típico do dano causado pelo desprendimento de limalhas que se espalham pelo circuito interno de lubrificação ou pelo circuito hidráulico de uma máquina.

Após a localização do defeito e a determinação da desmontagem, o responsável pela manutenção deverá colocar na bancada as peças interligadas, na posição de funcionamento. Na hora da montagem não podem faltar ou sobrar peças! As peças não devem ser limpas na fase preliminar e sim na fase do exame final. A limpeza deverá ser feita pelo próprio analisador, para que não se destruam vestígios que podem ser importantes. Após a limpeza, as peças devem ser etiquetadas para facilitar na identificação e na sequência de montagem da máquina.

Características gerais dos danos e defeitos:

Os danos e defeitos de peças, geralmente, residem nos chamados intensificadores de tensão, e estes são causados Por erro de projeto ou especificações. Se os intensificadores de tensão residem no erro de projeto, a forma da peça é o ponto crítico a ser examinado, porém, se os intensificadores de tensão residem nas especificações, estas são as que influirão na estrutura interna das peças. O erro mais freqüente na forma da peça é a ocorrência de cantos vivos. As figuras mostram linhas de tensão em peças com cantos vivos. Com cantos vivos, as linhas de tensão podem se romper facilmente

Quando ocorre mudança brusca de seção em uma peça, os efeitos são praticamente iguais aos provocados por cantos vivos. Por outro lado, se os cantos forem excessivamente suaves, um único caso é prejudicial. Trata-se do caso do excesso de raio de uma peça em contato com outra. Por exemplo, na figura abaixo, a tensão provocada pelo canto de um eixo rolante, com excesso de raio, dará início a uma trinca que se propagará em toda sua volta.

Análise de falhas e cuidados com componentes mecânicos:

Cabos de aço: Os cabos de aço, ao serem instalados, não devem apresentar nós nem ser atritados na lateral de polias por onde passarão e muito menos no solo. Nós e atritos indesejados diminuem a vida útil dos cabos de aço.

Quando em serviço, os cabos de aço podem apresentar os seguintes defeitos: rompimento, “gaiola de passarinho”, amassamento, quebras de fios externos e ondulações.

Cabo rompido: Em caso de rompimento de um cabo novo ou seminovo e o cabo mantendo-se reto, a causa provável é o excesso de carga ou choque.

“Gaiola de passarinho”: É provocada pelo choque de alívio de tensão, ou seja, quando a tensão, provavelmente excessiva, é aliviada instantaneamente. Nesse caso, o operador deverá ser treinado para operar com cabos de aço. A figura seguinte mostra o fenômeno da “gaiola de passarinho”.

Cabo amassado: O fenômeno ocorre devido ao cruzamento de cabos sobre o tambor ou da subida deles sobre a quina da canaleta das polias. O problema é evitado mantendo o cabo esticado, de forma tal que ele tenha um enrolamento perfeito no tambor.

Quebra de fios externos: Esse fenômeno ocorre em razão das seguintes causas:

  • diâmetro da polia ou tambor excessivamente pequenos;
  • corrosão;
  • abrasão desuniforme;
  • excesso de tempo de trabalho do cabo

As causas de quebra de fios devem ser eliminadas. Para evitar a corrosão de cabos de aço, estes deverão ser lubrificados e, no caso de cabos que já atingiram o limite de vida útil, devem ser substituídos por novos. Se o problema for incompatibilidade entre o diâmetro da polia ou do tambor com o diâmetro do cabo, deve-se trocar ou o cabo, ou a polia, ou o tambor.

Ondulação: Trata-se de deslizamento de uma ou mais pernas por causa da fixação imprópria ou do rompimento da alma do cabo de aço. Nesse caso a fixação deverá ser corrigida.

Chavetas: 

Chavetas são usadas para fixar elementos dos mecanismos sobre eixos. Suas dimensões são, usualmente, mais do que suficientes para a transmissão de forças existentes nas máquinas. Na substituição de chavetas, é preciso considerar o acabamento superficial, bem como o ajuste e o arredondamento dos cantos para evitar atrito excessivo.

Os canais de chaveta devem estar em boas condições, principalmente quanto à perpendicularidade, pois além dos esforços de cisalhamento, as chavetas sofrem torção. O esforço de torção tende a virar as chavetas em suas sedes. A figura abaixo mostra forças de cisalhamento atuando em uma chaveta. 

Para evitar o efeito de cunha que poderia partir o cubo do elemento colocado no eixo, a chaveta exige um perfeito ajuste no sentido lateral e vertical. Outro ponto a observar é o acabamento dos cantos, que devem apresentar o chanfro ou o raio reto um pouco maior do que os cantos do rasgo, para evitar o surgimento de fissuras e trincas. A figura seguinte mostra essa falha.

Em condições favoráveis, pode-se trocar uma chaveta paralela por uma do tipo meia-lua. A chaveta tipo meia-lua praticamente elimina problemas com torção, especialmente se o eixo na qual ela irá atuar for temperado.

Molas:

Uma mola devidamente especificada durará muito tempo. Em caso de abuso, apresentará os seguintes danos:

  • Quebra – Causada por excesso de flexão ou de torção. Recomenda-se aplicar um coxim ou encosto no fim do curso previsto da mola. Essa medida fará com que amola dure mais tempo sem se quebrar.
  • Flambagem – Ocorre em molas helicoidais longas, por falta de guias. A flambagem pode ser corrigida por meio da verificação do esquadro de apoios. Recomenda-se aplicar guia interno ou externo, devidamente lubrificado.
  • Amolecimento – Causado por superaquecimento presente no ambiente ou por esforço de flexão. Recomenda-se diminuir a freqüência ou curso de flexões. Recomenda-se, também, aplicar uma mola dupla com seção menor.

Recomendações finais a respeito de molas:

  • Evitar a sobrecarga da mola. Ela foi especificada para uma solicitação determinada, não devendo ser submetida a um esforço maior que o previsto.
  • Impedir a flambagem. Se a mola helicoidal comprimida envergar no sentido lateral, providenciar uma guia.
  • Evitar o desgaste não uniforme das pontas, pois isto criaria um esforço adicional não previsto.
  • Testar as molas nas revisões periódicas da máquina e trocar as molas que estiverem enfraquecidas.
  • Evitar as tentativas de concertar a mola quebrada, esticando-a, por exemplo. A tentativa será inútil. Somente em caso de quebra das pontas de molas muito pesadas é possível o conserto. Nesse caso, soldam-se as pontas quebradas com eletrodo rico em cromo.
  • As molas helicoidais podem ser enroladas a frio, desde que o arame de aço não ultrapasse 13mm de diâmetro.