Desenho técnico moderno

Desenho Técnico Básico

1 Elementos de máquinas

processos de ligação

roscas

Elementos dimensionais de uma rosca triangular.

Representação de furações.

Representação simbólica de furos.

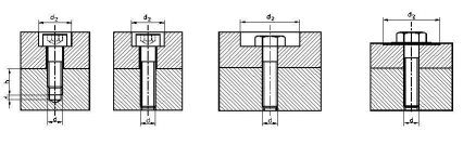
Representação simbólica de furos e ligações.

Parafusos

Cabeças de Parafusos

Fenda

outros tipos

Espiga

Designação de parafusos

Caixa

Porcas

Pernos - haste cilíndrica roscada em ambas as extremidades.

Exemplos – Cotagem de parafusos, e exemplos de ligação.

Anilhas

Chavetas e Cavaletes

Cavilhas e Troços

Rebites

Molas

Representação de Molas (ISO 2162)

Uniões de Veios

Embraiagens

2 Elementos de máquinas Parte 2

Chumaceira de escorregamento

Engrenagens

Representação de Engrenagens

Transmissão por correntes

Transmissão por correias dentadas

Rolamentos

Representação de Rolamentos