Manual de Operação e Manutenção de Motosserra

Operador de Motosserra

1 Operação e Manutenção de Motosserra

  1. Botão do fecho da tampa do filtro: Dispositivo que prende a tampa do filtro de ar, facilitando sua remoção e substituição para manutenção.

  2. Parafusos de regulagem do carburador: Parafusos utilizados para ajustar a mistura de ar e combustível no carburador, permitindo a afinação do desempenho do motor.

  3. Terminal da vela de ignição: Conector que liga o cabo de alta tensão à vela de ignição, fornecendo a faísca necessária para a combustão.

  4. Corrediça (trabalho no verão e trabalho no inverno): Ajuste que permite a operação eficiente da motosserra em diferentes condições climáticas, prevenindo problemas como o congelamento do carburador.

  5. Válvula de descompressão: Dispositivo que reduz a pressão no cilindro durante a partida, facilitando o arranque do motor.

  6. Freio da corrente: Mecanismo de segurança que para a corrente instantaneamente em caso de recuo ou movimento brusco, evitando acidentes.

  7. Pinhão da corrente: Engrenagem que aciona a corrente, transmitindo o movimento do motor para a corrente de corte.

  8. Tampa do pinhão da corrente: Cobre e protege o pinhão e a área ao redor, permitindo acesso para manutenção e ajuste.

  9. Segurança da corrente: Componentes de segurança que evitam o salto da corrente durante a operação.

  10. Dispositivo tensor da corrente: Mecanismo que ajusta a tensão da corrente, garantindo seu funcionamento adequado e seguro.

  11. Batente de garras: Peça metálica dentada que proporciona estabilidade ao cortar, permitindo um corte mais controlado.

  12. Sabre: Barra guia que suporta e direciona a corrente de corte.

  13. Corrente Oilomatic: Tipo de corrente de motosserra que inclui orifícios para melhor lubrificação, prolongando a vida útil da corrente e do sabre.

  14. Tampa do tanque de óleo: Fecho que cobre o reservatório de óleo da corrente, permitindo seu enchimento.

  15. Silenciador: Dispositivo que reduz o ruído do motor da motosserra.

  16. Proteção da mão dianteira: Escudo que protege a mão do operador contra galhos e outros detritos.

  17. Cabo da mão dianteiro (cabo do punho): Parte da motosserra onde o operador segura com a mão dianteira, proporcionando controle e estabilidade.

  18. Manípulo de arranque: Puxador que, ao ser puxado, aciona o motor da motosserra.

  19. Tampa do tanque de combustível: Fecho que cobre o reservatório de combustível, permitindo seu enchimento.

  20. Interruptor combinado: Controle que combina várias funções, como ligar, desligar e afogar o motor.

  21. Alavanca do acelerador: Controle que regula a velocidade do motor.

  22. Trava do acelerador: Dispositivo de segurança que impede a ativação acidental do acelerador.

  23. Cabo da mão traseiro: Parte da motosserra onde o operador segura com a mão traseira, proporcionando controle adicional.

  24. Proteção da mão traseira: Escudo que protege a mão do operador enquanto segura o cabo traseiro.

A operação e manutenção de motosserras envolvem a utilização segura e eficiente deste equipamento, fundamental para diversas atividades florestais e de jardinagem. A operação inclui a correta preparação da motosserra, como a verificação dos níveis de combustível e óleo, a afiação da corrente, e o ajuste da tensão da corrente. A manutenção periódica é crucial para garantir a durabilidade e o desempenho da motosserra, abrangendo a limpeza do filtro de ar, a substituição da vela de ignição, a inspeção e troca da corrente, e a verificação de todos os componentes de segurança. Seguir as instruções do fabricante e utilizar equipamentos de proteção individual (EPIs) são essenciais para prevenir acidentes e lesões durante o uso.

2 Forças de Reação

As forças de reação que mais ocorrem durante o trabalho são: rebote, repulsão e tração.

Perigo de rebote

O rebote pode causar ferimentos mortais.

Em um rebote (kickback) a motosserra é lançada repentinamente e sem controle sobre o operador.

Um rebote ocorre, por ex. quando:

  • A corrente entra involuntariamente em contato com a madeira ou um objeto duro com o quarto superior da ponta do sabre. Por exemplo, ao entrar em contato com outro galho durante o desgalhamento;

  • A corrente fica presa no corte na ponta do sabre.

Freio da corrente QuickStop:

Com ele é possível diminuir o perigo de ferimentos, mas não é possível evitar o rebote. Com o acionamento do freio da corrente, a corrente é parada após um segundo. Veja o capítulo "Freio da corrente" nesse manual de instruções

Para reduzir os riscos de rebote:

  • Trabalhar com concentração e de maneira correta;

  • Segurar a motosserra com firmeza e com as duas mãos;

  • Serrar somente com rotação máxima;

  • Observar a ponta do sabre;

  • Evitar o corte com a ponta do sabre;

  • Cortar galhos pequenos, muito densos, matagal e brotos com cuidado, pois a corrente pode ficar presa;

  • Nunca serrar mais galhos de uma vez;

  • Não trabalhar com o corpo muito inclinado para frente;

  • Não cortar com a máquina posicionada acima da altura dos ombros;

  • Redobrar o cuidado ao introduzir o sabre em um corte já iniciado – utilizar a técnica do "entalhe", somente se estiver seguro desse procedimento;

  • Observar a posição do tronco e as forças que podem fechar a fenda do corte e prender a corrente;

  • Trabalhar somente com correntes bem afiadas e corretamente tensionadas. Distância do limitador de profundidade não muito grande;

  • Utilizar correntes redutoras de rebote, bem como sabre com cabeça pequena.

Tração (A)

Se, ao serrar com a parte inferior do sabre - de cima para baixo - a corrente trancar ou encontrar um obstáculo firme na madeira, a motosserra pode ser puxada com violência na direção do tronco. Para evitar isto, sempre manter o batente de garras fixado na máquina.

Repulsão (B)

Se, ao serrar com a parte superior do sabre - de baixo para cima - a corrente trancar ou encontrar um obstáculo firme na madeira, a motosserra pode ser repulsada na direção do operador.

Para evitar o rebote:

– Não prensar a parte superior do sabre no corte

– Não girar o sabre dentro do corte

É necessário Redobrar a Atenção

  • Com árvores inclinadas

  • Com troncos que foram cortados, mas estão presos entre outras árvores, ficando sob tensão

  • Em trabalhos com árvores derrubadas por um temporal

Nos casos acima, não trabalhar com a motosserra, e sim com guinchos ou tratores. Retirar galhos soltos e já cortados. Para cortar o tronco em partes menores, levá-lo para um local aberto.

A madeira morta (seca, podre) apresenta um perigo especial, que não pode ser medido. O reconhecimento do perigo neste caso é muito difícil ou quase impossível. Se detectado, usar guinchos ou tratores.

Ao cortar nas proximidades de estradas, trilhos de trem, cabos elétricos, etc., é necessário redobrar a atenção. Se necessário, informar órgãos responsáveis como polícia, companhia de energia elétrica ou serviços de ferrovia.

3 Técnicas de Trabalho com Motosserra

Trabalhos de corte, derrubada e semelhantes (entalhe, desgalhamento, etc.) devem ser feitos somente por pessoas que receberam treinamento e estão seguras dos procedimentos. Quem não tem experiência no trabalho com a motosserra, não deve realizar nenhum dos trabalhos acima mencionados. Alto risco de acidentes!

Nos trabalhos de derrubada, observar as leis existentes sobre técnicas de derrubada de árvores.

Serrar

Não trabalhar na regulagem de meia-aceleração. A rotação do motor não é regulável nesta posição.

Trabalhar com calma e concentração, somente com boas condições de iluminação e visibilidade, cuidando para que outras pessoas não sejam colocadas em risco.

No primeiro trabalho do operador com a motosserra, recomenda-se treinar o corte de um tronco num cavalete. Veja "Ao cortar madeira fina".

Utilizar sabres curtos sempre que possível: corrente, sabre e pinhão da corrente devem corresponder entre si e combinar com a motosserra.

Nenhuma parte do corpo deve estar na direção do corte. Tirar a motosserra da madeira somente com a corrente girando. Utilizar a máquina somente para serrar; não utilizá-la para afastar galhos, raízes ou outros objetos. Não cortar galhos que estão suspensos com a parte superior do sabre (de baixo para cima).

Cuidado ao cortar arbustos e pequenas árvores. Galhos finos podem se enroscar na corrente e serem lançados sobre o operador. Redobrar a atenção ao cortar madeira rachada ou quebrada. Perigo de acidentes ocasionados pelas lascas de madeira!

Evitar que corpos estranhos como pedras, pregos, entre outros, entrem em contato com a motosserra, pois podem ser lançados sobre o operador, danificar a corrente e também ocasionar rebote. Perigo de acidentes!

Se uma corrente em movimento encostar em uma pedra ou num objeto duro, pode haver formação de faíscas, podendo fazer com que materiais facilmente inflamáveis possam pegar fogo sob certas circunstâncias. Plantas secas e capim também são facilmente inflamáveis, principalmente em temperaturas altas e secas. Se houver perigo de incêndio, não utilizar a motosserra nas proximidades de material facilmente inflamável, plantas secas ou capim. Verificar junto aos serviços florestais competentes se existe a possibilidade de um incêndio.

Em terrenos com declive, sempre permanecer acima ou ao lado do tronco. Cuidado com troncos que podem rolar.

Quando trabalhar em local elevado:

  • Sempre utilizar plataformas;

  • Nunca trabalhar sobre escadas ou dentro da árvore;

  • Nunca trabalhar em locais instáveis;

  • Nunca trabalhar com a máquina acima da altura dos ombros;

  • Nunca operar a máquina com uma mão.

Acelerar a motosserra, firmá-la na árvore com auxílio do batente de garras e somente então iniciar o corte.

Nunca trabalhar sem o batente de garras, pois a máquina pode puxar o operador para frente. Utilizar o batente de garras sempre de forma segura.

No final do corte, a máquina não é mais sustentada pelo conjunto de corte. O operador deve assumir todo o peso da máquina. Perigo de perda de controle sobre a máquina!

Ao cortar madeira fina:

  • Utilizar um dispositivo para fixação do tronco, como um cavalete;

  • Não fixar a madeira com os pés;

  • Outras pessoas não devem segurar o tronco nem auxiliar durante o corte.

Desgalhar:

  • Utilizar corrente que diminua a probalidade de rebote.

  • Apoiar a motosserra sempre que possível.

  • Não subir no tronco para desgalhar.

  • Não cortar com a ponta do sabre.

  • Observar galhos que estão sob tensão.

  • Nunca cortar vários galhos ao mesmo tempo.

Madeira sob tensão:

Cortar na sequência correta, primeiro o lado sob pressão (1), depois o lado sob tração (2). O corte nesta sequência evita que o sabre fique preso ou que ocorra rebote. Perigo de ferimentos!

  • Realizar o corte de descarga no lado sob pressão (1).

  • Fazer o corte de ruptura no lado sob tração (2).

Ao realizar o corte de ruptura de baixo para cima (corte de repulsão), há perigo de rebote!

Quando o tronco estiver deitado, observar para que a área de corte não esteja tocando no solo, pois isto causa danos na corrente.

Corte longitudinal:

Na técnica de corte sem uso do batente de garras, há perigo de puxar para dentro. Utilizar o sabre em ângulo pouco profundo, tendo cuidado especial. Alto risco de rebote!

Preparar a derrubada

Na área de derrubada devem permanecer somente as pessoas que estão realizando o trabalho.

Cuidar para que ninguém seja atingido pela árvore que será derrubada. Não confiar em gritos, pois o barulho do motor pode abafar o ruído.

A distância entre os pontos de corte deve ser de no mínimo 2 1/2 vezes o comprimento da árvore;

Estabelecer a direção da queda e os caminhos de fuga;

Escolher a direção de queda da árvore;

Ao fazer a escolha, observar os seguintes pontos:

  • A inclinação natural da árvore;

  • Quantidade e posição dos galhos, crescimento não simétrico ou falhas do tronco;

  • Direção e velocidade do vento. Não derrubar se o vento estiver muito forte;

  • Inclinação do terreno – árvores vizinhas;

  • Quantidade de neve sobre a árvore;

  • Condições da árvore. Observar principalmente se há fungos ou doenças no tronco ou se a madeira está morta (seca, podre).

A Direção de queda;

B Caminhos de fuga.

  • Determinar caminhos de fuga para cada pessoa que estiver na área de trabalho. Aproximadamente a 45° obliquamente no sentido contrário ao da queda da árvore;

  • Limpar os caminhos de fuga, retirando obstáculos;

  • Guardar ferramentas e máquinas em distância segura, mas não nos caminhos de fuga;

  • Manter o corpo lateral ao tronco durante o corte e afastar-se pelos caminhos de fuga prédeterminados;

  • Em locais íngremes, abrir os caminhos de fuga paralelos à encosta;

  • Ao dirigir-se para o caminho de fuga, observar se há galhos caindo e cuidar a copa da árvore.

Preparar o tronco:

  • Deixar a região de corte no tronco livre de galhos e outros arbustos que possam atrapalhar a visibilidade e execução do corte.

  • Limpar bem a base do tronco (por ex. com um machado). Areia, pedras e outros materiais tiram o fio da corrente.

  • Eliminar as saliências grandes das raízes: primeiro cortar verticalmente e depois na horizontal. Não realizar esta operação em madeira seca ou podre.

Entalhe direcional

Preparar o entalhe direcional:

O entalhe direcional (C) define a direção de queda da árvore.

Importante:

  • O entalhe deve formar um ângulo à direita com a direção de queda;

  • Fazer o entalhe direcional o mais próximo do solo;

  • Cortar entre 1/5 até 1/3 do diâmetro do tronco.

Definir entalhe direcional – com a linha de orientação que está na cobertura e na carcaça do ventilador:

Esta motosserra está equipada com uma linha de orientação que está na cobertura e na carcaça do ventilador. Utilizar esta linha de orientação.

Aplicar o entalhe direcional.

Ao aplicar o entalhe direcional, posicionar a motosserra de tal forma, que o entalhe direcional forme um ângulo à direita com a direção de queda.

Para utilizar o entalhe direcional, existem várias posições e técnicas para realizar os cortes (horizontal e inclinado). Consulte leis e normas nacionais sobre técnicas de derrubada.

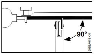
  • Realizar o corte horizontal.

  • Fazer um corte inclinado em aproximadamente 45°- 60° em relação ao corte horizontal.

Verificar a direção de queda:

Inserir o sabre na base do entalhe direcional. A linha de orientação deve estar na direção definida de queda da árvore. Se necessário, fazer a correção da direção de queda do entalhe direcional.

Cortes de alburno

No corte de árvores com fibras longas, os cortes de alburno evitam possíveis rachaduras ocasionadas pela queda. Os cortes de alburno devem ser feitos nos dois lados do tronco, na mesma altura do entalhe direcional e com profundidade aproximada de 1/10 do diâmetro do tronco. Caso o diâmetro do tronco seja muito grande, a profundidade máxima deve ser igual à largura do sabre.

Não realizar cortes de alburno em madeiras secas ou podres

Base para o corte de abate

Medidas do tronco

O Entalhe direcional (C) define a direção de queda da árvore.

O filete de ruptura (D) guia a árvore para o chão, como uma dobradiça.

  • Largura do filete de ruptura: aprox. 1/10 do diâmetro do tronco.

  • Cuidado para não atingir o filete de ruptura durante o corte de derrubada, pois isto desvia a direção de corte do planejado. Risco de acidentes!

  • Deixar um filete mais grosso em árvores podres.

Com o corte de abate (E) a árvore é derrubada.

  • Exatamente na horizontal;

  • 1/10 (mín. 3 cm) do diâmetro do tronco sobre a linha do entalhe direcional (C).

A faixa retentora (F) ou a faixa de segurança (G) sustenta a árvore e garante que ela não cairá antes da derrubada.

  • Largura da faixa: aprox. 1/10 até 1/5 do diâmetro do tronco.

  • Cuidar para não cortar a faixa durante o corte da árvore.

  • Ao cortar troncos podres, usar uma faixa mais larga.

Entalhe

  • Para fazer o corte de descarga ao cortar ao comprimento.

  • Para realizar trabalhos artísticos

N Utilizar corrente que diminua a probalidade de rebote e ter atenção redobrada. 1. Introduzir o sabre com a parte inferior da ponta, não com a parte superior. Perigo de rebote! Introduzir o sabre no tronco, até duas vezes a largura do sabre. 2. Guiar a máquina lentamente até a posição de entalhe. Perigo de rebote ou repulsão! 3. Entalhar com cuidado. Perigo de repulsão!

Utilizar corrente que diminua a probalidade de rebote e ter atenção redobrada.

1. Introduzir o sabre com a parte inferior da ponta, não com a parte superior. Perigo de rebote! Introduzir o sabre no tronco, até duas vezes a largura do sabre.

2. Guiar a máquina lentamente até a posição de entalhe. Perigo de rebote ou repulsão!

3. Entalhar com cuidado. Perigo de repulsão!

Se possível, usar uma linha pontilhada. A linha pontilhada e a parte superior e inferior do sabre são paralelas.

Ao entalhar, a linha pontilhada ajuda a moldar o filete de ruptura numa espessura igual em toda sua extensão. Para isso, conduzir a linha pontilhada paralela ao entalhe direcional.

Cunhas:

Colocar a cunha o mais cedo possível, para que o corte não seja prejudicado. Utilizar a cunha no corte de abate e inserí-la com uma ferramenta apropriada.

Utilizar somente cunhas de alumínio ou plástico. Não usar cunhas de aço, pois estas danificam a corrente e podem gerar um rebote.

Escolher a cunha adequada, de acordo com o diâmetro do tronco e da largura da fenda do corte (escolher análogo ao corte de abate (E)).

Para a escolha da cunha (comprimento, largura e altura apropriada), consultar uma Concessionária STIHL.

Escolher o corte de abate apropriado

A escolha do corte de abate apropriado depende dos mesmos fatores que devem ser observados para definir a direção de queda da árvore e os caminhos de fuga.

Podemos distinguir vários valores diferentes dessas características. Nesse manual são descritas apenas as duas formas mais comuns:

Corte de abate com faixa de segurança (árvore normal)

A) Troncos finos:

Usar esta técnica de corte, quando o diâmetro do tronco é menor que o comprimento de corte do sabre.

Antes do início do corte de abate deve ser dado o grito de alerta "Atenção!".

  • Fazer o corte de abate (E), inserindo o sabre completamente. N

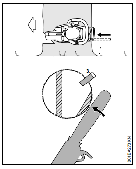
  • Posicionar o batente de garras no tronco atrás do filete de ruptura. Utilizar o batente de garras como ponto de apoio. Mudar a posição da motosserra o menor número de vezes possível.

  • Fazer o corte de abate até o filete de ruptura (1).

    • Cuidado para não atingir o filete de ruptura.

  • Fazer o corte de abate até a faixa de segurança (2).

    • Cuidado para não atingir a faixa de segurança.

  • Colocar uma cunha (3).

Antes do início do corte de abate, deve ser dado o segundo grito de alerta "Atenção!".

  • Cortar a faixa de segurança pelo lado externo, inclinado para cima, com os braços estendidos.

B) Troncos grossos:

Realizar este corte de abate, quando o diâmetro do tronco for maior do que o comprimento do sabre.

Antes do início do corte de abate deve ser dado o grito de alerta "Atenção!".

  • Posicionar o batente de garras na altura do corte de abate. Utilizar o batente de garras como ponto de apoio. Mudar a posição da motosserra o menor número de vezes possível.

  • Introduzir a ponta do sabre atrás do filete de ruptura (1). Manter a máquina na horizontal e procurar atingir a maior área possível.

  • Fazer o corte de abate até o filete de ruptura (2).

    • Cuidado para não atingir o filete de ruptura.

  • Fazer o corte de abate até a faixa de segurança (3).

    • Cuidado para não atingir a faixa de segurança.

O corte de abate é realizado do lado oposto do tronco.

Cuidar para que o segundo corte seja efetuado na mesma superfície do primeiro corte.

  • Iniciar o corte de abate.

  • Fazer o corte de abate até o filete de ruptura (4).

    • Cuidado para não atingir o filete de ruptura.

  • Fazer o corte de abate até a faixa de segurança (5).

    • Cuidado para não atingir a faixa de segurança.

  • Colocar uma cunha (6).

Antes do início do corte de abate, deve ser dado o segundo grito de alerta "Atenção!".

  • Cortar a faixa de segurança pelo lado externo, inclinado para cima, com os braços estendidos.

Corte de abate com faixa retentora (árvore inclinada)

A) Troncos finos

Usar esta técnica de corte, quando o diâmetro do tronco é menor que o comprimento de corte do sabre.

  • Inserir o sabre até sair no outro lado do tronco.

  • Fazer o corte de abate (E) em direção do filete de ruptura (1).

    • Exatamente na horizontal

    • Cuidado para não atingir o filete de ruptura.

  • Fazer o corte de abate em direção à faixa retentora (2).

    • Exatamente na horizontal

    • Cuidado para não atingir a faixa retentora.

Antes do início do corte de abate, deve ser dado o segundo grito de alerta "Atenção!".

  • Cortar a faixa de segurança pelo lado externo, inclinado para cima, com os braços estendidos.

B) Troncos grossos

 

Realizar este corte de abate, quando o diâmetro do tronco for maior do que o comprimento do sabre.

  • Posicionar o batente de garras no tronco atrás da faixa retentora. Utilizar o batente de garras como ponto de apoio. Mudar a posição da motosserra o menor número de vezes possível.

  • Introduzir a ponta do sabre na frente do filete de ruptura (1). Manter a máquina na horizontal e procurar atingir a maior área possível.

    • Cuidado para não atingir a faixa retentora e o filete de ruptura.

  • Fazer o corte de abate até o filete de ruptura (2).

    • Cuidado para não atingir o filete de ruptura.

  • Fazer o corte de abate até a faixa retentora (3).

    • Cuidado para não atingir a faixa retentora.

O corte de abate é realizado do lado oposto do tronco.

Cuidar para que o segundo corte seja efetuado na mesma superfície do primeiro corte.

  • Posicionar o batente de garras no tronco atrás do filete de ruptura. Utilizar o batente de garras como ponto de apoio. Mudar a posição da motosserra o menor número de vezes possível.

  • Introduzir a ponta do sabre na frente da faixa retentora (4). Manter a máquina na horizontal e procurar atingir a maior área possível.

  • Fazer o corte de abate até o filete de ruptura (5).

    • Cuidado para não atingir o filete de ruptura.

  • Fazer o corte de abate até a faixa retentora (6).

    • Cuidado para não atingir a faixa retentora.

Antes do início do corte de abate, deve ser dado o segundo grito de alerta "Atenção!".

  • Cortar a faixa de segurança pelo lado externo, inclinado para cima, com os braços estendidos.

4 Conjunto de Corte da Motosserra

O conjunto de corte é composto por corrente, sabre e pinhão da corrente.

O conjunto de corte fornecido junto com a motosserra é desenvolvido especialmente para uso mesma motosserra.

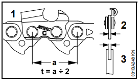
  • O passo (t) da corrente (1), do pinhão da corrente e da estrela reversora do sabre Rollomatic devem combinar entre si.

  • A espessura dos elos de tração (2) da corrente (1) deve ser definida pela largura da ranhura do sabre (3).

Ao montar componentes que não combinam entre si, o conjunto de corte pode ser danificado irreparavelmente em pouco tempo de trabalho.

Proteção da Corrente

O conjunto de corte vem acompanhado com o respectivo protetor de corrente. Se forem utilizados sabres de diferentes comprimentos numa motosserra, o comprimento da proteção da corrente deve ser adequado, para cobrir todo o sabre e evitar ferimentos.

Na lateral da proteção da corrente está impressa a indicação do comprimento do sabre adequado para esta proteção. Em sabres mais compridos que 90 cm, é necessário um prolongador para a proteção da corrente. Em sabres mais compridos que 120 cm, são necessários dois prolongadores para a proteção da corrente.

Conforme o equipamento, o prolongador da proteção da corrente é fornecido junto ou pode ser adquirido como acessório especial.

Encaixar o Prolongador da Proteção da Corrente

  • Empurrar o prolongador da proteção da corrente sobre a proteção da corrente. Os engates (1) devem encaixar na proteção da corrente.

5 Montagem do Sabre e a Corrente

Desmontar a Tampa do Pinhão da Corrente

  • Soltar as porcas e retirar a tampa do pinhão da corrente.
  • Girar o parafuso (1) para a esquerda, até que a corrediça tensora (2) encoste à esquerda no rebaixo da carcaça.

Soltando o Freio da Corrente

  • Puxar a proteção da mão em direção ao cabo dianteiro, até que o engate seja audível. O freio da corrente está solto.

Colocando a Corrente

Colocar luvas de proteção, pois há perigo de ferimentos ocasionados pelos dentes afiados da corrente.

  • Colocar a corrente, começando pela ponta do sabre.
  • Colocar o sabre sobre os parafusos (1). Os gumes da corrente devem apontar para a direita.

  • Encaixar o furo de fixação (2) sobre o pino da corrediça tensora e ao mesmo tempo colocar a corrente sobre o pinhão da corrente (3).

  • Girar o parafuso (4) para a direita, até que a corrente ainda fique só um pouco solta embaixo e as pontas dos elos de tração se encaixem na ranhura do sabre.

  • Colocar novamente a tampa do pinhão da corrente e apertar as porcas levemente com a mão.

  • Continuar conforme o capítulo "Esticar a corrente".

6 Tensionando a Corrente da Motosserra

Para esticar durante o trabalho:

  1. Desligar o motor.

  2. Soltar as porcas.

  3. Levantar a ponta do sabre.

  4. Com uma chave de fenda, girar o parafuso (1) para a direita, até que a corrente encoste no lado inferior do sabre.

  5. Continuar levantando o sabre e apertar firmemente as porcas.

  6. Continuar conforme o capítulo "Controlar o esticamento da corrente".

Uma corrente nova deve ser reesticada com mais frequência do que uma já usada há mais tempo!

Controlar o esticamento da corrente com mais frequência. Veja o capítulo "Indicações de serviço".

7 Verificando o Tensionamento da Corrente

  1. Desligar o motor.

  2. Colocar luvas de proteção.

  3. A corrente deve estar sem folga na parte inferior do sabre, e com o freio da corrente solto, deve ser possível girá-la sobre o sabre.

  4. Se necessário, reesticar a corrente.

Uma corrente nova deve ser reesticada com mais frequência do que uma já usada há mais tempo.

  • Verificar mais vezes o tensionamento da corrente. Veja o capítulo "Indicações de serviços".

8 Abastecimento da Motosserra

  • A mistura de combustível envelhece. Misturar somente a quantidade necessária para o trabalho diário.

  • Armazená-la em recipientes próprios para combustível.

  • Ao trabalhar com gasolina, evitar contato direto com a pele e a inalação dos vapores de gasolina.

  • Após abastecer, limpar a tampa do tanque.

Colocar óleo Lubrificante para Corrente

Sempre manter o tanque de óleo abastecido, caso contrário, o sabre e a corrente podem ser danificados e a segurança pode ser colocada em risco.

  • Usar somente óleo de boa qualidade. Nunca utilizar óleo usado.

  • Evitar o contato da pele com o óleo.

9 Combustível da Motosserra

O motor dois tempos deve ser operado com uma mistura de gasolina e óleo de motor dois tempos. A qualidade destes combustíveis tem uma influência decisiva sobre o funcionamento e a durabilidade do motor.

Misturar a gasolina e o óleo de motor dois tempos, ou na falta deste, usar óleo para motores refrigerados a ar, num recipiente próprio para combustível.

Quanto às possíveis variações na composição da gasolina, a STIHL faz as seguintes recomendações:

1. Gasolina

1.1. A gasolina brasileira é composta por uma mistura de hidrocarbonetos e álcool (etanol anidro).

1.2. Na gasolina, existem componentes que se deterioram com o tempo, principalmente pela ação do calor e da luz. Por isso, armazenar a gasolina em local fresco e arejado, protegida contra a luz e o sol, em recipientes fechados e não transparentes. Não é conveniente armazenar a gasolina por mais de 30 dias.

1.3. A gasolina de boa qualidade possui um percentual de aditivos na sua composição, cuja função é limpar o motor e melhorar a combustão.

1.4. É recomendável o uso de gasolina de boa qualidade nos produtos STIHL com motor dois tempos. Caso seja utilizada gasolina aditivada, deve-se observar que os motores dos produtos STIHL que já tenham trabalhado anteriormente com gasolina comum (não aditivada) devem ser descarbonizados, para evitar entupimento dos condutores, do carburador e engripamento do motor pelo desprendimento de partículas de carvão. Para realizar este serviço, procure um serviço de assistência técnica STIHL.

1.5. Para evitar as ocorrências acima descritas (ponto 1.4), é desaconselhável o uso intercalado de gasolina comum e aditivada.

2. Óleo Lubrificante

2.1. A finalidade básica do óleo de motor dois tempos é a lubrificação e a limpeza da unidade motora, aumentando a vida útil dos componentes. Todos os óleos para motores dois tempos são classificados segundo a norma internacional API.

2.2. Em cada troca de óleo de motor dois tempos (fabricantes diferentes ou mesmo fabricante), é altamente recomendável a descarbonização total do motor. Consulte um serviço de assistência técnica STIHL.

2.3. Quando for utilizada gasolina aditivada misturada ao óleo do motor dois tempos, poderá eventualmente ocorrer a formação de um gel na superfície do combustível (imediatamente após a mistura). Se isto for observado, não utilizar esta mistura, devido à incompatibilidade dos aditivos contidos no óleo do motor dois tempos com os aditivos existentes na gasolina. Fazer uma nova mistura, utilizando outro óleo e/ou outra marca de gasolina aditivada.

2.4. Utilizar somente óleo do motor dois tempos de boa qualidade, de preferência óleo do motor dois tempos STIHL, que é recomendado para motores STIHL e garante alta durabilidade do motor. Na falta deste, a STIHL recomenda a utilização de óleo do motor dois tempos de classificação API para motores refrigerados a ar. Não utilizar óleo para motor refrigerado à água ou óleo para motor com circuito de óleo separado (por ex. motores quatro tempos convencionais).

2.5. Estas recomendações são válidas, desde que os produtos STIHL sejam utilizados dentro das especificações técnicas recomendadas neste manual.

3. Proporção da Mistura

Proporção da mistura com óleo do motor dois tempos STIHL:

  • 1:50 – 1 parte de óleo + 50 partes de gasolina.

  • A descarbonização se faz necessária após 600 horas de uso.

Exemplos:

INDICAÇÃO

  • Proporção da mistura com outras marcas de óleo de motor dois tempos:

    • 1:25 – 1 parte de óleo + 25 partes de gasolina.

    • A descarbonização se faz necessária após 300 horas de uso.

ATENÇÃO:

  • Antes de abastecer a máquina, agitar bem o galão com a mistura de combustível.

  • A mistura de combustível envelhece. Misturar somente a quantidade necessária para o uso.

  • Armazená-la em recipientes próprios para combustível.

  • Agitar bem o recipiente com a mistura de combustível antes de abastecer o tanque.

  • Atenção! Pode haver formação de pressão no galão – abrir cuidadosamente.

  • De tempos em tempos, limpar bem o tanque de combustível e o galão.

  • Ao trabalhar com gasolina, evitar contato direto com a pele e a inalação dos vapores de gasolina.

10 Colocando Combustível na Motosserra

Ao colocar combustível na motosserra, é essencial tomar precauções devido à natureza inflamável da gasolina. Certifique-se de realizar o abastecimento em uma área bem ventilada e afastada de fontes de calor, faíscas ou chamas abertas. Use recipientes próprios para combustível e evite derramamentos, limpando imediatamente qualquer vazamento com um pano apropriado. Nunca fume durante o processo e mantenha a motosserra desligada e fria antes de reabastecer. Utilize luvas de proteção para minimizar o contato com a pele e esteja atento aos vapores, que são altamente inflamáveis e podem causar incêndios ou explosões se inalados em excesso ou expostos a fontes de ignição.

Preparando a Máquina

  1. Limpar a tampa do tanque e a área ao redor antes de abastecer, para que não caia sujeira no tanque.

  2. Posicionar a máquina de tal forma, que a tampa do tanque indique para cima.

Abrindo o Tanque

  • Levantar o arco dobrável;
  • Girar a tampa do tanque (aproximadamente 1/4 de volta)

Marcações de posição na tampa do tanque e no tanque de combustível devem estar alinhadas.

  • Retirar a tampa do tanque

Colocando o Combustível

Ao abastecer, não derramar combustível e não encher o tanque até a borda.

A STIHL recomenda o sistema de enchimento para combustível STIHL (acessório especial).

  • Colocar o combustível

Fechando o Tanque

Arco dobrável está levantado:

  • Colocar a tampa, sendo que as marcações de posição na tampa do tanque e no tanque de combustível devem estar alinhadas;

  • Pressionar a tampa do tanque para baixo, até o encosto.

  • Manter a tampa do tanque pressionada e girá-la em sentido horário, até que engate.

Marcações de posição na tampa do tanque e no tanque de combustível devem estar alinhadas.

  • Baixar o arco dobrável.

A tampa do tanque está fechada.

Quando a Tampa do Tanque não Está Encaixada no Tanque de Combustível

A parte inferior da tampa do tanque está virada em relação à parte superior.

  • Tirar a tampa do tanque de combustível e observá-la pela parte superior

Esquerda: parte inferior da tampa do tanque está virada – marcação interna (1) está alinhada com a marcação externa;

Direita: parte inferior da tampa do tanque está na posição correta – marca interna está abaixo da aba de fechamento. Ela não está alinhada com a marcação externa

  • Colocar a tampa do tanque e girar em sentido anti-horário, até que ela encaixe no ajuste da entrada do tanque;

  • Continuar girando a tampa do tanque em sentido anti-horário (aprox. 1/4 de volta). Com isso, a parte inferior da tampa será virada para a posição correta;

  • Girar a tampa em sentido horário e fechá-la. Veja capítulo "Fechar a tampa do tanque"

11 Óleo Lubrificante para Correntes

Para a lubrificação automática e duradoura da corrente e do sabre, utilize somente óleo lubrificante de boa qualidade. Em respeito ao meio ambiente, recomendamos utilizar óleo biodegradável.

INDICAÇÃO I:

  • Óleo lubrificante biológico deve ter suficiente resistência ao envelhecimento. Óleo com pouca resistência ao envelhecimento tende a resinificar. As consequências são sedimentações de difícil eliminação, principalmente na região do acionamento da corrente, na embreagem e na corrente, inclusive com bloqueio da bomba de óleo.

  • A durabilidade da corrente e do sabre depende essencialmente da qualidade do óleo lubrificante. Por isso, utilize somente óleo lubrificante especial para correntes! Recomendamos o uso do óleo STIHL Magnum.

AVISO:

  • Não utilizar óleo "usado"! O óleo usado pode causar câncer de pele depois de um contato prolongado e repetido com a pele e é nocivo para o meio ambiente!

INDICAÇÃO II:

  • Óleo usado não possui as características necessárias de lubrificação e não é apropriado para a lubrificação da corrente.

12 Colocando Óleo Lubrificante para Correntes

Preparar a máquina

  1. Limpar a tampa do tanque e a área ao redor antes de abastecer, para que não caia sujeira no tanque.

  2. Posicionar a máquina de tal forma que a tampa do tanque indique para cima.

  3. Abrir o tanque.

Abastecer o tanque de óleo

  • Colocar óleo lubrificante para correntes toda vez que abastecer de combustível. Ao abastecer, não derramar óleo e não encher até a borda.

  • Fechar o tanque.

  • Quando terminar o combustível, ainda deverá ter um resto de óleo para corrente no tanque de óleo.

Se a quantidade de óleo no tanque não diminuir, pode haver um problema na vazão do óleo lubrificante: verificar a lubrificação da corrente, limpar os canais de transporte do óleo, e se necessário, procurar uma assistência técnica.

 

A STIHL recomenda que as manutenções e consertos sejam realizados por uma Assistência Técnica Autorizada STIHL.

13 Verificando a Lubrificação da Corrente

A corrente sempre deve lançar um pouco de óleo.

INDICAÇÃO:

  • Nunca trabalhar sem lubrificação da corrente! O conjunto de corte é destruído irreparavelmente em pouco tempo com a corrente em movimento a seco. Verificar sempre a lubrificação da corrente e o nível de óleo no tanque antes de iniciar o trabalho.

Cada corrente nova precisa de um período de rodagem de 2 a 3 minutos. Verificar o tensionamento da corrente depois da rodagem e, se necessário, corrigi-lo. Veja o capítulo "Verificar o tensionamento da corrente".

14 Freio da Corrente

O freio da corrente de motosserra é um dispositivo de segurança projetado para interromper imediatamente o movimento da corrente em caso de recuo ou outras situações perigosas. Sua função principal é proteger o operador de possíveis lesões causadas pela rápida movimentação da corrente. O freio pode ser ativado manualmente pelo operador, empurrando uma alavanca situada na frente da empunhadura dianteira, ou automaticamente em resposta a um forte recuo, conhecido como "kickback", que faz com que a alavanca se mova para a posição de frenagem. Esta ação instantânea de parar a corrente reduz significativamente o risco de acidentes graves, proporcionando um nível adicional de segurança durante o uso da motosserra.

Bloquear a corrente

O freio da corrente de motosserra deve ser ativado:

  • Em caso de emergência

  • Durante a partida

  • Na marcha lenta

Para ativar o freio, empurre a proteção da mão com a mão esquerda para frente, em direção à ponta do sabre, ou automaticamente com o rebote da motosserra: a corrente é bloqueada e para.

Soltar o freio da corrente

Puxar a proteção da mão em direção ao cabo dianteiro.

INDICAÇÃO:

  • Antes de acelerar (exceto para verificar o funcionamento) e antes de serrar, deve-se soltar o freio da corrente. A rotação alta do motor com o freio da corrente acionado (corrente parada), mesmo depois de pouco tempo, leva a danos no motor e acionamento da corrente (embreagem, freio da corrente).

  • O freio da corrente é acionado automaticamente com um rebote suficientemente forte. Através da inércia da proteção da mão, a proteção da mão é arremessada para frente em direção ao sabre, mesmo que a mão esquerda não esteja segurando no cabo do punho atrás da proteção da mão, como, por exemplo, no corte de abate.

  • O freio da corrente somente funciona se nada foi modificado na proteção da mão.

Verificar o funcionamento do freio da corrente

Toda vez antes de iniciar o trabalho: com o motor na marcha lenta, bloquear a corrente (empurrar a proteção da mão em direção ao sabre) e acelerar brevemente (máx. 3 segundos). A corrente não pode se mover. A proteção da mão deve estar sem sujeira e moverse facilmente.

Manutenção do freio da corrente

O freio da corrente está sujeito a um desgaste por atrito (desgaste natural). Para que possa cumprir sua função, deve ser realizada uma revisão e manutenção regularmente por pessoas especializadas. A STIHL recomenda que as manutenções e consertos sejam realizados por uma Assistência Técnica Autorizada STIHL, observando os seguintes intervalos de tempo:

  • Uso profissional de tempo integral: trimestralmente

  • Uso semi-profissional de tempo parcial: semestralmente

  • Uso eventual: anualmente

15 Trabalho Com Motossera no Inverno

Trabalhar com motosserra no inverno requer cuidados especiais devido às condições climáticas adversas que podem afetar o desempenho do equipamento e aumentar os riscos de acidentes. Aqui estão algumas orientações para manter sua motosserra em ótimo estado e garantir uma operação segura:

Segurança:

  • Equipamentos de Proteção Individual (EPI):

    • Use roupas adequadas que protejam contra o frio e possíveis impactos. Inclua capacete, proteção ocular, luvas e botas antiderrapantes​​.
  • Cuidados ao Trabalhar:

    • Certifique-se de que o solo não esteja escorregadio e tenha uma base firme. Em dias de vento forte ou tempestades, considere adiar o trabalho para evitar acidentes.

Ajustes e Manutenção:

  • Ajuste de Inverno:
    • Ajuste do Shutter: Se a sua motosserra possui uma configuração de "inverno/verão", ajuste para "inverno" para ativar o pré-aquecedor do carburador. Isso previne a formação de gelo no carburador, melhorando o desempenho em temperaturas baixas.
  • Limpeza Regular:

    • Cobertura do Pinhão e Freio de Corrente: Mantenha a cobertura do pinhão limpa para evitar que umidade e serragem congelem, o que pode obstruir o funcionamento do freio de corrente e do pinhão. Limpe também o freio de corrente frequentemente, especialmente se ele estiver na cobertura do pinhão​​.

    • Sistema de Resfriamento: Verifique e limpe regularmente a entrada de ar para evitar superaquecimento causado por neve, gelo e serragem acumulados​.

  • Lubrificação:

    • Óleo de Corrente: Aumente a quantidade de óleo na corrente durante condições de neve e umidade para garantir a lubrificação adequada. Use óleo específico para inverno, que é mais viscoso em baixas temperaturas​​.
  • Combustível:

    • Prevenção de Umidade: Limpe a área ao redor do tanque de combustível antes de reabastecer para evitar que neve e umidade entrem no tanque, o que pode causar problemas de funcionamento. Mantenha a mistura de combustível à temperatura constante para reduzir a condensação​.
  • Afiação da Corrente:

    • Ângulo de Afiação: Diminua o ângulo de afiação da corrente em cerca de 5 graus para melhorar o corte de madeira congelada. Considere usar correntes com pontas de carbeto para uma durabilidade maior em condições extremas​.

Preaquecer o Carburador

1 - Em temperaturas abaixo de 10 °C

  • Com uma chave combinada ou uma chave de fenda, desengatar a corrediça (1) da posição (trabalho no verão).
  • Engatar a corrediça na posição (trabalho no inverno) – indicando para cima.

O carburador agora recebe ar quente da região do cilindro, sem risco de congelamento do carburador.

Em temperaturas acima de 20 °C, colocar a corrediça necessariamente na posição (trabalho no verão), caso contrário há risco de danos no motor, devido ao superaquecimento.

2 - Em temperaturas abaixo de -10 °C

Em invernos rigorosos (temperaturas abaixo de -10 °C, neve pulverulenta ou movediça), recomenda-se a utilização do jogo "Placa de cobertura" (acessório especial).

Quando a rotação na marcha lenta é irregular ou há má aceleração:

  • Girar o parafuso de regulagem da marcha lenta (L): Faça uma rotação de 1/4 de volta em sentido anti-horário.

Após cada correção no parafuso de regulagem da marcha lenta (L), pode ser necessário também um ajuste no parafuso de encosto da marcha lenta (LA). Consulte o capítulo "Regular o carburador" para mais detalhes.

  • Se a motosserra estiver muito fria (geada), após ligar a máquina, aqueça-a até a temperatura de trabalho, submetendo o motor a uma maior rotação na marcha lenta (solte o freio da corrente!).

Jogo Placa de Cobertura

O jogo evita a penetração de neve pulverolenta ou movediça.

Ao utilizar o jogo placa de cobertura, a corrediça deve estar na posição de trabalho no inverno.

Se o motor apresentar perturbações, verificar primeiro a necessidade do uso do jogo placa de cobertura.

16 Ligar e Desligar a Motosserra

Posições do interruptor combinado:

  • Stop 0: Motor desligado – ignição está desligada.

  • Posição de trabalho: Motor está ligado ou pode ser dado a partida.

  • Posição de meia-aceleração: Nesta posição, o motor já aquecido é ligado. Ao acionar o interruptor combinado, a alavanca do acelerador passa para a posição de trabalho.

  • Borboleta do afogador fechada: Nesta posição, o motor frio é ligado.

Regulagem do interruptor combinado

Para alterar a posição do interruptor combinado da posição de trabalho para borboleta do afogador fechada, pressione e mantenha pressionados a trava do acelerador e a alavanca do acelerador ao mesmo tempo. Em seguida, ajuste o interruptor combinado.

Para alterar para a posição de meia-aceleração, coloque o interruptor combinado primeiro na posição de borboleta do afogador fechada, e então passe o interruptor combinado para a posição de meia-aceleração.

A troca para a posição de meia-aceleração é possível somente a partir da posição de borboleta do afogador fechada.

Ao pressionar a trava do acelerador e, ao mesmo tempo, dar um toque na alavanca do acelerador, o interruptor combinado passa da posição de meia-aceleração para a posição de trabalho.

Para desligar o motor, passe o interruptor combinado para a posição stop.

Posição borboleta do afogador fechada

– com motor frio

– quando o motor apaga ao ser acelerado

– quando o combustível foi todo consumido (motor parou)

Posição de meia-aceleração

– com o motor quente (assim que o motor tiver funcionado aproximadamente um minuto)

– após a primeira ignição

– após ventilar a câmara de combustão, quando o motor afogou

Segurar a motosserra

Existem duas possibilidades de segurar a motosserra para ligá-la.

1 - Sobre o chão:

  • Coloque a motosserra numa posição segura no chão e posicione-se com segurança. A corrente não deve tocar em objetos nem no chão.

  • Segure a motosserra no cabo dianteiro, com a mão esquerda firme contra o chão e o polegar por baixo do cabo.

  • Coloque o pé direito no punho traseiro.

2 - Entre os joelhos ou as coxas:

  • Prender o punho traseiro entre os joelhos ou as coxas.

  • Com a mão esquerda, segurar o cabo da mão dianteiro, com o polegar por baixo do mesmo.

Acionamento

  • Com a mão direita, puxe o manípulo de arranque lentamente para fora, até o encosto, e depois puxe rápida e fortemente, pressionando o cabo dianteiro para baixo. Não puxe todo o cordão para fora, pois há perigo de ruptura. Não deixe o manípulo de arranque correr para trás. Guie-o de volta, cuidando para que o cordão de arranque se enrole corretamente.

Quando o motor é novo ou se a máquina estiver parada por muito tempo, em máquinas sem bomba manual de combustível adicional pode ser necessário puxar o cordão de arranque várias vezes até que seja transportado combustível suficiente.

Ligar a máquina (Somente para modelos com válvula de descompressão)

  • Pressione o botão e a válvula de descompressão abrirá. Na primeira ignição, a válvula de descompressão fecha automaticamente. Portanto, sempre aperte o botão antes de cada processo de partida.

Para Todos os Modelos

  • Aviso: Nenhuma outra pessoa pode permanecer na área de alcance da motosserra.
  • Empurre a proteção da mão (1) para frente: a corrente estará bloqueada.

  • Pressione e segure a trava do acelerador (2) e, ao mesmo tempo, a alavanca do acelerador (3). Regule o interruptor combinado (4).

Posição borboleta do afogador fechada

– Com o motor frio (mesmo se o motor apagou ao ser acelerado).

Posição de meia-aceleração

– Com o motor quente (assim que o motor funcionou por aproximadamente um minuto).

  • Segurar a motosserra e dar a partida.

Após a primeira ignição

  1. Colocar o interruptor combinado (1) na posição de meia-aceleração;

  2. Pressionar o botão da válvula de descompressão (conforme o equipamento).

  3. Segurar a motosserra e dar a partida.

Assim que o motor ligar

  • Pressionar a trava do acelerador e tocar levemente na alavanca do acelerador (2), o interruptor combinado (1) passa para a posição de trabalho e o motor passa para a marcha lenta.
  • Puxar a proteção da mão em direção ao cabo dianteiro.

A corrente está desbloqueada e a motosserra está pronta para o trabalho

INDICAÇÃO:

Somente acelerar com o freio da corrente desbloqueado. A rotação alta do motor com o freio da corrente bloqueado (corrente parada) em pouco tempo ocasiona danos na embreagem e no freio da corrente.

Em temperaturas muito baixas

  • Acelerar um pouco e deixar o motor aquecer por um curto tempo.

  • Se necessário, colocar na posição de trabalho no inverno. Veja capítulo "Trabalho no inverno".

Desligar o motor

  • Colocar o interruptor combinado na posição stop 0.

Se o motor não ligar

Após a primeira ignição do motor, se o interruptor combinado não for colocado a tempo da posição de borboleta do afogador fechada (l) para a posição de meia-aceleração (n), o motor pode ter afogado.

  • Coloque o interruptor combinado na posição stop (0).

  • Retire a vela de ignição. Veja o capítulo "Vela de ignição".

  • Seque a vela de ignição.

  • Puxe o cordão de arranque várias vezes para ventilar a câmara de combustão.

  • Recoloque a vela de ignição. Veja o capítulo "Vela de ignição".

  • Coloque o interruptor combinado na posição de meia-aceleração, mesmo se o motor estiver frio.

  • Pressione o botão da válvula de descompressão (conforme o equipamento).

  • Dê nova partida no motor.

17 Indicações de Serviços

Durante o primeiro período de serviço

A máquina nova não deve funcionar sem carga, em alta rotação, até consumir o terceiro tanque de combustível, para que esta não seja submetida a sobrecarga durante a fase de amaciamento. As peças móveis devem adaptar-se umas às outras durante a fase de amaciamento; no mecanismo propulsor existe uma maior resistência de fricção. O motor atinge a sua potência máxima após consumir de 5 até 15 tanques de combustível.

Durante o trabalho

INDICAÇÃO I: Não regular o carburador com uma mistura mais pobre, para atingir uma potência supostamente maior, pois o motor poderia ser danificado. Veja capítulo "Regular o carburador".

INDICAÇÃO II: Somente acelerar com o freio da corrente desbloqueado. Rotação alta do motor com o freio da corrente bloqueado (corrente parada) leva, já depois de pouco tempo, a danos no motor e no acionamento da corrente (embreagem, freio da corrente)

Controlar o esticamento da corrente com frequência: Uma corrente nova deve ser reesticada com mais frequência do que uma que está em uso há mais tempo.

No estado frio: A corrente deve estar ajustada no lado inferior do sabre, mas ainda deve ser possível puxá-la manualmente sobre o sabre. Se necessário, reesticar a corrente. Veja capítulo "Esticar a corrente".

Com a temperatura de serviço: A corrente se estende e forma um arco. Os elos de tração no lado inferior do sabre não devem sair da ranhura, pois há o risco da corrente saltar. Reesticar a corrente. Veja capítulo "Esticar a corrente".

INDICAÇÃO III: A corrente se contrai durante o esfriamento. Uma corrente não afrouxada pode danificar o virabrequim e o mancal.

Depois de um serviço prolongado em plena carga: Deixar o motor em funcionamento na marcha lenta durante um curto período de tempo, para que o calor maior seja transportado pela corrente de ar refrigerado. Assim evita-se que as peças do mecanismo propulsor (sistema de ignição, carburador) sejam sobrecarregadas por um acúmulo de calor.

Após o trabalho

  • Afrouxar a corrente se ela esticar durante o trabalho pela temperatura de serviço.

INDICAÇÃO I: Sempre afrouxar a corrente depois do trabalho! Ao esfriar, a corrente se contrai. Uma corrente sem folga pode danificar o virabrequim e o mancal.

Quando parada por um curto período: Deixar o motor esfriar. Guardar a máquina com o tanque cheio, em um local seco, longe de fontes inflamáveis, até o próximo uso.

Quando parada por um longo período: Veja capítulo "Guardar a máquina".

18 Regulando a Quantidade de Óleo

A bomba de óleo ajustável é equipamento especial.

Diferente comprimentos de corte, tipos de madeira e técnicas de trabalho exigem diferentes quantidades de óleo.

Com os pinos de regulagem (1) (na parte inferior da máquina) pode ser ajustada a quantidade de óleo, conforme necessário.

Regulagem-Ematic (E), quantidade de óleo intermediária:

  • Girar os pinos de regulagem para „E“ (regulagem-Ematic).

Aumentar a quantidade de óleo:

  • Girar os pinos de regulagem em sentido horário.

Diminuir a quantidade de óleo:

  • Girar os pinos de regulagem em sentido anti-horário.

INDICAÇÃO: A corrente sempre deve estar lubrificada com óleo para correntes.

19 Cuidados com o Sabre

Informações sobre o Sabre

O sabre de uma motosserra, também conhecido como barra de guia, é a peça longa e plana que suporta e guia a corrente da motosserra enquanto ela corta. Ele é essencial para o funcionamento adequado da motosserra, permitindo cortes precisos e controlados. A corrente da motosserra corre ao longo do sabre, e sua manutenção adequada é crucial para a segurança e eficiência da ferramenta.

Funções e Características do Sabre:

  1. Guia da Corrente: O sabre serve como um trilho para a corrente, mantendo-a alinhada e tensionada corretamente.

  2. Material: Geralmente é feito de aço resistente para suportar o desgaste e a tensão do corte.

  3. Comprimento: Varia conforme o modelo da motosserra e a aplicação, podendo ser curto para uso doméstico ou longo para uso profissional em corte de madeira.

  4. Lubrificação: Muitas motosserras possuem sistemas de lubrificação automática que aplicam óleo à corrente e ao sabre para reduzir o atrito e o desgaste.

Importância da Manutenção do Sabre:

  • Esticamento da Corrente: Manter a corrente bem ajustada no sabre é crucial para evitar que a corrente salte durante o uso.

  • Limpeza: É importante limpar o sabre regularmente para remover serragem e detritos que possam obstruir a passagem da corrente.

  • Substituição: O sabre deve ser inspecionado periodicamente e substituído se estiver excessivamente desgastado ou danificado.

Cuidados

  • Vire o sabre após cada afiação da corrente e após cada substituição da corrente para evitar um desgaste unilateral, especialmente na cabeça e no lado inferior.

  • Limpe regularmente o furo de entrada de óleo (1), o canal de saída de óleo (2) e a ranhura do sabre (3).

  • Meça a profundidade da ranhura, com a ponta de medição no calibrador de correntes (acessório especial), na zona de maior desgaste no trilho.

Se a ranhura não tiver no mínimo esta profundidade:

  • Substituir o sabre

Se o sabre não for substituído, os elos de tração arrastam no fundo da ranhura, ou seja, a base do dente e os elos de ligação não deslizam no trilho do sabre.

20 Sistema do Filtro de Ar

O sistema do filtro de ar pode ser adaptado às diferentes condições de trabalho através da montagem de diferentes filtros. Modificações são simples de fazer.

Dependendo o equipamento o motor é equipado com um filtro de tela ou filtro Vlies.

Filtro de tela

Para condições normais de trabalho e trabalho no inverno.

Filtro Vlies

Para regiões de trabalho muito secas e de muito pó.

21 Limpeza do Filtro de Ar

Quando a potência do motor diminuir consideravelmente

Retirar a tampa do filtro:

  • Colocar o interruptor combinado na posição stop 0.

  • Girar o botão (1) em direção da seta.

  • Retirar a tampa do filtro (2).

Desmontar o filtro de ar:

  • Limpar a sujeira acumulada ao redor do filtro.

INDICAÇÃO: Para montagem e desmontagem do filtro, não usar nenhuma ferramenta, pois pode danificar o filtro.

  • Retirar o filtro.

Limpar o filtro de ar:

  • Bater o filtro ou limpá-lo com auxílio de ar comprimido, soprando de dentro para fora.

Quando houver sujeira pesada:

  • Lavar o filtro com o líquido de limpeza STIHL (acessório especial) ou outro líquido de limpeza não inflamável (por ex. água morna com sabão) e depois secá-lo.

INDICAÇÃO: Não escovar o filtro Vlies!

  • Filtros danificados devem ser substituídos.

Montar o filtro de ar:

  • Colocar o filtro (3) e posicioná-lo (seta).

  • Montar a tampa do filtro.

22 Regulando o Carburador

Informações básicas

O carburador sai da fábrica com uma regulagem padrão.

Esta regulagem está definida de tal forma, que em qualquer condição operacional seja conduzida uma mistura ideal de ar-combustível para o motor.

Regulagem padrão

  • Desligar o motor.

  • Verificar o filtro de ar e se necessário, limpar ou substituir.

  • Verificar a tela de proteção contra faíscas (disponível somente em alguns países) no silenciador e se necessário, limpar ou substituir.

  • Girar os dois parafusos de regulagem com cuidado em sentido horário, até o encosto.

  • Girar o parafuso de regulagem principal (H) 1 volta em sentido antihorário.

  • Girar o parafuso de regulagem da marcha lenta (L) 1 volta em sentido anti-horário.

Regular a marcha lenta

  • Efetuar a regulagem padrão.

  • Ligar o motor e deixar a máquina aquecer.

Motor para na marcha lenta:

  • Abrir o parafuso de regulagem da marcha lenta (L) 1 volta.

  • Girar o parafuso de encosto da marcha lenta (LA) em sentido horário, até que a corrente comece a se movimentar. Então girar 1/2 volta em sentido anti-horário.

A corrente movimenta-se na marcha lenta:

  • Abrir o parafuso de regulagem da marcha lenta (L) 1 volta.

  • Girar o parafuso de encosto da marcha lenta (LA) em sentido antihorário, até que a corrente fique parada. Então girar 1/2 volta na mesma direção.

AVISO: Se após a regulagem, a corrente não ficar parada na marcha lenta, é necessário levar a motosserra para uma revisão em uma assistência técnica numa Concessionária STIHL.

A rotação na marcha lenta é irregular; má aceleração (apesar do parafuso de regulagem da marcha lenta = 1)

A regulagem da marcha lenta está muito pobre.

  • Girar o parafuso de regulagem da marcha lenta (L) em sentido antihorário, até que o motor funcione uniformemente e acelere bem.

Depois de cada correção no parafuso de regulagem da marcha lenta (L), na maioria dos casos, também é necessária uma modificação no parafuso de encosto da marcha lenta (LA).

Correção da regulagem do carburador no uso em grandes altitudes

Quando a potência do motor não é satisfatória, pode ser necessária uma pequena correção:

  • Efetuar a regulagem padrão;

  • Deixar o motor aquecer;

  • Girar o parafuso de regulagem principal (H) um pouquinho em sentido horário (mais pobre), no máximo até o encosto.

INDICAÇÃO: Após retornar do trabalho em grandes altitudes, regular o carburador novamente na regulagem padrão. Quando a regulagem do carburador é muito pobre, há risco de danos no motor, decorrentes da falta de lubrificação e superaquecimento.

23 Vela de Ignição

  • Quando a potência do motor é insuficiente, quando o motor arranca mal ou quando há perturbações na marcha lenta, verificar primeiro a vela de ignição.

  • Depois de aproximadamente 100 horas de trabalho, substituir a vela de ignição, ou antes, se os eletrodos estiverem muito gastos. Utilizar somente velas de ignição resistivas e autorizadas pela STIHL. Veja capítulo "Dados técnicos".

Desmontar a vela de ignição

  • Colocar o interruptor combinado na posição stop 0.
  • Soltar o botão (1) em direção da seta.

  • Retirar a tampa do filtro (2).

  • Retirar o terminal da vela de ignição.

  • Desparafusar a vela de ignição.

Verificar a vela de ignição

  • Limpar a vela de ignição suja.

  • Verificar a distância dos eletrodos (A) e se necessário, reajustar. Veja o valor no capítulo "Dados técnicos".

  • Eliminar as fontes que causam sujeira na vela de ignição.

Possíveis causas são:

  • – Excesso de óleo de motor no combustível

  • – Filtro de ar sujo

  • – Condições de trabalho desfavoráveis

AVISO: Se a porca de ligação (1) não estiver bem apertada ou estiver faltando, podem surgir faíscas. Se o trabalho for realizado em ambientes altamente inflamáveis ou explosivos, podem ocorrer incêndios ou explosões. As pessoas podem sofrer ferimentos graves ou podem ocorrer danos materiais.

  • Utilizar velas de ignição resistivas, com porca de ligação firme.

Montar a vela de ignição

  • Colocar a vela de ignição e apertar firmemente o terminal da vela de ignição.

  • Montar a tampa do filtro.

24 Guardando a Motosserra

Em Intervalos de Tempo de Serviço Acima de 30 Dias

  • Esvazie e limpe o tanque de combustível em local bem ventilado.

  • Elimine o restante do combustível conforme normas de segurança e meio ambiente.

  • Deixe o motor funcionando até esgotar o combustível do carburador, pois do contrário as membranas do carburador podem colar.

  • Retire o sabre e a corrente, limpe-os e lubrifique-os com óleo para proteção.

  • Limpe bem a máquina, principalmente as aletas do cilindro e o filtro de ar.

  • Ao utilizar óleo biológico para lubrificação da corrente (por exemplo, STIHL BioPlus), encha completamente o reservatório.

  • Guarde a máquina em local seco e seguro. Assegure que pessoas não autorizadas não tenham acesso à máquina (por exemplo, crianças).

25 Verificando e Substituindo o Pinhão da Corrente

  • Retirar a tampa do pinhão da corrente, a corrente e o sabre.

  • Soltar o freio da corrente. Puxar a proteção da mão contra o cabo dianteiro.

Substituir o pinhão da corrente

– Após o desgaste de duas correntes ou antes.

– Quando as marcas de rodagem (seta) estiverem com profundidade acima de 0,5 mm. Caso contrário, a durabilidade da corrente é prejudicada. Para verificar a profundidade, utilizar o calibrador de correntes (acessório especial).

A durabilidade do pinhão da corrente aumenta, quando duas correntes são usadas alternadamente no mesmo período.

A STIHL recomenda que sejam utilizados os pinhões de corrente originais STIHL, para garantir a função ideal do freio da corrente.

  • Com uma chave de fenda, retire a arruela de segurança (1).

  • Retire a arruela (2).

  • Retire o rolete anelar (3).

  • Examine o perfil de arrastamento no tambor da embreagem (4). Se houver marcas profundas de desgaste, substitua também o tambor da embreagem.

  • Retire o tambor da embreagem ou o pinhão (5) com a gaiola de agulhas (6) do virabrequim. No sistema de freio da corrente QuickStop Super, pressione antes a trava do acelerador.

Montar o pinhão / rolete anelar

  • Limpe a ponta do eixo do virabrequim e a gaiola de agulhas e lubrifique-os com graxa STIHL (acessório especial).

  • Empurre a gaiola de agulhas sobre a ponta do eixo do virabrequim.

  • Coloque o tambor da embreagem e o pinhão da corrente perfilado e depois gire-os aproximadamente 1 volta, para que o arrastador do acionamento da bomba de óleo engate. No sistema de freio da corrente QuickStop Super, pressione antes a trava do acelerador.

  • Coloque o rolete anelar com as cavidades ocas para fora.

  • Coloque a arruela e a arruela de segurança novamente sobre o virabrequim.

26 Cuidar e Afiar a Corrente

Serrar sem esforço com corrente afiada de maneira correta

Uma corrente afiada corretamente entra sem dificuldade na madeira com uma pequena pressão de avanço.

Não trabalhe com corrente sem fio ou danificada. Isto resulta em maior esforço físico, maior vibração, corte insatisfatório e alto desgaste.

  • Limpe a corrente.

  • Examine a corrente quanto a trincas e rebites danificados.

  • Substitua as peças danificadas ou gastas e adapte-as às restantes em forma e grau de desgaste e retrabalhe-as conforme necessário.

Correntes de metal duro (Duro) são especialmente resistentes ao desgaste. Para um resultado de afiação ideal, a STIHL recomenda procurar assistência técnica em uma Concessionária STIHL.

AVISO: Os ângulos e medidas a seguir relacionados devem necessariamente ser mantidos. Uma corrente mal afiada, especialmente com limitador de profundidade muito baixo, pode provocar rebote da motosserra. Perigo de ferimentos!

Passo da corrente

A identificação (a) do passo da corrente está gravada na área do limitador de profundidade de cada dente de corte.

A classificação do diâmetro da lima ocorre de acordo com o passo da corrente. Veja tabela "Ferramentas para afiação".

Os ângulos no dente de corte devem ser mantidos durante a reafiação.

Ângulo de afiação e ângulo frontal

A Ângulo de afiação: As correntes STIHL são afiadas num ângulo de 30°. Exceções são correntes de corte longitudinal com ângulo de afiação de 10°. Correntes de corte longitudinal contêm um X na identificação.

B Ângulo frontal: Ao utilizar o suporte de lima e o diâmetro da lima especificado, obtêm-se automaticamente o ângulo frontal correto.

Os ângulos devem ser iguais em todos os dentes da corrente. Com ângulos desiguais: corte áspero e não uniforme, maior desgaste até a ruptura da corrente.

Suporte para lima

  • Utilizar um suporte para lima

Afiar as correntes manualmente somente com o auxílio de um suporte para lima (acessório especial, veja tabela "Ferramentas para afiação"). Suportes para lima tem as marcações para o ângulo de afiação.

Utilizar somente limas especiais para correntes! Outras limas não são apropriadas na sua forma e no seu picado.

Para controlar os ângulos

O calibrador de correntes STIHL (acessório especial, veja tabela "Ferramentas para afiação") é uma ferramenta universal para controlar o ângulo de afiação e frontal, a altura do limitador de profundidade, o comprimento do dente de corte, a profundidade da ranhura e para limpar a ranhura e os furos da entrada de óleo.

Afiar corretamente

  • Escolha a ferramenta de afiação de acordo com o passo da corrente.

  • Prenda o sabre, se necessário.

  • Bloqueie a corrente, colocando a proteção da mão para frente.

  • Para puxar a corrente adiante, puxe a proteção da mão em direção ao cabo dianteiro: o freio da corrente estará desbloqueado. No sistema de freio da corrente Quickstop Super, pressione também a trava do acelerador.

  • Afie com frequência, desgastando pouco. Para a reafiação simples, geralmente são necessárias de duas a três limadas.

  • Conduza a lima: na horizontal (em ângulo reto em relação à superfície lateral do sabre), de acordo com os ângulos mencionados, conforme as marcações no suporte para lima. Coloque o suporte para lima sobre a aba superior do dente e sobre o limitador de profundidade.

  • Lime somente de dentro para fora.

  • A lima deve cortar somente no traço para frente. Ao voltar, levante a lima.

  • Não lime os elos de ligação e de tração.

  • Gire a lima em distâncias regulares para evitar um desgaste unilateral.

  • Retire a rebarba com um pedaço de madeira dura.

  • Verifique o ângulo com o calibrador de correntes.

Todos os dentes de corte devem ter o mesmo comprimento. Com comprimentos diferentes nos dentes, as alturas dos dentes também serão diferentes, o que pode causar um deslize áspero e possível ruptura da corrente.

  • Lime todos os dentes de corte de acordo com o comprimento do dente mais curto. De preferência, mande fazer isso em uma assistência técnica, com um afiador elétrico.

Distância do limitador de profundidade

O limitador de profundidade determina a profundidade de penetração na madeira e, por consequência, a espessura das aparas.

a Distância entre o limitador de profundidade e o gume.

Ao cortar madeira macia fora do período de geada, a distância pode ser aumentada em até 0,2 mm (0.008").

Reafiar o limitador de profundidade

A distância do limitador de profundidade reduz-se durante a afiação dos dentes de corte.

  • Verificar a distância do limitador de profundidade após cada afiação.
  • Colocar o calibrador de correntes (1) adequado para o passo da corrente sobre a corrente e pressionar sobre o dente de corte a ser verificado. Se o limitador de profundidade apontar para fora do calibrador, retrabalhá-lo.

A parte superior da saliência do elo de tração (2) (com a marca auxiliar) é retrabalhada simultaneamente com o limitador de profundidade do dente de corte.

AVISO: A região restante da saliência do elo de tração não deve ser limada, pois a tendência de rebote da motosserra pode aumentar.

  • Retrabalhar o limitador de profundidade nivelado pelo calibrador.

Em seguida, limar na diagonal, paralelo à marca auxiliar (veja seta) a aba superior do limitador de profundidade, diminuindo o local mais alto do limitador de profundidade.

AVISO: Limitadores de profundidade muito baixos aumentam a tendência ao rebote da motosserra.

  • Coloque o calibrador sobre a corrente. O local mais alto do limitador de profundidade deve estar nivelado com o calibrador.

  • Depois da afiação, limpe bem a corrente, retirando as rebarbas e limalhas, e lubrifique-a bem.

  • Se houver uma longa interrupção de trabalho, limpe a corrente e guarde-a lubrificada com óleo.

Ferramentas para afiação (acessório especial)

27 Indicações de Manutenção e Conservação

28 Minimizar Desgaste e Evitar Danos

Seguir as determinações deste manual de instruções de serviços evita o desgaste excessivo e danos na máquina.

O uso, a manutenção e o armazenamento da máquina devem ser seguidos com todo cuidado, conforme descrito neste manual de instruções. Todos os danos causados pela não observância das indicações de segurança, manuseio e manutenção são de responsabilidade do usuário. Isto vale principalmente para:

  • Modificações no produto não liberadas pela STIHL;

  • Utilização de ferramentas ou acessórios não adequados ou de baixa qualidade, mesmo que liberados para esta máquina;

  • Utilização indevida da máquina;

  • Utilização da máquina em eventos esportivos ou competições;

  • Danos em consequência do uso contínuo da máquina com peças defeituosas.

Trabalhos de manutenção

Todos os trabalhos relacionados no capítulo "Indicações de manutenção e conservação" devem ser efetuados regularmente. Os trabalhos de manutenção que não podem ser executados pelo próprio usuário devem ser encaminhados para uma Assistência Técnica.

A STIHL recomenda que os serviços de manutenção e consertos sejam realizados somente em uma Assistência Técnica Autorizada STIHL, pois seus funcionários recebem treinamentos periódicos e todas as informações técnicas das máquinas.

Se esses trabalhos não forem executados ou forem feitos de maneira indevida, podem surgir danos cuja responsabilidade é do usuário. Podemos citar:

  • Danos no motor em consequência da manutenção não executada em tempo hábil ou de maneira indevida (por exemplo, do filtro de ar e combustível), regulagem errada do carburador ou limpeza insuficiente dos condutos de ar (arestas de sucção, aletas do cilindro);

  • Corrosão e outros danos decorrentes de armazenagem imprópria;

  • Danos na máquina decorrentes da utilização de peças de reposição de baixa qualidade.

Peças de desgaste

Algumas peças da máquina estão sujeitas a um desgaste natural após determinado tempo de uso e devem ser substituídas conforme o tipo e tempo de uso. Podemos citar, entre outras:

  • Corrente, sabre;

  • Peças de acionamento (embreagem, tambor da embreagem, pinhão da corrente);

  • Filtros (de ar, óleo, combustível);

  • Sistema de arranque;

  • Vela de ignição;

  • Elementos de amortização do sistema anti-vibratório.

29 Identificação de Peças Importantes

1. Botão do fecho da tampa do filtro:

Dispositivo que prende a tampa do filtro de ar, facilitando sua remoção e substituição para manutenção.

2. Parafusos de regulagem do carburador:

Parafusos utilizados para ajustar a mistura de ar e combustível no carburador, permitindo a afinação do desempenho do motor.

3. Terminal da vela de ignição:

Conector que liga o cabo de alta tensão à vela de ignição, fornecendo a faísca necessária para a combustão.

4. Corrediça (trabalho no verão e trabalho no inverno):

Ajuste que permite a operação eficiente da motosserra em diferentes condições climáticas, prevenindo problemas como o congelamento do carburador.

5. Válvula de descompressão:

Dispositivo que reduz a pressão no cilindro durante a partida, facilitando o arranque do motor.

6. Freio da corrente:

Mecanismo de segurança que para a corrente instantaneamente em caso de recuo ou movimento brusco, evitando acidentes.

7. Pinhão da corrente:

Engrenagem que aciona a corrente, transmitindo o movimento do motor para a corrente de corte.

8. Tampa do pinhão da corrente:

Cobre e protege o pinhão e a área ao redor, permitindo acesso para manutenção e ajuste.

9. Segurança da corrente:

Componentes de segurança que evitam o salto da corrente durante a operação.

10. Dispositivo tensor da corrente:

Mecanismo que ajusta a tensão da corrente, garantindo seu funcionamento adequado e seguro.

11. Batente de garras:

Peça metálica dentada que proporciona estabilidade ao cortar, permitindo um corte mais controlado.

12. Sabre:

Barra guia que suporta e direciona a corrente de corte.

13. Corrente Oilomatic:

Tipo de corrente de motosserra que inclui orifícios para melhor lubrificação, prolongando a vida útil da corrente e do sabre.

14. Tampa do tanque de óleo:

Fecho que cobre o reservatório de óleo da corrente, permitindo seu enchimento.

15. Silenciador:

Dispositivo que reduz o ruído do motor da motosserra.

16. Proteção da mão dianteira:

Escudo que protege a mão do operador contra galhos e outros detritos.

17. Cabo da mão dianteiro (cabo do punho):

Parte da motosserra onde o operador segura com a mão dianteira, proporcionando controle e estabilidade.

18. Manípulo de arranque:

Puxador que, ao ser puxado, aciona o motor da motosserra.

19. Tampa do tanque de combustível:

Fecho que cobre o reservatório de combustível, permitindo seu enchimento.

20. Interruptor combinado:

Controle que combina várias funções, como ligar, desligar e afogar o motor.

21. Alavanca do acelerador:

Controle que regula a velocidade do motor.

22. Trava do acelerador:

Dispositivo de segurança que impede a ativação acidental do acelerador.

23. Cabo da mão traseiro:

Parte da motosserra onde o operador segura com a mão traseira, proporcionando controle adicional

24. Proteção da mão traseira:

Escudo que protege a mão do operador enquanto segura o cabo traseiro.

30 Dados Técnicos da Motosserra

Motor

Motor dois tempos STIHL, monocilíndrico.

MS 361:

  • Cilindrada: 59,0 cm³

  • Diâmetro do cilindro: 47 mm

  • Curso do pistão: 34 mm

  • Potência conforme ISO 7293: 3,4 kW (4,6 PS) a 10.000 1/min

  • Rotação na marcha lenta: conforme ISO 11681 +/- 50 1/min

Sistema de ignição

Sistema de ignição magnética, comandada eletronicamente.

  • Vela de ignição (resistiva): Bosch WSR 6 F, NGK BPMR 7 A

  • Distância dos eletrodos: 0,5 mm

Sistema de combustível

Carburador de membrana multiposicionável, com bomba de combustível integrada.

  • Capacidade do tanque de combustível: 685 cm³ (0,685 l)

Lubrificação da corrente

Bomba de óleo com pistão giratório, dependente de rotação de trabalho, totalmente automática, com regulagem manual da quantidade de óleo.

  • Capacidade do tanque de óleo: 325 cm³ (0,325 l)

Peso

Sem combustível, sem conjunto de corte

  • MS 361: 5,6 kg

Conjunto de corte

O comprimento de corte real pode ser menor do que o comprimento de corte determinado.

Sabres Rollomatic:

  • Comprimentos de corte (passo 3/8"): 37, 40, 45, 50 cm

  • Largura da ranhura: 1,6 mm

Correntes 3/8":

  • Rapid Micro (36 RM): tipo 3652

  • Rapid Micro 3 (36 RM3): tipo 3664

  • Rapid Super (36 RS): tipo 3621

  • Rapid Super 3 (36 RS3): tipo 3626

  • Passo: 3/8" (9,32 mm)

  • Espessura do elo de tração: 1,6 mm

Pinhão da corrente:

  • 7 dentes para 3/8"

  • Velocidade máxima da corrente conforme ISO 11681: 27,5 m/s

  • Velocidade da corrente na potência máxima: 21,7 m/s

Valores de ruído e vibração

Maiores informações sobre atendimento da Instrução Normativa sobre Vibrações 2002/44/EG veja www.stihl.com/vib.

Nível de pressão sonora Lpeq conforme ISO 22868

MS 361: 103 dB(A)

  • Nível de potência sonora Lw conforme ISO 22868

MS 361: 115 dB(A)

  • Vibração ahv,eq conforme ISO 22867

Cabo da mão esquerdo / Cabo da mão direito

  • MS 361: 3,6 m/s² / 3,6 m/s²

Para o nível de pressão sonora e nível de potência sonora, o fator K é 2,0 dB(A), conforme RL 2006/42/EG; para a vibração, o fator K é 2,0 m/s2, conforme RL 2006/42/EG.

31 Indicações de Conserto

Usuários da motosserra podem efetuar somente os trabalhos de manutenção e de conservação descritos neste manual. Demais consertos devem ser realizados somente por uma Assistência Técnica Autorizada STIHL.

A STIHL recomenda que os serviços de manutenção e consertos sejam efetuados somente em Assistências Técnicas Autorizadas STIHL, pois seus funcionários recebem treinamentos periódicos e todas as informações técnicas das máquinas.

Em consertos, utilize somente peças de reposição liberadas pela STIHL para essa máquina. Utilizar somente peças de alta qualidade; do contrário, pode haver risco de acidentes ou danos na máquina. A STIHL recomenda o uso de peças de reposição originais STIHL.

As peças de reposição originais STIHL podem ser reconhecidas pelo código da peça de reposição STIHL, pela gravação { e, dependendo do caso, pelo sinal K (em peças pequenas este sinal também pode estar sozinho).

32 Descarte

O descarte deve obedecer à legislação específica de cada país.

Os produtos da STIHL não devem ser descartados no lixo doméstico. Destinar o produto, a bateria, os acessórios e a embalagem STIHL para reciclagem ambientalmente correta.

As baterias da STIHL também podem ser devolvidas em uma Concessionária STIHL.

Informações atualizadas sobre o descarte estão disponíveis nos pontos de venda STIHL.

33 Referência

Manual de instruções de serviços

STIHL MS 361