Manual de Instruções da Galoneira Industrial

Mecânica de Máquinas de Costura Industrial

1 Instruções Importantes de Segurança:

  • Antes de operar a máquina, confirme se todas as especificações relevantes de segurança estão adequadas às especificações e normas técnicas de seu país.
  • A máquina não deve ser operada sem seus dispositivos de segurança.
  • A operação da máquina só deve ser conduzida por pessoas com treinamento adequado.
  • Para sua própria segurança, é recomendável que sejam utilizados óculos de segurança durante a operação da máquina

Desligue a máquina ou desconecte-a da tomada nas seguintes situações:

  • Passando linha pela agulha e substituindo a bobina ou o looper.
  • Substituindo a agulha, pé calcador, chapa do tecido ou dentes.
  • Durante a manutenção da máquina.
  • Quando o operador não estiver trabalhando com a máquina.
  • Se houver contato do óleo lubrificante com os olhos ou a pele, lave com água gelada em abundância. Se houve ingestão, procure auxílio médico imediatamente
  • Reparos, adaptações ou manutenção só devem ser realizados por pessoas com treinamento adequado.
  • Manutenção e reparo em equipamentos elétricos deve ser conduzido apenas por pessoas qualificadas. Se algum componente elétrico estiver danificado, a máquina deve ser parada imediatamente.
  • Antes de iniciar a operação plena da máquina, um teste deve ser conduzido para se assegurar que a máquina e o operador são capazes de realizar a tarefa.
  • A máquina não deve ser posicionada próxima a uma fonte de ruído, tais como máquina de solda ultra-sônica e outros.
  • A máquina só deve ser operada com o cabo de força e conectores apropriados e também com aterramento adequado.
  • A máquina deve ser utilizada apenas para costurar os materiais indicados no manual de instruções que acompanha a mesma, seguindo as indicações de uso.
  • Para evitar risco de choque elétrico, não abra a caixa de terminais do motor e nem toque nos componentes montados dentro da caixa de terminais.
  • Para evitar ferimentos, nunca opere a máquina sem a tampa da correia, ou qualquer outro dispositivo de segurança removido.
  • Para evitar possíveis ferimentos, mantenha os dedos, cabeça e roupas distantes do volante, correia e motor quando a máquina estiver em operação. Além disso, nada deve ser colocado próximo a essas partes.
  • Para evitar possíveis ferimentos, tenha cuidado ao deitar ou erguer o cabeçote da máquina.
  • Para evitar algum tipo de acidente em função de uma partida abrupta da máquina, desligue-a sempre que for deitá-la ou remova a tampa da correia e a correia.
  • Se a sua máquina é equipada com um servo-motor, ela não produz ruído enquanto não está sendo acionada. Para evitar um possível acidente em função de uma partida inesperada, assegure-se que a máquina seja desligada.
  • Para evitar risco de choque elétrico, nunca opere a máquina sem o aterramento adequado.
  • Para minimizar o risco de acidentes ou danos nos componentes elétricos causados por uma descarga elétrica, desligue a máquina antes de (des)conectá-la da tomada.
  • Limpe a máquina periodicamente.

2 Descrição do Produto e Especificações da Máquina:

Especificações do Motor, Polia do Motor e Correia:

Para 542D:

  • Motor de fricção ½ HP 2 pólos
  • Correia tipo M

Para 542K:

  • Servo motor direct drive

Instalação dos Componentes de Suporte do Cabeçote:

  • Monte os componentes de suporte da máquina conforme indicado na figura abaixo. 
  • Encaixe o cabeçote sobre o seu suporte.
  • Conecte o volante da máquina à polia do motor com a correia.
  • Ajuste a tensão a correia do motor, para que a mesma se desloque aproximadamente 2 cm ao ser tocada com o dedo.
  • O motor deve girar no sentido horário, conforme seta indicativa. 
  • Instale o protetor de correia.
  • Instale o porta-cone como indicado na lista de peças.

Lubrificação e Troca de Óleo:

  • Quando a máquina for utilizada pela primeira vez ou estiver ociosa por muito tempo, aplique 2 ou 3 gotas de óleo nos pontos indicados.
  • Coloque o óleo lubrificante (Óleo Singer) através do orifício indicado na Figura 6 até que o nível do mesmo fique dentro das indicações ‘H’ e ‘L’ do visor de nível de óleo.
  • Complete o óleo sempre que a indicação ficar abaixo da marca ‘L’.
  • Verifique se o óleo está circulando adequadamente observando o visor de fluxo de óleo.
  • Abasteça os dois reservatórios indicados com silicone. Este procedimento previne a quebra das linhas, utilizadas nas agulhas

Para preservar a máquina, troque o óleo após as quatro semanas iniciais de operação. Após isso, o óleo deve ser substituído a cada seis meses.

Para trocar o óleo, remova o parafuso indicado na figura abaixo. 

Após o óleo ser drenado, coloque o parafuso em sua posição e complete a máquina com óleo novo. Esta máquina possui um filtro de óleo, o qual necessita ser limpo ou substituído por um novo sempre que necessário.

Solte o parafuso e retire a agulha como indicado na Figura com a chave Allen fornecida na caixa de acessórios e insira a nova agulha até o final da bitola (ou retire a agulha antiga).

Insira a agulha com a cava voltada para trás. Quando a mesma se encaixar no final da bitola, aperte o parafuso com segurança.

Use apenas agulhas:

Singer Cat. 3651-06

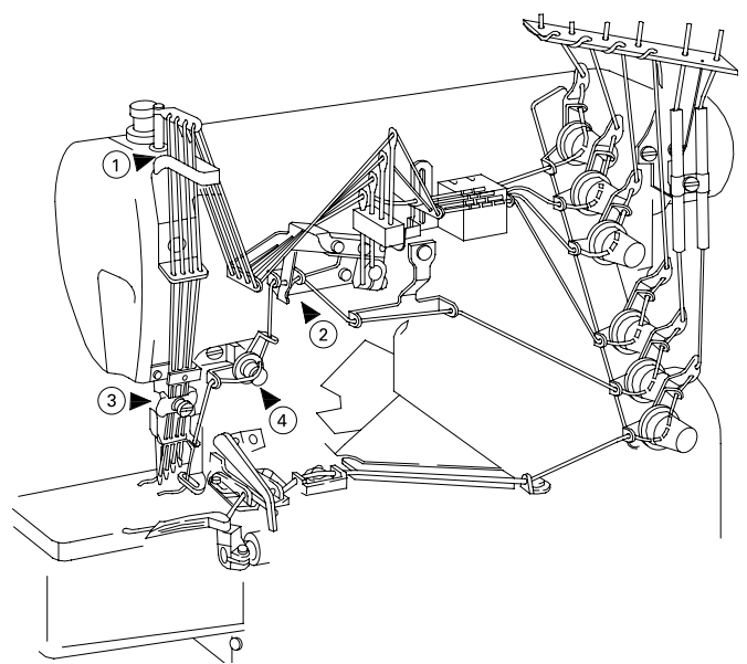
Passagem de Linha:

Levante o protetor de olho e abra as tampas.

Pressione a alavanca, conforme indicado na Figura. O came do passador de linha do looper se deslocará para fora.

  • Dê um nó nas linhas, uma a uma, nas linhas já pré-passadas na máquina. 
  • Depois de passar a linha, retorne o came do looper para dentro da máquina.
  • Corte os nós antes de passar a linha pelo olho da agulha.
  • Corte os nós após passar a linha pelo olho dos loopers.

Ponto ‘1’:

  • Para passagem de linha padrão, siga as linhas sólidas da Figura 19.
  • Para linhas mais elásticas, siga as linhas pontilhadas indicadas por ‘A’.

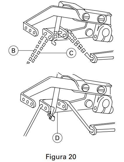
Ponto ‘2’:

  • Caso a linha de cobertura esteja solta, passe pelo guia indicado por ‘B’.
  • Se continuar solta, passe por ‘C’ da Figura 20.
  • Se a linha estiver apertada, passe a linha conforme indicado por ‘D’ na Figura 20.

Ponto ‘3’:

  • Para linhas mais elásticas, ajuste conforme a Figura 21 à esquerda.
  • Para linhas menos elásticas, ajuste conforme a Figura 21 à direita.

Ponto ‘4’:

  • Para passagem de linha padrão, siga as linhas sólidas da Figura 22.
  • Para linhas mais elásticas, siga as linhas pontilhadas indicadas por ‘E’.

Ajuste da Tensão da Linha:

Os seguintes ajustes estão relacionados com a Figura 24.

  • Tensores 1: controla alinha da agulha
  • Tensor 2: controla a linha do trançador superior
  • Tensor 3: controla a linha do looper

Pressão do Pé-Calcador:

Solte a porca de ajuste ‘1’ da Figura 25 e gire para ajustar a pressão do pé-calcador. A pressão deve ser leve o suficiente para permitir a formação do ponto.

Ajuste do Transporte Diferencial:

O transporte diferencial é a razão entre os movimentos dos dentes principais e dos dentes diferenciais. Quando o movimento dos dentes principais é maior que o dos diferenciais, o tecido é esticado. Caso contrário o tecido é franzido. Solte a porca ‘1’ da Figura 26 e mova a alavanca ‘2’ para cima ou para baixo para obter o ajuste desejado. Reaperte então a porca.

Ajuste do Comprimento do Ponto:

Solte a porca de ajuste ‘1’ e gire o parafuso de ajuste ‘2’ para ajustar o comprimento do ponto, conforme indicado na Figura 27

Importante: O ajuste do comprimento do ponto é feito de acordo com o tecido, ajuste do transporte diferencial e outros fatores.

Nota: O comprimento do ponto só deve ser ajustado depois do ajuste do transporte diferencial.

3 Manutenção:

Limpeza do Cabeçote:

Limpe o cabeçote periodicamente com um pano macio e seco para retirar o excesso de poeira do cabeçote. Não utilize nenhum tipo de solvente para limpar a superfície.

 

Limpeza da Chapa da Agulha e Área dos Dentes:

Limpe a chapa da agulha e as ranhuras dos dentes periodicamente, como ilustrado na Figura 28. E remova o plugue de borracha ‘1’ para limpar dentro da máquina, como mostrado na Figura 29.

Lubrificação:

Se a máquina estiver ociosa por um longo período, lubrifique o topo da barra da agulha, guias e guias do looper antes de reiniciar a operação. O óleo deve ser trocado a cada quarto meses. Para trocar o óleo, O filtro de óleo deve ser limpo ou substituído por um novo sempre que necessário. Para limpar ou substituir o filtro.

Inspeção de Segurança:

Verifique periodicamente se todos os dispositivos de segurança estão devidamente instalados e ajustados. Verifique se todos os parafusos de fixação e suporte do cabeçote estão devidamente apertados. Verifique se a correia não está excessivamente desgastada e se está com a tensão adequada. Verifique se não há sobreaquecimento do motor e se o cabo e o conector de força não estão danificados.

Dimensões de Ajuste:

Resolução de Problemas: