Rigger - Segurança e Controle no Içamento e Movimentação de Cargas

Rigger Sinaleiro

1 Segurança e Controle no Içamento e Movimentação de Cargas

Esta apostila tem por objetivo a sensibilização do profissional para a relevância da segurança e controle no processo de elevação e deslocamento de cargas, destacando a importância de sua participação ativa nesse procedimento. Dessa forma, cada participante terá a oportunidade de se aprofundar no estudo dos conceitos abordados durante o treinamento, consolidando as transformações em seu comportamento profissional.

É desafiador adotar uma perspectiva única que seja aplicável a todas as empresas, uma vez que cada uma enfrenta desafios distintos e pode se beneficiar de sua própria visão de futuro. Ao contemplar o horizonte futuro, as diversas partes interessadas - o público, as empresas, as cidades e as nações - podem deliberar sobre as alternativas mais desejáveis e trabalhar em conjunto para alcançá-las.

Infelizmente, tanto indivíduos quanto instituições só alterarão suas práticas quando estiverem convencidos de que a mudança trará benefícios, seja em termos financeiros, reputacionais ou de segurança.

Modificar hábitos não é algo que possa ser imposto; deve ser uma escolha informada em prol de bens e serviços sustentáveis. A meta é criar condições que aprimorem a capacidade das pessoas em escolher, utilizar e dispor de bens e serviços de maneira sustentável.

Este trabalho tem como objetivo ampliar seus conhecimentos sobre o içamento e movimentação de cargas, incentivando, assim, o desenvolvimento de seu potencial na busca por operações eficazes e seguras. Contudo, todas essas melhorias serão infrutíferas sem o comprometimento individual com as mudanças.

2 Acidente de Trabalho e Segurança

As orientações contidas neste material educacional foram elaboradas com o propósito de servir como um guia claro e compreensível para o seu estudo. Recomenda-se a leitura atenta e a certificação de compreensão antes de iniciar qualquer operação ou manutenção da máquina, no caso, o guindaste.

A maioria dos acidentes, seja em ambientes profissionais, domésticos ou vias públicas, decorre da simples negligência em seguir regras básicas e fundamentais de segurança. Esses incidentes podem ser prevenidos ao identificar a causa real e adotar medidas preventivas antes de sua ocorrência. No entanto, é crucial lembrar que, mesmo com precauções durante o projeto e construção de equipamentos, existem condições imprevisíveis. Felizmente, eventos imprevistos não são cotidianos.

Apesar disso, a prática mais sensata é manter-se constantemente alerta e prevenido, incorporando diariamente as medidas de segurança recomendadas para a execução de tarefas específicas. Riscos e situações perigosas estão presentes em nossos passos, seja no ambiente de trabalho, em casa ou em qualquer outro lugar. Quando ocorre um acidente, atribuir sua ocorrência ao acaso parece ser uma explicação simplista.

Como discutido anteriormente, a verdadeira causa da maioria dos acidentes reside nas próprias vítimas, que, consciente ou inconscientemente, deixam de evitar situações arriscadas. Portanto, ter responsabilidade e consciência dos riscos inerentes à atividade profissional são posturas que devem ser incorporadas à rotina diária. Nesse contexto, nosso estudo se inicia com questões fundamentais: o entendimento do que constitui um acidente de trabalho, suas principais causas e consequências, conforme a perspectiva de especialistas em Higiene e Segurança no Trabalho, e em conformidade com a legislação vigente no país.

Definição Jurídica

Acidente de trabalho é aquele que se verifica durante a execução das atividades a serviço da empresa ou no desempenho das funções dos segurados especiais, resultando em lesão corporal ou perturbação funcional que culmine em morte, perda ou redução permanente ou temporária da capacidade laboral. Esta definição encontra respaldo na Lei 8213, regulamentada pelo Decreto 611 de 21 de julho de 1992, especificamente no Artigo 139.

Responsabilidade Civil e Criminal

Cuidados do Empregador / Preposto / Chefe: Ao determinar a realização de uma atividade, o empregador, preposto ou chefe deve observar três princípios fundamentais:

  • Viabilidade da execução da tarefa;

  • Habilidades do empregado para executá-la;

  • Condições de segurança para a execução.

Direitos e Deveres do Trabalhador: O empregado também possui obrigações a cumprir, sujeito a sanções disciplinares, podendo até ser dispensado por justa causa. Conforme o Art. 158 da CLT, é dever do empregado observar as Normas de Segurança e Medicina do Trabalho, colaborando na aplicação das Ordens de Serviço quanto às precauções para evitar acidentes ou doenças ocupacionais.

Responsabilidade Civil e Criminal do Empregador: O crime é definido pela ação ou omissão do agente. Não é necessário que a ordem resulte diretamente em uma condição insegura; a mera omissão em permitir uma atividade com condições presumivelmente inseguras pode levar o agente (supervisor, chefe, empregado) a responder por um ato que deveria ter evitado por dever de ofício.

Abrangência da Responsabilidade: Em empresas complexas, identificar o responsável pela ordem pode ser desafiador, podendo incluir desde o chefe imediato até o supervisor ou técnico que assinou a Ordem de Serviço. Todos os envolvidos, se a gerência ratificar condições inadequadas resultando em acidente com vítima, estarão sujeitos a responsabilização, inclusive por co-autoria.

Efeitos do Acidente do Trabalho: Em caso de acidente com vítima fatal e comprovada a culpabilidade de quem ordenou ou deveria evitar o serviço, pode-se configurar crime conforme o Art. 121 do Código Penal. A culpa recíproca não exclui a responsabilidade, permitindo que todos os envolvidos sejam responsabilizados, mesmo que tenham contribuído de alguma forma para o incidente.

Responsabilidade Civil: A responsabilidade civil implica na obrigação de reparar o dano causado por meio de indenização, visando compensar materialmente a situação anterior ao incidente. O empregador, preposto ou chefe é obrigado à indenização do direito comum se tiver culpa no acidente de trabalho.

Intervenção do Ministério Público: Nos processos de acidente do trabalho, o Ministério Público intervém compulsoriamente, independente da vontade da vítima. Mesmo diante da inércia do interessado, cabe ao estado, por meio da Promotoria Pública, instaurar a demanda judicial apropriada.

Da Instauração do Processo Penal e suas Implicações no Processo Cível: O processo penal pode ser iniciado após o encerramento do inquérito policial, que pode ser instaurado de diversas maneiras, como exame de corpo de delito, flagrante, comunicação por indivíduo comum, policial, ou solicitação do Ministério Público. Após a conclusão do inquérito policial, encaminha-se ao Promotor Público, que, se constatar indícios de crime, oferecerá denúncia.

Conceito Preventivo

É todo evento imprevisto, não planejado, que pode ou não resultar em dano, prejuízo material, ou ambos. Exemplo: Desmoronamento de empilhamento com falha, sem vítimas.

Todas as circunstâncias de qualquer incidente devem ser minuciosamente examinadas, de modo que suas origens possam ser identificadas e suprimidas. Apenas dessa forma é viável impedir que o evento se repita com ou sem vítimas.

Causa dos Incidentes

São os motivos, as situações, os comportamentos e as ações que resultam em incidentes.

As estatísticas coletadas, na maioria das empresas em todo o país, indicam que os incidentes acontecem seguindo esta sequência de fatores: Falha humana, inadequação ambiental e elementos naturais ou circunstâncias especiais.

Vejamos o que significa cada uma destas técnicas:

Ato Inseguro: É toda maneira incorreta de se trabalhar ou agir que possa provocar um acidente.

Condição Insegura: É toda falha encontrada no ambiente de trabalho, ou nas próprias máquinas e equipamentos, que possa favorecer a ocorrência de um acidente.

Imprevisto: É a situação inesperada, não programada, que foge ao controle do ser humano.

Todas essas ideias formuladas pelos especialistas têm uma enorme importância para os trabalhadores, uma vez que visam garantir a sua segurança. Aqueles que as incorporarem em suas práticas certamente conseguirão prevenir-se de forma mais eficaz contra acidentes, preservando sua qualidade de vida tanto no ambiente profissional quanto no convívio familiar e até mesmo durante momentos de lazer.

Impactos do Incidente no Ambiente de Trabalho

Quem sofre as consequências por não adotar medidas preventivas? Já parou para refletir sobre esse tema? Então, considere os seguintes aspectos:

  • Ramificações para o Trabalhador

    • Sofrimento físico;

    • Morte;

    • Incapacidade laboral;

    • Desamparo familiar.

  • Ramificações para as Empresas

    • Despesas com primeiros socorros e transporte do afetado;

    • Tempo perdido por outros colaboradores que prestam assistência ou interrompem suas atividades para discutir o ocorrido;

    • Danos ou perda de equipamentos, ferramentas ou matérias-primas;

    • Paralisação da máquina operada pelo acidentado até a admissão de um substituto;

    • Atraso na entrega dos produtos e subsequente insatisfação dos clientes;

    • Dificuldades com autoridades e má reputação para a empresa.

  • Ramificações para o País

    • A diminuição do número de incidentes será alcançada à medida que cada indivíduo – trabalhador, empregador e governo – assuma atitudes preventivas em todas as situações, visando garantir a segurança de todos.

"A máquina é uma criação humana, e a responsabilidade de manipulá-la com habilidade e eficácia recai sobre o homem."

No entanto, devido à própria ignorância desse homem, nos deparamos com estatísticas desfavoráveis e alarmantes, como aquelas que indicam que apenas 6% dos incidentes resultam de problemas nas máquinas, enquanto 46% são diretamente atribuídos a falhas humanas na administração (planejamento, normatização e supervisão) e 48% a deficiências do operador (desatenção, desobediência aos procedimentos e normas, e imperícia).

Para reafirmar esse pensamento antigo, é crucial ter a consciência de que os fabricantes desses equipamentos estão empenhados em desenvolver máquinas mais sofisticadas, produtivas e seguras. Se o objetivo é aproveitar e se beneficiar da nova tecnologia de maneira adequada, é necessário compreender o funcionamento da máquina e ter uma clara noção da responsabilidade ao operá-la.

Ao fundamentar e solidificar o conceito de ação segura (pressupondo total compreensão da responsabilidade na operação e habilidade completa com o equipamento), seja por parte do operador, supervisão ou gerência, alcançaremos o domínio sobre o equipamento. Isso resultará na redução significativa das ocorrências de acidentes e sinistros, aproximando-se da meta de zero incidentes.

3 Içamento e Movimentação de Cargas

Conceitos Básicos

O que é um Guindaste?

Um Guindaste é um equipamento projetado para realizar operações de movimentação de cargas. Sua operação fundamenta-se no princípio das alavancas.

No mercado, existe uma ampla variedade de tipos e modelos de guindastes. Neste contexto, vamos abordar o guindaste "AUTO CRANE", que é um equipamento montado sobre um chassis móvel, permitindo deslocamentos rápidos, inclusive em rodovias.

Quais os Principais Componentes de um Guindaste?

Os principais componentes de um guindaste incluem a superestrutura (chassis), lança telescópica, estabilizadores (patolas) e a cabine de comando (operação).

Princípio de Funcionamento

Como Funciona este Tipo de Guindaste?

O guindaste é um equipamento de operação hidráulica, sendo que seu sistema hidráulico é composto por bombas acionadas a partir do conversor de torque do motor ou tomadas de força acopladas ao motor durante o funcionamento. Todas as funções relacionadas à operação de elevação de cargas são geralmente operadas hidraulicamente e controladas por alavancas de comando localizadas na cabine do operador.

Controle e Instrumentos (Cabine do Oparador)

Estabilizadores (Outriggers)

As patolas têm como objetivo garantir a máxima estabilidade durante a operação de carga. Posicionadas nos cantos externos do equipamento, são acionadas hidraulicamente através de alavancas de controle.

Metade (50%) da segurança no processo de içamento e deslocamento de cargas depende do correto posicionamento das patolas do guindaste, sendo fundamental que seja realizado em terreno nivelado e compactado. Em situações em que seja necessário estabilizar o guindaste em terreno irregular, as variações de altura podem ser compensadas utilizando pranchões ou dormentes.

A compactação do solo sob as patolas pode ser reduzida ao distribuir pranchões e/ou dormentes de maneira semelhante a uma fogueira, variando de acordo com o peso do próprio guindaste. Em um capítulo dedicado, exploraremos de forma mais abrangente as técnicas de patolamento, sempre em conformidade com as normas de segurança.

Lança Telescópica

As operações de içamento e deslocamento de cargas são realizadas por meio da lança telescópica. Diferenciando-se da lança treliçada, conectada à superestrutura através do pé de lança "Inner ou Lower Boom", a lança telescópica possui segmentos extensíveis hidraulicamente, permitindo tanto o aumento da altura de içamento quanto a ampliação do raio de operação do guindaste.

A determinação da extensão e angulação da lança baseia-se no peso da carga a ser içada ou movimentada, considerando também possíveis obstáculos entre o guindaste e a carga. Para isso, cada guindaste possui uma tabela de cargas fornecida pelo fabricante, estabelecendo os limites máximos de utilização do equipamento com absoluta segurança.

HK 20 AT - Kat

Tabela de Cargas (ANEXO A)

As capacidades máximas de carga estabelecidas pelo fabricante para o equipamento original devem ser claramente indicadas. A tabela de cargas tem o propósito de guiar o operador durante a movimentação de cargas com segurança, dentro das especificações do fabricante, e deve ser posicionada em local visível para consulta a cada operação.

Normalmente, as tabelas de carga são calculadas com base em 75% da resistência do material e 85% da capacidade de tombamento. Como regra geral, os fabricantes de guindastes incluem em suas tabelas uma marca ou linha que define as capacidades de carga no limite da resistência do material e na capacidade máxima de tombamento do equipamento (estabilidade).

A leitura e interpretação precisa da tabela de cargas exigem a consideração da capacidade de carga do guindaste e sua configuração de içamento. É crucial lembrar que "cada guindaste possui sua própria tabela de cargas", e é terminantemente proibido consultar a tabela de cargas de qualquer outro guindaste, mesmo que haja semelhanças significativas. Fazer isso acarreta o risco de provocar um acidente grave e causar danos tanto ao equipamento quanto à carga içada.

Acompanha ainda a tabela de cargas um gráfico, Altura sobre o Solo x Raios de Trabalho, que finaliza a composição da mesma.

Tabelas de Cargas Abordadas:

  • Tabela de Cargas de Guindaste Simples 2/20;
  • Tabela de Cargas de Guindaste Médias 2/50;
  • Tabela de Cargas de Guindaste com Contrapeso 2/70;
  • Tabela de Cargas de Guindaste Complexas com Contrapeso 2/1200.

Configurações das Tabelas:

  • Estabilizadores Totalmente Estendidos;
  • Estabilizador Dianteiro Estendido (360º);
  • Estabilizador Dianteiro não Estendido;
  • Uso do Jib.

JIB: O Jib é uma extensão que é fixada à extremidade da lança com o propósito de ampliar o raio de carga da máquina.

Limitador Automático de Momento - AML

Os guindastes contemporâneos estão equipados com sistemas computadorizados denominados AML (Limitador Automático de Momento), que exibem a relação entre o Momento da Carga Real e o Momento Nominal Máximo. Esses sistemas possibilitam que o operador faça as configurações necessárias para cada operação, obtendo os resultados exibidos no visor ou tela dentro da cabine de operação.

Entretanto, é crucial que as tabelas de carga estejam sempre disponíveis em um local visível para consulta do operador.

By - Pass

Permite ao operador dar continuidade à operação e realizar movimentos que o sistema computadorizado normalmente bloquearia, considerando que estão fora das especificações da tabela de carga e configurações. Para isso, o operador desativa o Limitador Automático de Momento e assume total responsabilidade pela operação.

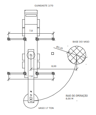
Raio de Operação

Todo guindaste opera fundamentalmente em relação ao raio de operação, que representa a distância entre o centro de giro do equipamento e o centro da carga. Todas as outras configurações são variáveis, dependendo do comprimento da lança e do contrapeso aplicado.

4 Movimentação de Cargas

A operação de movimentação de cargas deve ser executada o mais próximo possível do solo, com o guindaste posicionado em terreno firme, uniforme e com os seus dois eixos principais nivelados, de acordo com as recomendações do fabricante, tendo as patolas do guindaste estendidas e apoiadas.

Amarrações (ANEXO B) É muito comum o uso de equipamentos utilizados em amarrações quando se trata de movimentação de cargas, também chamados de equipamentos de lingar se apresentam em uma grande variedade, dado que se deve saber primeiramente o tipo de material a ser movimentado para depois fazer a escolha do acessório adequado.

Existem vários tipos de acessórios, mas iremos focar nos cabos (estropos), cintas, ganchos, clips e manilhas. Devido a essa ampla variedade, encontramos tabelas que nos ajudam a escolher o acessório mais adequado para cada operação.

De maneira abrangente, podemos descrever os acessórios utilizados em amarrações da seguinte forma:

  • Estropos: Disponíveis em tamanhos pré-definidos, podem ser trançados manualmente ou prensados mecanicamente. Possuem baixa flexibilidade e peso considerável, dependendo da bitola utilizada em sua confecção.

  • Cintas: Mais leves e maleáveis em comparação com os cabos estropos, preservam as mesmas propriedades destes, além de protegerem a carga contra danos causados pelo atrito.

  • Manilhas: Utilizadas para unir cabos de aço/cintas às peças a serem içadas, possuindo trava roscável.

  • Ganchos: Assim como as manilhas, auxiliam no processo de içamento, proporcionando maior agilidade à operação.

Cabos de Aço (ANEXO C)

Assim como os acessórios de movimentação, os cabos de aço utilizados no içamento e movimentação de cargas são de suma importância no processo. Para sua correta utilização faremos uso de tabelas e seguiremos normas básicas que garantirão parte da segurança durante a operação.

5 Uso, Inspeção e Manutenção do Cabo de Aço

Cabo de aço e alma, que pode ser de fibra ou aço

Um cabo de aço é uma corda ou cabo composto por fios de aço entrelaçados ou torcidos. É utilizado em uma variedade de aplicações, incluindo içamento, amarração, reboque e construção. Os cabos de aço vêm em diferentes diâmetros, configurações e tipos de construção, dependendo da finalidade específica para a qual são destinados.

Alma do Cabo: A alma do cabo refere-se ao núcleo interno que dá suporte aos fios externos. Essa alma pode ser composta por diferentes materiais, sendo os dois tipos mais comuns:

  1. Alma de Fibra:

    • Feita de materiais como polipropileno ou poliamida.
    • Proporciona flexibilidade e leveza ao cabo.
    • Utilizada em aplicações em que a flexibilidade é essencial.
  2. Alma de Aço:

    • Composta por fios de aço que formam uma estrutura interna sólida.
    • Oferece maior resistência e rigidez ao cabo.
    • Usada em situações que exigem maior resistência e durabilidade.

A escolha entre uma alma de fibra ou de aço dependerá das características desejadas para a aplicação específica, como carga, flexibilidade e resistência.

Medição do Diâmetro:

O diâmetro do cabo de aço é aquele da sua circunferência máxima (fig.2).

Manuseio do Cabo de Aço:

o cabo de aço deve ser enrolado e desenrolado corretamente (fig.4), a fim de não ser estragado facilmente por deformações permanentes e formação de nós fechados (fig.3). Se o cabo for manuseado de forma errada (fig.5), ou seja, enrolado ou desenrolado sem girar o rolo ou o carretel, o cabo ficará torcido e formará laço. Com o laço fechado (fig.3, posição 2), o cabo já estará estragado e precisará ser substituído ou cortado no local.

Importante:

Mesmo que um nó esteja aparentemente endireitado, o cabo nunca pode render serviço máximo, conforme a capacidade garantida. O uso de um cabo com este defeito torna-se perigoso, podendo causar graves acidentes.

Superlaço:

Os cabos de aço superlaço são fornecidos com, olhal tipo superlaço, de máxima segurança, inviolável por lacre prensado industrialmente e com sapatilha protetora A construção deste superlaço é detalhado na fig.6.

Importante: mesmo sem o lacre e a sapatilha protetora, o olhal já suporta uma carga superior à carga de trabalho do cabo (fig.6, posição 5).

INSPEÇÃO: Antes de cada uso, o cabo de aço deve ser inteiramente inspecionado quanto aos seguintes problemas:

  1. Formação de nó fechado, em decorrência de manuseio incorreto.

  2. Número de arames rompidos:

    • Cabo de aço com 4,8 mm de diâmetro: deve ser inspecionado em trechos de 3 cm de comprimento e substituído se, em um trecho, tiver 6 arames rompidos ou se, em uma única perna, tiver 3 arames rompidos.

    • Cabo de aço com 8 mm de diâmetro: deve ser inspecionado em trechos de 5 cm de comprimento e substituído se, em um trecho, tiver 6 arames rompidos ou se, em uma única perna, tiver 3 arames rompidos.

  3. Corrosão: quando se verificar a incidência de corrosão na galvanização

IMPORTANTE:

a) Em caso de problemas em todo o cabo, é crucial aposentá-lo. No entanto, se os problemas forem localizados, é possível cortar a parte afetada e continuar usando o restante.

b) Ao inspecionar um cabo de aço, se for identificado qualquer defeito considerado grave, o cabo deve ser substituído imediatamente. Isso é válido mesmo que o número admissível de arames rompidos não tenha atingido o limite especificado na tabela, ou mesmo se nenhum arame estiver rompido. A inspeção visual de um cabo tem prioridade sobre qualquer norma ou método de substituição estabelecido.

Manutenção:

1 - Manutenção: Manter o cabo afastado de produtos químicos nocivos, como ácidos, abrasivos e cantos afiados.

2 - Armazenamento: Armazenar o cabo em local seco, utilizando um carretel para facilitar o manuseio, evitando torções estruturais

3 - Olhal com Grampos: Os cabos de aço podem ter um olhal confeccionado com grampos de aço galvanizado (Figura 7), seguindo as especificações abaixo:

  • Para cabo de aço com diâmetro de 4,8 mm, utilizar 3 grampos 3/16" com espaçamento de 29 mm entre eles.

  • Para cabo de aço com diâmetro de 8 mm, utilizar 3 grampos 5/16" com espaçamento de 48 mm entre eles.

Importante: Os grampos devem ser montados corretamente (Figura 7-c) e reapertados após o início do uso do cabo de aço.

4 - Patolamento: É o item mais importante da operação.

Como se abordou anteriormente cinqüenta porcento (50%) da segurança da operação de içamento e movimentação de cargas está no patolamento do guindaste, que deve ser em terreno nivelado e compactado.

Fica evidente que essa situação, apesar de ser a ideal para as condições de trabalho, conforme indica o fabricante do guindaste, em muitos dos casos não corresponde à realidade. Desta forma, cabe ao profissional responsável pela operação analisar as condições do terreno e determinar, de acordo com o exame visual e sua experiência profissional como transcorrerá a operação.

Podemos encontrar durante a análise do terreno os seguintes casos:

  • Terreno acidentado: onde é conveniente o nivelamento do guindaste com pranchões e dormentes;

  • Terreno com talude/muro de contenção: atentar para que a distância mínima do guindaste ao talude/muro esteja fora de uma possível superfície de ruptura do terreno;

  • Terreno com aclive/declive: compensar o desnível de acordo com os padrões de segurança contra o tombamento do guindaste.

Guindaste rebocado por trator em terreno desfavorável à movimentação

Tabela de Sinais (ANEXO D)

Desde os primórdios da movimentação e içamento de cargas, a presença de um Rigger para sinalizar e comandar as operações sempre foi essencial. Diante das circunstâncias, surgiu a necessidade de criar uma linguagem específica que fosse compreendida em todas as partes do mundo.

Assim, desenvolveu-se uma linguagem universal transmitida por sinais manuais específicos, por meio dos quais é possível coordenar todos os movimentos de um guindaste. Geralmente, essa linguagem é dirigida por um Rigger, que atua como orientador. A padronização dessa linguagem foi estabelecida pelo American National Standard Institute por meio da norma ANSI B 30.5 - CRANE, LOCOMOTIVE AND TRUCK CRANES.

Em alguns casos, também é comum o uso de radiocomunicadores como uma contribuição adicional ao processo de sinalização durante as operações de içamento e movimentação de cargas.

6 Plano de Movimentação de Cargas ou Plano de RIGGER

Antes do início de qualquer operação de movimentação e içamento, é imperativo realizar um "BRIEFING" entre todas as pessoas envolvidas na operação. Em outras palavras, é essencial que todos os profissionais participantes estejam completamente informados sobre as circunstâncias em que a operação ocorrerá, seguindo os padrões técnicos e de segurança estabelecidos.

O Rigger, o operador do guindaste e o encarregado da montagem devem estar em sintonia para garantir o desenvolvimento seguro da operação. Para isso, é fundamental elaborar um "plano de rigger", um documento que conterá informações crucialmente importantes sobre a operação de movimentação e içamento de cargas.

Para a correta elaboração do plano de rigger, devem ser definidos:

Plano de Movimentação de Carga (Plano de Rigger)

O plano de rigger é um documento essencial, parte integrante do procedimento de movimentação de cargas do executante. Ele é composto por desenhos em escala, apresentando vistas de plano e elevações, e deve conter, no mínimo, as seguintes informações:

a. Coordenadas e elevação da base do equipamento, construções e eventuais obstáculos (com atenção especial a redes elétricas e instalações subterrâneas);

b. Dimensões e elevações das extremidades do equipamento de movimentação de carga (contra-peso, caminhão, lança, mastro e patolas/esteiras);

c. Detalhes de fixação e/ou estaiamento do equipamento de movimentação de carga;

d. Lista indicando quantidades, especificações e capacidades de todos os materiais e acessórios de movimentação a serem utilizados na operação;

e. Indicação dos pontos de amarração da carga;

f. Indicação do tipo de preparação de terreno na área de operação, indicando inclusive a necessidade, ou não, do uso de pranchões;

g. Sequência de liberação do(s) equipamento(s) de movimentação de carga em função da sequência de montagem;

h. Posições iniciais e finais em coordenadas dos centros de giro e dos pés das lanças dos equipamentos de movimentação de carga, envolvidos nas fases de movimentação;

i. Indicação em metros dos raios de carga dos equipamentos de movimentação de carga envolvidos;

j. Indicação do acesso e deslocamentos dos equipamentos de movimentação de carga na área de operação;

k. Indicar a folga mínima do moitão com as polias da ponta da lança;

l. Vistas indicando a(s) seguinte(s) folga(s) mínima(s): lança x carga, lança x obstáculo(s); cabo de carga x obstáculo(s), acessórios de movimentação x lança e acessórios de movimentação x obstáculos;

m. Dimensões e posições da carga em cada fase de operação;

n. Peso da carga;

o. Peso de movimentação;

p. Tabela indicando, para cada fase da movimentação e para cada equipamento de movimentação de carga envolvido, os seguintes dados:

   - Modelo e capacidade nominal do equipamento de movimentação de carga;

   - Tipo e composição da lança;

   - Tipo e composição do mastro;

   - Tipo e composição do jib;

   - Raios de trabalho e correspondentes capacidades;

   - Tipo de contrapeso;

   - Tabela de carga utilizada;

   - Fatores de segurança utilizados nos cálculos de dimensionamento dos acessórios de movimentação.

Procedimento de Movimentação de Carga do Executante

Trata-se do certificado emitido pela empresa executora, que estabelece os parâmetros e as condições para a realização dos serviços de movimentação de carga. Este documento deve, obrigatoriamente, contemplar:

a. Garantia de folgas mínimas de 500 mm entre: a lança e a carga; a lança e obstáculos; o cabo de carga e obstáculos; acessórios de movimentação de lança; acessórios de movimentação e obstáculos.

b. Prevenção de qualquer força exercida pelo moitão sobre as polias da ponta da lança durante todas as fases do levantamento da carga.

c. Implementação de medidas de proteção nos pontos em que os cabos entram em contato com a carga.

d. Rigoroso controle para assegurar que, em nenhum momento da movimentação, a capacidade da máquina seja ultrapassada pelo peso da carga em movimento.

e. Operação do equipamento de movimentação de carga restrita aos quadrantes autorizados pelo fabricante.

f. Garantia de que as lingadas não introduzam componentes de força inadmissíveis na carga.

g. Verificação de que as capacidades dos acessórios de movimentação a serem utilizados sejam compatíveis com as cargas a que serão submetidos.

Rigger (Orientador)

Trata-se do especialista encarregado de elaborar um planejamento antecipado para a movimentação, utilizando as informações obtidas durante inspeções e complementadas com os dados fornecidos pelo contratante. Além disso, desse profissional também cabe coordenar tanto a movimentação quanto o içamento da carga. Essa coordenação envolve a interação direta com o operador do guindaste, seja por meio de sinais padronizados universalmente reconhecidos, ou através de dispositivos de comunicação direta.

Obstáculo

Qualquer irregularidade topográfica, instalações elétricas e subterrâneas, construção ou unidade industrial que prejudique ou interfira na movimentação de carga.

Peso da Carga

É aquele obtido por meio da pesagem direta da carga ou a partir das especificações técnicas documentadas do processo de fabricação.

Peso em Movimentação

Refere-se ao peso máximo total ou parcial da carga, somado ao peso de todos os acessórios de levantamento (cabos, moitões, balancins, manilhões) suspensos na ponta da lança de um guindaste durante uma operação de movimentação de carga.

7 Inspeção do Equipamento

01. O equipamento destinado à movimentação de carga deve passar por uma inspeção prévia conforme as orientações presentes nos manuais do fabricante.

02. Os cabos de aço devem ser minuciosamente inspecionados no momento do recebimento do equipamento, garantindo a presença do certificado de fabricação e uma plaqueta de identificação.

03. Da mesma forma, as cintas devem ser inspecionadas no recebimento do equipamento, também com a presença de certificado de fabricação e plaqueta de identificação.

04. Manilhas, ganchos e clips devem ser examinados durante o recebimento do equipamento, sendo necessário que estejam acompanhados de certificado de fabricação e com capacidades de carga claramente estampadas nas peças.

05. Balancins e arranjos destinados a içamentos e movimentação de cargas devem exibir, em local visível, a sua capacidade de carga, conforme o projeto de fabricação aprovado.

06. Realização de testes operacionais no equipamento, conforme as recomendações do fabricante, abrangendo freios, embreagens, controles, mecanismos de abaixamento e levantamento da carga, da lança, de extensão e recolhimento da lança, giro à esquerda e à direita, deslocamento, dispositivos de segurança, estabilizadores, além de testes de capacidade de carga.

07. Na verificação dos testes de capacidade de carga, devem ser considerados dois pontos da tabela de carga: um na região delimitada pela estabilidade e outro na região delimitada pela resistência do material.

08. O certificado de teste de capacidade de carga da máquina deve conter informações essenciais, como a configuração geométrica da lança, patolamento (quadrante de atuação), raio de operação de carga, cargas utilizadas (peso e dimensões) e resultados obtidos.

09. Antes de cada jornada de trabalho ou em movimentações de carga de alta periculosidade, devem ser verificados itens como o adequado funcionamento do freio e embreagem, níveis de óleo, combustível, lubrificante hidráulico e fluidos refrigerantes, nível de água das baterias, instrumentos do painel de comando, correto nivelamento e estabilização da máquina, e a correta amarração da carga.

10. No caso dos cabos de aço utilizados nos serviços de movimentação de carga, é imperativo realizar inspeções e efetuar substituições quando identificados seis ou mais fios rompidos em um passo, três ou mais fios rompidos em uma perna em um passo, três ou mais fios quebrados em um passo (cabos estacionários), desgaste excedendo 1/3 do diâmetro de cada um dos fios externos do cabo, além das reduções específicas no diâmetro para diferentes tipos de cabos, formação de gaiola de pássaro (bird cage), soltura de uma ou mais pernas, dobramento, amassamento e corrosão.

11. Manilhas e clips devem ser inspecionados quanto ao desgaste, e sua substituição torna-se necessária quando o desgaste ultrapassar 10% do diâmetro do pino ou da região da curvatura.

8 Segurança na Operação de Içamento e Movimentação de Cargas

01. As operações de movimentação de carga devem ser realizadas o mais próximo possível do solo, com o equipamento de movimentação posicionado em terreno firme e nivelado, conforme as recomendações do fabricante. Quando aplicável, as patolas do equipamento devem estar totalmente estendidas e apoiadas.

02. O número de voltas do cabo deve ser adequado à capacidade do equipamento e seguir a tabela de carga fornecida pelo fabricante.

03. A movimentação simultânea da carga através da lança e do jib não é permitida.

04. Em operações de movimentação de carga utilizando guindaste montado sobre caminhão, não devem ser realizadas movimentações no quadrante sobre a cabine.

05. A área de trabalho deve ser isolada para pessoas não envolvidas nos serviços de movimentação.

06. Os trabalhos de movimentação de carga não devem ser executados em dias de chuva, ventos fortes ou condições adversas de iluminação.

07. Durante a operação de movimentação, o operador do equipamento não deve se afastar da cabine de comando.

08. A lança não deve estar apoiada em nenhum ponto durante a execução dos serviços.

09. O içamento da carga deve ser realizado com a mesa de giro destravada.

10. Não é permitida a presença de ferramentas ou peças soltas sobre e/ou dentro da carga a ser movimentada.

11. A tabela de carga deve estar disponível na cabine do operador.

12. Durante a execução dos serviços, a carga não deve passar sobre pessoas.

13. O içamento de pessoas por máquinas de movimentação de cargas só pode ser realizado com a utilização de "gaiolas" equipadas com guarda-corpos.

14. Sinais padronizados, conforme o anexo desta apostila, devem ser utilizados durante a execução dos serviços, a menos que seja empregado um sistema de comunicação sonora.

15. Para operações que não estejam abrangidas pelos sinais padronizados por norma, é necessário prever adições aos sinais padronizados. Essas adições devem ser previamente acordadas entre operadores, sinaleiro e o responsável pela execução dos serviços.

16. A sinalização ao operador do guindaste deve ser realizada por apenas uma pessoa.

17. Na fabricação de olhais, chapas, chapas de ligação (Linkplates/Triplates), balanças, estropos e manilhas, é imprescindível o uso de materiais que possuam certificado.

18. Os olhais devem ser fabricados de modo que a direção da resultante dos esforços que atuam sobre o olhal seja coincidente com a direção de laminação da chapa principal do olhal.

19. Ao dimensionar os acessórios de movimentação, é crucial considerar os valores de eficiência de ligação dos terminais fornecidos pelo fabricante do acessório.

20. Na fabricação dos estropos, o torque das porcas e a quantidade de grampos (clips) a serem utilizados devem estar em conformidade com os catálogos dos fabricantes dos grampos.

21. No teste de capacidade, é necessário verificar dois pontos da tabela de carga: um na região limitada pela estabilidade e outro na região limitada pela resistência do material.

22. Deve ser verificado se a lança, mastro, contra-peso, cabos ou qualquer componente do equipamento de movimentação de carga está posicionado em relação aos cabos de alta tensão, de acordo com o estabelecido na tabela abaixo:

23. Deve ser verificada a tensão no laço quando aplicada com alguma inclinação, podendo gerar algum acidente, pois em alguns casos a diferença entre tensões é bastante grande. O quadro abaixo mostra o fenômeno físico que ocorre com a tensão aplicada nas pernas dos laços quando expostas à inclinação:

9 Referências

ABNT NBR27 – Prova de Carga Direta Sobre Terreno de Fundação.

ABNT NBR 6327 – Cabo de Aço para Uso Geral.

ABNT NBR 4309 – Guindastes – Cabo de Aço, Critérios para Inspeção e Descarte.

ABNT NBR 13541 - Movimentação de Carga – Laço de Cabo de Aço, Especificação.

ABNT NBR 13543 - Movimentação de Carga – Laço de Cabo de Aço, Utilização e Inspeção.

NR 11 – Transporte, Movimentação, Armazenagem e Manuseio de Materiais.

ANSI B30.5– Crane, Locomotive and Truck Cranes.