MANUTENÇÃO EM IMPRESSORAS JATO DE TINTA

Manutenção e Conserto de Impressoras e Copiadoras

1 FUNCIONAMENTO BÁSICO

As impressoras em geral possuem dispositivos eletrônicos internos idênticos aos computadores tradicionais ou seja, possuem: unidade de entrada(interfaces de comunicação), unidade de processamento (placa lógica/CPU) e unidade de saída (mecanismo de impressão).

 

UNIDADE DE ENTRADA

Constitui a parte da impressora responsável em receber dados e controles do computador interfaceando-os de forma a compatibilizá-los com a estrutura eletrônica interna da impressora. Os tipos de unidades de entrada mais utilizada são: interfaces seriais, interfaces paralelas, interfaces para rede, interfaces appletalk e interfaces USB. Atualmente estas interfaces são responsáveis também em transmitir para o computador o estado em que a impressora se encontra, indicando sempre quando ocorre alguma anormalidade com a mesma. Estas interfaces serão estudadas posteriormente em capítulos destinados a elas.

UNIDADE DE PROCESSAMENTO

Recebe os dados da unidade de entrada (interfaces) e processa-os de acordo com o programa armazenado em sua memória (ROM) e em conjunto com sua memória de trabalho (RAM), após serem processados os dados serão endereçados para a unidade de saída que se responsabilizará em imprimir os dados.

UNIDADE DE SAÍDA

A unidade de saída dependerá da tecnologia que a impressora tiver sido projetada (laser, matricial, térmica ou jato de tinta) e constituirá o sistema eletromecânico por onde através os caracteres serão impressos, neste livro discutiremos mais sobre as matriciais e este sistema eletromecânico será responsável em transportar o papel da bandeja de entrada até a bandeja de saída, caminho este que será monitorado inteiramente por sensores óticos, mecânicos, magnéticos, elétricos e térmicos e responsável também em ativar a cabeça de impressão sobre o papel, posicionar o cabeçote na posição correta, ativar o sistema de alimentação da fita impressora e em algumas impressoras ligar o sistema de aquecimento para secagem da tinta em alta velocidade.

Na unidade de gerenciamento mecânico existe uma área que controla através de sensores todas as informações relativas a : deslocamento do papel, posição do carro de impressão (cabeçote), presença ou ausência de cartuchos de tinta, papel embolado (JAM) no caminho e falta de papel na bandeja de entrada, estas informações são enviadas para o processador que indicará ao operador através dos LEDS de estado ou displays de cristal líquido como está a impressora em determinados momentos. Estas informações que serão informados pelos LEDS nos guiarão para a detecção de falhas mecânicas e eletrônicas e erros de configuração no micro ou na impressora bastante comuns nestas interligações.

POWER ON SELF TEST P.O.S.T.

Ao ligarmos as impressoras elas executam o que chamamos de P.O.S.T. (Auto Teste ao Ligar), neste teste interno da impressora a unidade de controle verifica: condições elétricas, memórias de trabalho (RAM), presença de cartuchos de tinta, papel na bandeja, papel embolado, temperatura do cabeçote, verificação e posicionamento do carro de impressão. OBS.: A unidade de controle recebe estas informações diretamente de sensores instalados no dispositivo mecânico das impressoras. 

Após esta iniciação, se todas as condições de funcionamento estiverem de acordo com a programação pré-estabelecida gravada na memória ROM da CPU, a impressora ficará pronta para receber dados do computador, porém, se alguma falha for encontrada a CPU interromperá a inicialização da máquina e seguirá uma rotina de atendimento a falhas, todos os testes internos seguem uma seqüência lógica estabelecida pelo fabricante, então após encontrar uma falha a CPU paraliza a operação naquele momento e através de um endereço enviado pela ROM ela apresentará através de LEDS um código de erro que indicará em que setor da impressora foi detectado o erro.

DIAGRAMA EM BLOCOS

Genericamente existem três sistemas em blocos de funcionamento distintos um do outro que possuem funções próprias dentro das impressoras jato de tinta, em algumas desaparecem integrados em uma única placa eletrônica que executa várias tarefas como é o caso de impressoras modernas,em modelos antigos se apresentam separadas porém neste livro estudaremos os sistemas separados e mencionaremos exemplos de modelos que já vêem integrados.

SISTEMA ELÉTRICO

É responsável em converter a tensão elétrica alternada fornecida pela distribuidora de energia em tensão elétrica contínua necessária para o funcionamento elétrico interno das impressoras.

Chamamos este sistema de fonte de alimentação e a mesma converte a tensão elétrica alternada em várias tensões contínuas mais baixas. Exemplo: 5 vcc, 12 vcc, 24 vcc e 35 vcc (vcc=volts de corrente contínua). Estas tensões deverão fornecer corrente suficiente para alimentar a placa eletrônica, o motor de transporte do carro, o motor de alimentação de papel e o cabeçote de impressão das impressoras.

Em geral vários modelos de impressoras possuem fonte interna que convertem e regulam a tensão elétrica normalmente.

SISTEMA LÓGICO

É responsável em controlar todas as operações de recepção, processamento e impressão de dados enviados pelo computador, este sistema verifica todas as condições da impressora e dos dados que serão impressos de forma a definir como, onde e quando enviar uma mensagem de falha na impressora.

O sistema lógico possui circuitos eletrônicos que controlam operações de processamento de dados, transporte do carro de impressão, alimentação e ativamento dos indutores das agulha

Estes circuitos podem ser integrados (Cis customizados ou comerciais), podem ser de eletrônica discreta (semicondutores) ou híbridos ( integrados com eletrônica discreta) e controla as seguintes operações:

  • Recepção e transmissão de dados pela interface de comunicação;
  • Controle lógico dos motores do carro, do papel e do kit de limpeza;
  • Posicionamento do cabeçote de impressão;
  • Temporização e sincronização de dados e sinais de controle

SISTEMA MECÂNICO

  • Posicionamento mecânico na Cabeça impressora
  • Controle de sensores de papel
  • Controle de Motores
  • Funcionamento da cabeça de impressão

POSICIONAMENTO MECÂNICO DA CABEÇA

As impressoras em geral são dispositivos servo-mecânicos controlados por um sistema eletrônico microprocessado responsável em controlar todas as posições mecânicas em que os servos estiverem envolvidos, existe a necessidade básica deste controle em saber a posição do cabeçote de impressão, da posição do papel onde serão impressos os dados, e em que momento este sistema deverá acionar o motor ou mecanismo de limpeza dos cabeçotes. Estas posições são verificadas constantemente de forma a sincronizar o momento em que os ejetores de tinta serão ativados e quando o papel deverá ser alimentado para a impressão continuar na linha de baixo.

São utilizados sensores óticos, mecânicos e magnéticos que sinalizam para o controle mecânico as posições e condições técnicas que se encontram o cabeçote de impressão e o papel.

2 SISTEMA DE POSICIONAMENTO EPSON

As impressoras utilizam sensores ópticos e mecânicos para controlar e verificar constantemente a posição do cabeçote de impressão que se movimenta horizontalmente no eixo de transporte do carro, esta verificação é iniciada sempre que a impressora é ligada ou resetada, ou seja, quando a ligamos o programa de software interno da impressora (firmware) gravado em rom envia comandos para o motor de deslocamento do cabeçote (motor do carro) para a que o mesmo se desloque para a esquerda até que um sensor ótico ou mecânico seje interrompido e informe ao controle de posicionamento que o cabeçote se encontra na primeira coluna da margem esquerda, as colunas de 1 a 80 ou de 1 a 132 são deslocados de acordo com um contador eletrônico que é incrementado ou decrementado obedecendo o processamento da CPU que definirá em  quais colunas e quais agulhas  ou ejetores serão ativados em cada momento após uma linha  o cabeçote é recolhido para a primeira coluna de modo se referenciar novamente eliminando possíveis erros de deslocamento.

3 SISTEMA DE POSICIONAMENTO CANON

A linha BJC600 de impressoras jato de tinta da  Canon utiliza um cabo de aço ( enconder) esticado paralelo ao eixo de transporte do carro de impressão, este cabo possui intervalos magnéticos que são lidos por um sensor magnético instalado na parte de trás do suporte do cabeçote e este se desloca horizontalmente junto com o carro enviando para o controle de posicionamento cada coluna deslocada da direita para a esquerda ou vice e versa. 

As linhas BJC4000 e BJC200 utilizam um sensor óptico instalado na parte de trás do carro de impressão, este sensor é interrompido por um atuador de metal que é projetado na margem direita e sinaliza para o controle que o cabeçote chegou na coluna inicial , as outras colunas são também deslocadas incrementando e decrementando eletrônicamente contadores internos.

4 SISTEMA DE POSICIONAMENTO HP

As impressoras da HP utilizam um sistema codificador de posicionamento usando uma fita ótica fixa (encoder) (figura 18) que possui gravado em sua superfície um código com 1.500 barras dispostas uma do lado da outra, pelo intervalo de uma barra para a outra passará luz transmitida por um foto-diodo que é instalado na parte de trás do suporte dos cartuchos, a luz transpassará pelo intervalo e ativará um foto-transistor que se encontra do outro lado da fita ótica e sinalizará para o controle que um deslocamento foi efetuado. 

Ao serem ligadas as impressoras da HP como de outros fabricantes, executam diversas tarefas de inicialização que serão discutidas em momentos oportunos, uma destas tarefas é executar uma varredura na fita ótica através do deslocamento do sensor ótico (foto-diodo e fototransistor) e contar o número de intervalos lidos, este será usado por contador interno que comparará este número com cada deslocamento sinalizado pelo intervalo transpassado.

 Qualquer atraso no deslocamento do carro provocado por impedimento mecânico ou eletrônico será identificado após a comparação interna e ativará a rotina de atendimento a falhas da impressora, que indicará através dos LEDS do painel.

5 SENSOR DE PAPEL

O sensor de papel geralmente consiste em um sistema ótico ativado por uma palheta plástica que indicará a presença ou ausência do papel, este sistema ótico normalmente é um foto-diodo(emite luz) e um foto-transistor(dispara ao receber luz) quando o papel aciona a palheta a luz do foto-diodo para o fototransmissor é interrompida fazendo com que o transistor deixe de conduzir e indique para a CPU a presença do papel.

6 SENSOR DE CARTUCHO/TINTA

As impressoras  jato de tinta verificam a presença do cartucho ou da tinta de três maneiras:

MECÂNICA: Uma palheta é acionada mecanicamente quando colocamos o depósito de tinta dentro do cabeçote de impressão(modelosEpson) figura x.

ÓTICA: Quando colocamos o depósito de tinta com tinta no cabeçote de um sensor ótico é acionado após a tinta dentro do depósito interromper a passagem de luz do foto-diodo para foto-transmissor (modelos Cânon 600) figura 20.

ELÉTRICA: Quando colocamos o cartucho no carro de impressão a parte eletrônica do cartucho fecha um contato elétrico indicado para a CPU a presença do cartucho(modelos HP) figura 21.

7 SENSOR DE PAPEL

O sensor de papel geralmente consiste em um sistema mecânico ou ótico ativado por uma palheta plástica que indicará a presença ou ausência do papel, o sistema ótico normalmente é um foto-diodo(emite luz) e um foto-transistor(dispara ao receber luz) quando o papel aciona a palheta a luz do foto-diodo para o fototransmissor é interrompida fazendo com que o transistor deixe de conduzir e indique para a CPU a presença do papel , o sistema mecânico consiste em um interruptor que será ligado ou desligado de acordo com a presença ou ausência de papel.

 

CONTROLE DE MOTORES

Este controle é responsável em executar todos os comandos de transporte do carro de impressão, alimentação de papel  enviados pelo sistema lógico.

 

FUNCIONAMENTO DOS MOTORES DE PASSO

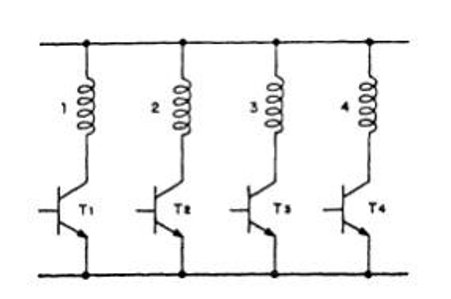
Possui um rotor com imã permanente, apresenta em sua periferia um número de pólos gerados pelos enrolamentos do estator, quando as fases são percorridas por pulsos elétricos comandados pela CPU o rotor busca uma posição de equilíbrio se deslocando um passo, quando outro pulso chega as fases o rotor busca uma nova posição de equilíbrio de deslocando mais um passo, após uma sequência de pulsos enviados pela CPU para as 4 fases o eixo do motor (rotor) gira para a direita ou para a  esquerda de acordo com as fases que estarão sendo ativadas.

8 MOTOR DE ALIMENTAÇÃO DE PAPEL

Os motores de avanço do papel utilizado nas impressoras  em geral, são também de passo tendo o seu deslocamento controlado pela CPU a medida que se tem necessidade de avançar uma  ou várias linhas de impressão.

  • Mecanismo - Parte mecânica onde estão os motores, a cabeça de impressão, os sensores de monitoramento do carro de impressão , suporte de cartucho de tinta e mecanismo de tracionamento da fita tintada ou de kit de limpeza dos ejetores.  As setas indicam se a placa lógica somente ativa aquela peça ou se esta envia algum sinal para a placa.
  • Sensor de Papel - É uma chave mecânica ou ótica que indicará para a CPU se a impressora está com ou sem papel.
  • Sensor de Margem (Coluna 0) – Sensor mecânico ou ótico que será ativado quando a cabeça estiver na margem esquerda nas matriciais ou na direita nas jato de tinta.  O foto-diodo ficará emitindo luz na base do fototransistor fazendo com que o mesmo fique saturado, saída no coletor em 0. Quando o feixe do diodo for interrompido, o transistor ficará cortado, ou seja, terá 1 (5v) no seu coletor, ou quando a cabeça ativar o sensor mecânico em uma das margens informará que a mesma chegou na posição inicial.

 

  • Sensor de Folha Solta/Form (Release) - Sensor mecânico (igual ao papel) que indica qual a posição da alavanca de tipo de folha, ou seja, formulário contínuo ou folha solta. (existe somente na EPSON)
  • Motor do Carro - Motor de passo que irá movimentar a cabeça ou cartuchos de tinta (que estão alojados em um suporte chamado carro) horizontalmente, coluna por coluna a fim de formar os caracteres.
  • Motor de Papel - Motor de passo responsável por tracionar o papel verticalmente.
  • Cabeça de Impressão Matricial - É composta por um conjunto de agulhas (9, 18 ou 24) que irão formar o caracter baseado em uma matriz de ponto, coluna por coluna.
  • Cabeça de Impressão Jato de Tinta – É formada por um conjunto de furinhos dispostos verticalmente um em cima do outro formando uma matriz e que são chamados ejetores de tinta.  

Obs: Nas impressora de 24ag (LQ) é utilizado um termistor para medir a temperatura da cabeça de impressão, avisando a CPU se houver algum superaquecimento.

  • Alto Falante, Leds e Displays de Cristal líquido - As impressoras utilizam altofalantes (buzzer)  leds e displays para informar algum erro ou defeito na máquina através de um código sonoro/luminoso que deverá ser identificado no manual do usuário para correção do mesmo.
  • Plunger - A impressora EPSON MODELO FX1050 possui um eletroímã que aciona uma alavanca a fim de afastar ou aproximar uma haste de pressão do papel.
  • Fonte de Alimentação - Fornece uma ou mais tensões contínuas. Uma ou duas baixas para alimentar a placa lógica e uma alta para a parte de potência, motores e cabeça.

9 ROTINA DE INICIALIZAÇÃO

Ao ser ligada, a máquina lê a configuração de estrapes e movimenta o carro de impressão, até encontrar o sensor de margem.  Em seguida verifica se a máquina está com papel.  Após isto, fica aguardando algum comando pelo teclado ou pela interface de comunicação.

Obs: A impressora verifica o tempo de entrada e saída do carro no sensor de margem de modo a saber se existe algum dano no mecanismo do carro, por exemplo correia frouxa.

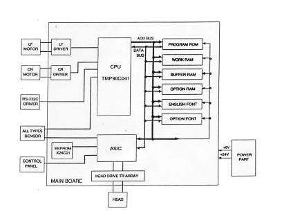
DIAGRAMA EM BLOCOS DA PLACA LÓGICA

  • Microprocessador - É o componente principal que executa as instruções contidas na EPROM (BIOS).
  • Eprom (Bios) - Contém as instruções e tabelas utilizados pelo processador, ou seja, todas as funções que a máquina executa e como as executa estão contidas nas instruções da Eprom.
  • Ram - Memória utilizada para armazenar (buffer) os dados lidos na interface para que posteriormente a impressora os imprima.  Também serve como área de trabalho do processador.
  • Interface de Comunicação – Reconhece a chegada de um dado pelo cabo de interface e avisa o processador para que o mesmo, possa pegar este dado e armazená-lo no buffer.
  • Circuito de Potência (Driver) - Formado por transistores darlington e outros componentes para amplificar a corrente e tensão de modo a poder acionar os motores e cabeça.
  • Interface de Uso Geral - Utilizada para ler o teclado, os sensores e os estrapes (configuração de chaves) e também para acionar os LEDs, assim como gerar alguns sinais de funções específicas.
  • Fonte de Alimentação - Converte o sinal AC em contínuo e regulado.  Entretanto nas impressoras ELEBRA e RIMA as tensões dos motores e da cabeça não são reguladas.

10 TIPOS DE IMPRESSÃO

As impressoras conseguem imprimir os caracteres de diversas formas, isto permite ter uma diversificação no lay out do texto.

Itálico - O caráter é impresso inclinado para a direita.

Sublinhado - É impresso uma linha em baixo dos caracteres pela nona agulha.

Qualidade de Carta - A impressora imprime unia vez a linha e depois dá um avanço de 1/2 agulha e imprime novamente a mesma informação de modo a aumentar a qualidade dos caracteres.  Também o número de colunas que forma o caráter é aumentada.  Isto entretanto diminui de modo sensível a velocidade de impressão.

Negrito (Enfatizado) - A impressora imprime a mesma linha duas vezes sem nenhum avanço de linha.  Isto faz com que os caracteres fiquem mais intensos.

Expandido - Os caracteres são impressos com os pontos das colunas mais distantes o que aumenta a largura do caráter.

Condensado - Os caracteres são impressos com os pontos das colunas mais próximos.  Isto é feito diminuindo-se a velocidade do movimento do carro sem alterar a velocidade de disparo das agulhas. É definido em CPI (caráter per inch) caracteres por polegada.

Capacidade Gráfica - É a quantidade de pontos por polegada horizontalmente e verticalmente que a impressora consegue imprimir.  É definido em pontos por polegada PPI (points per inch).  Se um computador tentar imprimir um círculo em uma impressora com baixa capacidade gráfica, será impresso uma elipse e não o círculo.

11 CABEÇA DE IMPRESSÃO

A cabeça de impressão é um dispositivo que contém 9 agulhas (existem modelos de máquina com 18 agulhas ou 24 como nas LQ) alinhadas verticalmente e que irá formar o caracter coluna por coluna baseado em uma matriz de ponto.  Na maioria das impressoras esta matriz é composta por 7 colunas e 9 pontos (agulhas).  A forma que o caracter terá dentro da matriz está armazenado na memória ROM da impressora (BIOS).

Para cada agulha existe uma bobina que quando energizada interage com um ímã permanente existente na base da agulha fazendo com o que a mesma avance e comprima a fita entintada no papel, gerando assim um ponto impresso.  O efeito mola da haste que sustenta a agulha faz com que ela retorne a sua posição de origem.  A resistência da bobina (impedância) pode ser medida e utilizada para detectar algum dano na cabeça.

A tolerância  é de 10%.  A impedância de todas as bobinas são iguais, assim, basta comparar uma com a outra para saber qual a agulha danificada.  Contudo, mesmo a medição estando correta, não temos garantia de que a cabeça esteja boa, pois podemos ter um problema mecânico nela.

A fim de manter as agulhas alinhadas verticalmente é usado uma “janela” de rubi, cerâmica ou plástico para mantê-las na posição correta.  Veja a figura abaixo:

12 MOTOR DE PASSO (Step motor)

CONCEITO

O motor de passo é um dispositivo eletromecânico capaz de converter impulsos digitais em deslocamentos mecânicos angulares.

USO

Os motores de passo encontram um campo de aplicação bastante grande como:

  • Acionamento mecânico de precisão em periféricos de computadores;
  • Registradores gráficos;
  • Sistemas de controle e servo mecanismos em geral.

VANTAGENS

Os motores de passo vieram substituir muitos acionamentos que eram feitos à base de motores de corrente contínua, pois funcionam perfeitamente em sistemas de malha aberta (sem realimentação).  O que não ocorre com acionamentos com motores CC que exigem controle em malha fechada (com realimentação), a fim de obter-se posicionamento preciso.

 

ESTRUTURA

A estrutura típica de um motor de passo pode ser vista abaixo.

PROCESSO

Uma configuração elétrica típica de um motor de passo pode ser vista abaixo.

O motor de passo descrito acima seria especificado como um motor de 4 passos por revolução e 90º por passo.

Utilizando- se técnicas especiais de comutação das bobinas do estator podem-se conseguir passos da ordem de 0,36º.  Tal recurso faria com que uma revolução completa tivesse 1000 passos, aumentando muito a precisão de posicionamento mecânico.

O acionamento de um motor de passo pode ser feito através da configuração abaixo.

A porta paralela transfere os dados que o microprocessador envia para os amplificadores de fase que, por sua vez, acionam as fases do motor de maneira sequencial. Este é apenas um exemplo de como acionar um motor de passos.  Existem várias configurações de circuitos que desempenham essa função, além de alguns circuitos integrados como, por exemplo, o CI excitador SAA 1027

CLASSIFICAÇÃO

Podemos classificar os motores de passo quanto ao:

Tipo de Rotor

  • Imã permanente
  • Relutância variável
  • Híbrido ou homopolar

Tipo de ligação das fases (para duas e quatro fases) 

  • Ligação bifásica
  • Ligação bifásica bifilar
  • Ligação a quatro fases

ÍMÃ PERMANENTE

É aquele motor cujo rotor é composto por um ímã permanente (N-S)

RELUTÂNCIA VARIÁVEL

É aquela em que o rotor pelo fato de possuir saliências faz com que a relutância, ou seja, a resistência magnética varie, pois há pontos em que o rotor se aproxima mais do estator.

Ligação a quatro fases

Existem motores de passo com variado número de fases.  Foram tomados como exemplo os motores de duas e quatro fases.

Os motores de passo são comumente empregados em acionamentos de porte pequeno e médio.

Para sua utilização, são observados fatores como velocidade, torque e variações de carga e, a partir de certo valor, deve ser estudada a utilização de servomotores CC.

Um motor de passo típico possui basicamente um rotor permanentemente magnetizado que apresenta em sua periferia um determinado número de pares de pólos gerados pelos enrolamentos nos dentes do estator.

Quando os enrolamentos do motor são alimentados com corrente contínua, o rotor busca a posição de equilíbrio (ou de menor energia potencial) mais próxima, então permanece até que haja inversão do sentido de corrente de uma das fases.  Ocorrendo isso, o rotor busca a nova posição de equilíbrio que se for seguido, o esquema de comutação do motor, estará imediatamente à direita ou à esquerda da posição anterior, de acordo com o sentido da comutação.  Para exemplificar, a figura abaixo mostra o esquema simplificado de um motor de quatro fases com uma suposta tabela de comutação.

Para cada comutação das chaves, de acordo com a tabela, o rotor girará um passo no sentido horário ou anti-horário.  A continuação da seqüência provocará no motor uma rotação contínua.  Com a substituição das chaves pelos modernos circuitos digitais, microprocessadores e transistores disponíveis atualmente no mercado obtém-se um controle integral de velocidade e posicionamento, além de uma vida longa e alta confiabilidade.  A precisão desses motores, em geral é de +/- 5% do passo, o que significa que funcionando sem carga ou com carga constante sempre na mesma direção, o rotor se posicionará com um erro médio máximo de +/- 5% do passo da posição desejada.  Cada passo faz com que o eixo do motor (rotor) se desloque em um ângulo que é uma das especificações do motor.  Outra especificação é a impedância de cada bobina que pode ser medida e usada para determinar o estado do motor.  Esta impedância pode variar somente 5% e a impedância das bobinas são iguais.  Entretando mesmo estando as medições corretas não temos garantia do bom estado do motor, pois podemos ter problemas mecânicos nele, ou até mesmo pode haver alteração do campo magnético do rotor.

 

PLACA LÓGICA

A placa lógica de uma impressora pode ser dividida em dois módulos: Parte lógica e Parte de Potência.  A lógica é responsável pelo processamento dos dados e interfaceamento com o mecanismo e com o computador.  A parte de potência nada mais é do que os buffers e transistores necessários para fornecer e controlar uma tensão e corrente alta para os motores e cabeça de impressão.

13 CIRCUITO LÓGICO

A parte lógica por sua vez pode ser dividida em duas partes: processamento de dados e interfaceamento.  O processamento de dados é feito pelo microprocessador, memória, decodificador e latch endereço (para processador da Intel).  O circuito de interfaceamento é basicamente feito pelo integrado 8155 que é um chip com vários flip-flops e buffers internamente de modo a dispensar o uso destes componentes em quantidade.  Antes de começar a análise do circuito lógico, daremos uma breve descrição dos componentes utilizados.

  • Microprocessador - Sua função é ler e executar as instruções contidas na memória EPROM e memória RAM e também armazenar na memória ram os dados que o micro enviou.
  • Eprom - Contém as instruções básicas e tabelas que a impressora precisa para funcionar, por exemplo, comando para buscar o sensor quando a impressora é ligada, comando para ativar motores e cabeça de impressão, tabela das fases do motor, formato que o caracter será impresso, etc.
  • Ram - Esta memória somente é usada para duas funções.  A maior parte da memória é usada para armazenar os dados que o micro enviou que serão impressos.  Uma pequena parte, desta memória armazena o endereço de retorno de subrotina, ou seja, para quando o microprocessador sair do programa principal e for para uma subrotina, ele pode voltar para o ponto anterior à chamada da subrotina.
  • Decodificador - Usado para possibilitar ao microprocessador acessar somente um componente de cada vez, pois o MP somente pode ler ou escrever em um componente por vez.  Assim sendo o MP coloca na entrada do decodificador um código binário correspondente à posição na memória que o dispositivo está localizado (endereço).  Este código fará com que somente uma das saídas do decodificador fique ativada.

pressupomos que o componente será habilitado com “O”

  • Latch de Endereço - Os microprocessadores da Intel utilizam este componente para armazenar a metade dos endereços, sendo que a outra metade é enviada diretamente do processador aos componentes, este artificio é usado de modo que primeiramente as vias são usadas como vias de endereço e depois que os endereços são armazenados, estas vias são usadas como vias de dado.

     

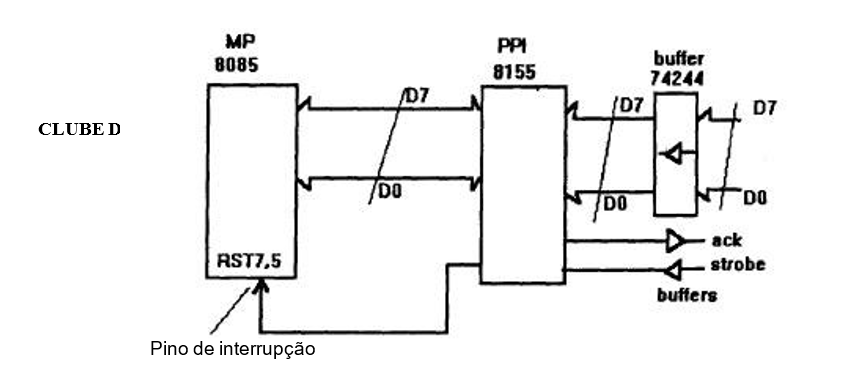
PRINCÍPIO DE FUNCIONAMENTO

Ao ser ligada a máquina, o microprocessador executa instruções que programarão os Cis 8155 de modo que estes irão gerar pulsos repetitivos nos pinos de interrupção do MP, assim, os pulsos em uma entrada de interrupção fará o MT executar a subrotina de movimento do motor do carro, uma outra entrada é usada para o MP movimentar o motor do papel e ativar a cabeça de impressão (note que um pino é usado para duas funções, pois nunca existe impressão durante o avanço do papel.), outra entrada é usada para avisar o MP que existe um dado na interface paralela para ser lido e por último uma outra entrada é usada para avisar que um dado está na interface serial para ser lido.

14 CIRCUITO DE INTERFACEAMENTO

Este circuito é constituído basicamente pelo CI 8155.  Quando o MP precisa ler o teclado ou ativar um led ou então receber dado enviado pelo computador, basta que ele execute uma instrução de entrada ou saída neste componente.  Qualquer um dos pinos deste componente pode ser programado como entrada (como se estivesse sendo usado um buffer) ou como saída (como se estivesse usando um flip-flop tipo D).  Este componente também possui uma parte que divide uma freqüência que ao entrar em seu pino de Clockin, a freqüência dividida estará no pino de saída Clockout e irá no pino de interrupção do MP.

Este componente também possui internamente 256 bytes de memória ram (estática) para uso geral, porém na maioria dos modelos de impressora esta memória não é utilizada.

Vejamos o que acontece quando um computador envia um arquivo a ser impresso.  A cada byte que chega na entrada da interface (8155) existe um pulso enviado pelo computador para avisar a impressora que o computador quer que ela leia este byte e o armazene em seu buffer (memória ram).  Este pulso é chamado Strobe.  O integrado quando recebe o pulso de Strobe, armazena em seu registro interno o byte que estava em sua entrada e depois envia um pulso na entrada de interrupção do microprocessador avisando-o para parar o programa que estiver executando e ir para a subrotina de interface, ou seja, ele irá parar o que está fazendo e irá ler o byte que está armazenado no 8155 e depois irá armazenar este dado na memória ram (buffer).  O CI 8155 após ser lido pelo processador envia um sinal (este sinal é chamado de Acknowledge) para o computador avisando-o que aquele byte foi lido e armazenado e que o computador pode então, enviar outro byte.

  • Buffer 74244 tem por finalidade aumentar o nível do sinal que está chegando do micro, pois houve atenuação pelo cabo.

É bom saber que as chaves de configuração da impressora., somente são lidas quando a máquina é ligada e também que a configuração efetuada por software no computador tem prioridade sobre a configuração efetuada na máquina, ou seja, se você configurou a impressora para 20 CPP (caracteres por polegada) e no computador o usuário configurou para 10 CPP, irá prevalecer a configuração do usuário. 

 

PARTE DE POTÊNCIA

A parte de potência pode ser dividida em 3 circuitos: 

  • Circuito do motor do papel

  • Circuito do motor do carro

  • Circuito da cabeça de impressão q 3999

15 MOTOR DO KIT DE LIMPEZA

Alguns modelos de impressoras, normalmente as da HP, utilizam um motor de passo no kit de limpeza (estação de serviço) que movimentará um mecanismo elevador que atuará na limpeza dos ejetores de tinta da cabeça de impressão (figura x).    

           SISTEMA DE CLEANING (LIMPEZA DA CABEÇA DE IMPRESSÃO)  

Todas as impressoras jato de tinta possuem a necessidade de executar uma limpeza de cabeçote após uma determinada sequência de ejeções feita pelos seus ejetores,

este sistema é chamado de kit de limpeza ou estação de serviço e está instalado em todas as impressoras de diversos fabricantes.

Alguns modelos de impressoras (HPs) utilizam um motor  isolado(motor do kit de limpeza) para movimentar o mecanismo de sucção de tinta usado para limpar os ejetores,

Outros modelos (Cânon e Epson) utilizam o próprio motor de papel que ora é chaveado mecanicamente para  avançar o papel e na hora de executar a limpeza da cabeça é chaveado para movimentar o mecanismo de sucção de tinta.

FUNCIONAMENTO DO KIT DE LIMPEZA

Genericamente a estação de limpeza da cabeça possui um guia que conectará o conjunto de ejetores do cabeçote a uma peça de borracha de limpeza que removerá a sujeira e resíduos de tinta que ficam na cabeça após uma sequência de impressões, os modelos da HP possuem um depósito de tinta onde são colocados estes resíduos, este depósito possue uma esponja que sugará a tinta até que seja executada uma manutenção e este depósito seja limpo. Os modelos da Cânon e da Epson possuem um feltro de limpeza em toda a sua base interna, este feltro guardará a tinta depositada até que o mesmo sature, então será necessário substituílo por outro novo.

A estação de serviço possui também uma capa protetora na cabeça que servirá de proteção quando a máquina for desligada ou não estiver sendo usada (posição de repouso).

CICLOS DE LIMPEZA

Os ciclos de limpeza da cabeça ocorre em três situações:

Sistema de “CLEANING” automático

A limpeza automática da cabeça impressora ocorrerá sempre quando a máquina for ligada e após três páginas impressas em média.

Sistema de “CLEANING”  local

A limpeza local da cabeça é o modo que o técnico ou o usuário tem de comandar a limpeza diretamente dos botões de controle da impressora.

Obs: Alguns fabricantes não oferecem esta opção em determinados modelos(vide manual de operação).

Sistema de “CLEANING” remoto

A limpeza remota da cabeça é o modo que o técnico ou usuário tem de comandar a limpeza através de comandos enviados pelo micro, esta opção é acessada pelo painel de controle do windows ou pela página de configuração da impressora.

16 CARACTERÍSTICAS TÉCNICAS

VELOCIDADE DE IMPRESSÃO

Diferente das impressoras matriciais, as velocidades de impressão nas impressoras jato de tinta mede-se, contando o número de páginas impressas por minuto. Ex: 4ppm – 5ppm – 8ppm.

As velocidades de impressão em preto e em colorido são diferentes, e a velocidade de impressão colorida será calculada a partir da combinação no papel de diferentes porcentagens das tintas chamadas primárias, ou sejam: cyan, magenta, yelow e black. Esta combinação é processada pela “CPU” da impressora que possue as porcentagens e combinação de cada cor a serem impressas, portanto a velocidade em colorido será relativa e será maior ou menor de acordo com o número de cores primárias utilizadas na composição da cor secundária a ser impressa.

A velocidade de impressão em preto será calculada a partir do processamento dos dados na “CPU” e da transferência destes dados  para o cabeçote preto, quando este existir, ou a partir da combinação eletrônica dos três cabeçotes primários quando a impressora não possuir o cabeçote preto, que produzirá uma impressão com tonalidade verde escuro no lugar do preto.

Devido ás diferenças de porcentagens necessárias para a impressão de cada cor criada no computador, a velocidade de impressão colorida será relativa a quantidade de cada cor básica utilizada para compor a cor criada, ou seja, cores secundárias que utilizem somente duas cores primárias para sua formação serão impressas mais rapidamente do que cores secundárias que utilizem as três cores primárias para sua formação.

Ex: verde= azul + amarelo

Roxo= azul + amarelo + vermelho.

Existem três modos de impressão que são configuradas no computador (página de impressão) que são: rascunho, padrão e alta qualidade, no modo rascunho (incomode)  a velocidade será mais rápida porém a qualidade da impressão e a quantidade de tinta ejetada serão baixas. No modo padrão(normal) a velocidade será média e a qualidade e quantidade da impressão poderão não ser comprometidas e no modo de alta  qualidade(best) a velocidade será baixa porém a qualidade e quantidade da impressão serão altas.

RESOLUÇÃO DE IMPRESSÃO

A formação da imagem ou caracteres a serem impressos é feita a partir de um alinhamento horizontal e vertical de pontos imprimíveis, estes pontos são mapeados pelo+ processamento eletrônico de forma que se possa separar os pontos impressos(pretos ou coloridos)dos pontos em branco(vazio de impressão), estes pontos são agrupados em polegadas quadrada ,ou seja, a resolução de impressão vai variar de acordo com a capacidade da impressora  de imprimir uma maior ou menor quantidade de pontos dentro de cada polegada quadrada (figura ).

Exemplo 1: HP 680C – 600x 300 DPI.

       Imprime 600 pontos na horizontal e 300 pontos na vertical em cada polegada quadrada impressa.

Exemplo 2: Epson stylus color 800 – 1440 x 720 DPI.

       Imprime 1440 pontos na horizontal e 300 pontos na vertical em cada polegada quadrada impressa.

Exemplos 3: HP 500C – 300 x 300 DPI

TAMANHOS DE MÍDIA

Existem quatro tamanhos de mídias muito utilizados nas impressoras que são: A4 – legal (ofício) – letter(carta e envelope), estes tamanhos funcionam como padrão, porém existem outros que são utilizados especificamente por áreas de engenharia e publicidade que são: tablóide – A3 – A2 – A1 – A0, que necessitarão de impressoras com dimensões maiores para imprimi-los.

 

Exemplos:

       A4 – 210 mm x 297 mm                      Tablóide

        Legal(ofício) – 8  ”½ x 14”                  A 3

        Letter(carta) – 8 ½  x 11”                    A 2

        Envelope – 4  x 9 ½”                        A 1

                                                                    A 0

Na configuração da página de impressão no computador podem ser criados tamanhos personalizados, e dependerá da habilidade do operador e da configuração correta da impressora.

 As opções de tamanho de envelope estão disponíveis em todas as impressoras jato de tinta, e devem ser configuradas de acordo com o manual do usuário.

 

17 INTERFACES DE COMUNICAÇÃO

A Paralela centronics transmite os dados do computador para a impressora através de um conjunto de 8 linhas de dados em paralelo, após o dado(caracter)ser reconhecido, a impressora enviará para o micro através da linha de sinal ACK, a informação que o caracter foi aceito, após isto o micro enviará outro e normalmente aguardará o sinal ACK, e assim será até o término da transmissão.

Outro sinal presente na centronics é o paper end (pe) que indicará para o micro que o papel da impressora acabou, este enviará uma mensagem para o monitor solicitando que o operador coloque mais papel na impressora (figura).

 A transmissão de dados nesta interface paralela é unidirecional só enviando dados do micro para impressora (figura).

A interface paralela bi-tronics é um desenvolvimento da centronics, que visa a permitir a transmissão pela linha de dados de informações de status das impressoras ou de outros periféricos que forem compatíveis com ela. Em casos de término do papel, papel embolado, fim de tinta e quaisquer outros problemas que ocorrerem a impressora enviará pela linha de dados a ocorrência e solicitará a intervenção do operador.

A comunicação entre os dois equipamentos (figura 19).

Obs: Explicar funcionamento uni e biredicional.

A porta paralela centronics é a mais utilizada e de fácil configuração, existem  3 tipos de portas, a paralela centronics unidirecional é a normal e é utilizada nos equipamentos com mais de 2 anos de fabricação,utiliza o protocolo de comunicação( software SPP(single parallel port) e transfere os dados a uma velocidade KB/S( 150 mil bytes por segundo(figura 20). de 150

A porta paralela bidirecional  epp cenghanced parallel port) transfere os dados do micro para a impressora a uma velocidade de 2mb/s (2 milhões de bytes por segundo utilizando cabo blindado por malha e trança).

Portas Paralelas

Normal (single parallel port-SSP)

Unidirecional 150 KB/s

 

EPP (Enchanced parallel port)

Bidirecional 2MB/s (máximo com cabo pôr malha e trança)

Taxa típica de 800 KB/s

ECP (Enchanced Capabilities Port)

Igual a EPP, porém utiliza DNA (3) e buffer FIFO 16 Bytes.

Taxa máxima 2 Mb/s

 800 KB/s (800 mil Bytes por segundo com cabo  bidirecional ECP (Enchanced Capabilities Port) funciona semelhante a EPP mais utiliza o canal DMA(3) e Buffer(memória de armazenamento para impressão) FIFO 16 bytes usando uma velocidade máxima de 2 MB ( 2 milhões de Bytes) para transmitir os dados do micro(figura 22).

 A porta paralela configurada no setup do micro deve estar de acordo com a porta de entrada na impressora, alguns fabricantes de impressoras utilizam a porta normal ssp outros a biredicional epp e outros a biredicional ecp, e se configurar-mos errado poderemos ter erros de comunicação, no manual do usuário da impressora vem dizendo qual o padrão de porta paralela ela suporta (figura 23).

A paralela centronics contêm as seguintes linhas físicas de dados

  • 8 linhas de dados
    Dados Bit Ø a dados Bit 7 (DB Ø – DB 
  • 3 linhas de verificação(hand shake) Strobe (início) (str).
    Acknowledge(reconhecimento) (ACK)
    -Busy (ocupado)
  • 3 linhas de estado

         -On line (pronta).

         -Paper error (erro de papel) (PE).

  • uma linha de reset

-Reset/Imput Prime (inicialização).

Abaixo descrevemos o diagrama de temporização e o processo de verificação durante a transferência de um Byte de dados.

       CHAVEAMENTO DE ENTRADA E SAÍDA
Algumas impressoras possuem mais que uma interface de comunicação que podem ser chaveadas automaticamente com a entrada dedados vindo do computador ou através de chaveamento mecânico ou pelo teclado de comandos da impressora feito pelo usuário, esta característica deve ser verificada no manual do usuário das impressoras.

       TECNOLOGIAS DE IMPRESSÃO A JATO DE TINTA
A tecnologia de impressão pioneira é a térmica utilizada na maioria das impressoras  projetadas até hoje, e consiste em um elemento aquecedor que ao ser endereçado pela CPU através de um pulso elétrico aquecerá a tinta gerando uma bolha que impulsionará uma gota de tinta que será ejetada através do ejetor de impressão (figura 24).

Esta tecnologia é também conhecida como sistema térmico de impressão e está instalado nas impressoras da HP, Cânon e Etc..., esta tecnologia possui o incoveniente de ejetar a gota com menor pressão e velocidade causando imprecisão no ponto devido as gotas principal, dando-lhe uma aparência levemente borrada, este sistema limitada também a resolução máxima atingida por estas impressoras.

Exemplo: HP 692 – 600 x 600 DPI

               Cânon Bjc 610 – 720 x 720 DPI

A Epson desenvolveu sua própria tecnologia e consiste em um elemento piezolétrico que tem a característica de vibral ao ser percorrido por um pulso elétrico vindo na CPU, acoplado a este elemento tem uma placa colocada que vibrará junto, estrategicamente sob pressão a tinta vibrará forçando a saída de uma gota pelo ejetor de impressão.

Esta tecnologia também chamada de sistema piezoelétrico possui a característica de ejetar a tinta para o papel com alta pressão e alta velocidade resultando em uma gota mais perfeita e esférica (figura 27), que não se espalha e não vaza e uma resolução alta de até 1440 x 720 DPI`s . Ex: Stylus 500, 400, 600 e 800.

        Fisicamente o cabeçote de impressão nas impressoras da Epson é separado do depósito de tinta, este fato gera problemas de entupimento e entrada de ar no cabeçote e no depósito causando danos irreparáveis nos dois quando manuseados ou separados indevidamente (figura 28).

TECNOLOGIAS DE APOIO

Algumas tecnologias projetadas recentemente dão apoio ou substituem as tecnologias mais antigas, e os fabricantes se utilizam delas para melhorar e aumentar a performance apresentadas pelas impressoras.

Abaixo citamos alguns destas tecnologias e o que elas proporcionam de novidade.

HP real life imaging system - sistema de imagens reais exclusivo na HP

HP cret (resolution enhacement technology - tecnologia de resolução melhorada.

HP cret (Color resolution enhacement) é um recurso do HP reallipe imaging system da HP que produz cores brilhantes e preto nítidos com melhor resolução.

HP colorsmat- analiza o conteúdo de cada página e otimiza automaticamente as cores a ser impressas fazendo os ajustes necessários para obter a melhor imagem HP printsmart.

HP met (memory enhacement technology) - tecnologia de uso melhorado que permite a impressão de arquivos maiores e mais complexos com a memória base.

Epson Micro Weave (micro trama) proporciona a redução de faixas em imagens em tons de cinza e posiciona os pontos precisamente na página fazendo múltiplas passadas na cabeça de impressão.

Epson graphic Diffusion Halftone - técnica avançada para produzir melhores imagens suportando até 255 tons.

Epson Micro Feed – proporciona também a redução de faixas em imagens em tons de cinza e traciona o papel mais precisamente reduzindo a sobreposição de pontos na passada seguinte da cabeça de impressão.

Cânon Photorealísm – tecnologia que usa uma combinação de tintas com qualidade foto e tintas padrão e proporciona a impressão em até nove níveis de tons aumentando o contraste, e também permite a reprodução apurada de tons e sobretons obtendo uma qualidade de imagens comparável a fotografia eliminando o efeito dos pontinhos.

Cânon P-Pop – tecnologia que torna a impressão em papel comum resistente a umidade e utilizando papel especial HR-101 torna a impressão resistente a água e ao tempo.

Cânon Image Optimizer – Tecnologia que faz o ajuste automático de pontos e reproduz imagens precisas eliminando o serrilhado das bordas das figuras impressas. 

18 TIPOS DE CARTUCHOS HP

Ao estudarmos os tipos de cartuchos das impressoras e cabeçotes devemos levar em consideração alguns aspectos,qualidade e características que as impressoras possuem umas em relação as outras, uma delas é o tipo de cabeçote de impressão que no caso das impressoras á tinta da marca HP (HEWLETT PACKARD) todos os modelos possuem o cabeçote no mesmo invólucro em que contém o depósito de tinta ou seja, se acabar uma das tintas devese trocar o depósito de tinta que vem junto com o cabeçote de impressão. Este tipo de barateia a manutenção corretiva em caso de defeito na cabeça de impressão pois é só trocar o cartucho inteiro, que tem normalmente um custo baixo.

EPSON

As impressoras da EPSON possuem um sistema de impressão que tem um depósito de tinta acoplado ao cabeçote de impressão ou seja, quando a tinta acaba somente o depósito é substituído ficando o cabeçote de impressão instalado na impressora quando ocorre um defeito de entupimento no cabeçote o mesmo deve ser substituído, mas por ser uma peça da impressora, o mesmo não tem custo baixo.

CANON

As impressoras da cânon possuem o sistema de impressão semelhante as da  EPSON, alguns modelos como o da BJC  600 utilizam cabeçote fixo e depósitos de tintas separados ou seja, no caso de término de uma das cores deve-se trocar somente a cor que acabou não necessário trocar o cartucho tricolor interno como no caso das impressoras EPSON.

Nos modelos BJC 4000 o cabeçote é fixo mais o depósito de tinta color é tricolor ou seja, no término de uma das cores deve-se trocar o cartucho inteiro e no caso término da cor preta trocar somente o cartucho de cor preta.

FUNCIONAMENTO ELETRÔNICO DE UMA HP

A placa lógica controla todas as operações na impressora e tudo está basicamente implementado em 2 Cis:

  • Microprocessador
  • Chip custorizado da HP

O processador recebe os dados e comandos pelo customizado e em seguida processaos de modo a montar previamente a linha de impressão, em seguida, envia os dados para o buffer de onde o customizado irá pegá-los e controlar o mecanismo para fazer a impressão. As funções básica do customizado são:

  • comunicação paralela e serial
  • controle lógico do motor do carro e do papel
  • temporização (timer)
  • processa dados para possibilitar impressão com densidades diferentes e melhoradas.
  • Controla a proteção da cabeça de impressão em caso de curto.
  • Algumas funções lógicas diversas.

LATCHES E BUFFERS

Os latches e buffers utilizados na máquina são basicamente para aumentar o sinal quando da leitura dos dip swithes, acionamento de leds do teclado e leitura do sensores.

CIRCUITO DE POWER ON

Este circuito fornece o sinal de reset para a máquina 13.8 microsegundos  após a máquina ser ligada e em função da linha de 5V e 25V estarem estáveis. Este circuito também irá desabilitar o customizado caso a linha de 25V caia demais. Este circuito também filtra o sinal de reset existente quando um cartucho é instalado ou removido.

DRIVERS DE MOTORES

O chip customizado reconhece a posição do carro em função de 2 ondas quadradas geradas pelo encoder situado no motor do carro. Em seguida este CI envia um sinal indicando a posição do carro ao processador que compara a posição informada com a posição que deveria ser correta e retorna ao customizado um sinal de erro. O customizado controla a velocidade do motor do carro através de um controle por largura de pulso. O motor do papel é controlado também pelo customizado atrvés de 4 fases.

Interface paralela padrão centronics

    Esta interface está no padrão centronics e com as seguintes características:

  • 8 linhas de dado (D0 até D7)
  • 3 linhas de handshake (comunicação)
  • Strobe (STR)
  • Acknowledge (ACK)
  • Busy

  • 3 linhas de status

  • On-line (em linha)

  • Paper Error (erro de papel)PE

  • Error (falha)ERR

  • 1 linha de reset

  • Reset/Imput Prime (IP)

 Qualquer interface pode ser utilizada, e será automaticamente reconhecida pela impressora. Abaixo temos a temporização de handshaking da interface paralela.

A interface paralela possui uma buffer de 16Kbytes. Quando o buffer estiver quase cheio, restando somente 60 bytes para estar cheio, a impressora passará a somente aceitar um byte por segundo e quando o buffer ficar totalmente cheio, a impressora irá suspender a recepção de dados pelo micro.

19 INTERFACE SERIAL

A interface serial está no padrão RS232C. Pode-se utilizar 2 tipos de protocolos de comunicação diferentes:

DTR (data terminal ready ou protocolo de hardware)

Xon/Xoff (informa buffer cheio atrvés de byte de dado)

DTR

Conhecido como protocolo físico, controla o envio de dados pelo computador através do nível no pino 20 da interface(DTR). Quando restar somente 100 bytes para encher o buffer a impressora coloca o DTR em OFF (-12V) fazendo assim, parar o envio de dados pelo computador. A impressora continuará imprimindo de modo que o buffer começará a esvaziar. Quando a impressora estiver com capacidade de buffer para mais 150 bytes, ela colocará o sinal DTR em ON (+12V) fazendo com que o micro retorne a enviar dados. Se o buffer só tiver capacidade para receber 64 bytes, a impressora passará a receber somente 1 byte por handshaking

XON/XOFF

A diferença deste protocolo é que em vez de se utilizar um sinal, utiliza-se a via de dado da impressora para o micro para se transmitir o byte de XON(código ASCII DCI) para liberar o envio de dado pelo micro e o byte de XOFF(código ASCII DC3) para interromper a transmissão de dado pelo micro.

Placa driver da cabeça

Esta placa contém os seguintes circuitos:

  • circuito de potência da cabeça
  • circuito de detecção 
  • circuito do sensor do papel
  • circuito de ID (identificação)

CIRCUITO DE DETECÇÃO

Indica se existe algum resistor da cabeça danificado(em curto). Existe 4 terras de referencia onde as correntes são compradas entre si, indicando desta forma se a cabeça está em curto ou não. O retorno vai ao chip customizado.

CIRCUITO SENSOR DO PAPEL

O sensor de papel é ótico de modo que a presença de papel faz com que a luz seja cortada do fototransistor, indicando a presença do papel na máquina. O sinal do fototransistor vai ao chip customizado que ativa o led indicador da presença de papel.

CIRCUITO DE IDENTIFICAÇÃO

Este circuito identifica o tipo de cabeça instalada na máquina(colorida ou preta).Temos 2 pinos utilizados para fornecer um sinal com esta indicação, porém este sinal será de 5V ou 20V

(fora do padrão TTL). Este sinal depois será convertido para nível TTL por um conversor de sinal.

20 MECANISMO

      O mecanismo da impressora executa as seguintes funções:

  •  Movimenta a cabeça na direção horizontal em relação ao papel
  • Movimenta o papel

      Pegar o papel da bandeja e inserir na máquina

      Movimentar o papel perpendicularmente ao trilho do carro

      Ejetar o papel da máquina

  • Ativar a cabeça

Limpar a cabeça

Retirar o excesso de tinta (unidade spitton)

O mecanismo somente trabalha com 2 motores: MOTOR DO CARRO E DO PAPEL.

CARRO DE IMPRESSÃO

O conjunto do carro é tracionado por uma correia que de um lado está na polia do motor e do outro ao redor de uma outra polia cujo suporte é mantido esticado por um tipo de mola a manter a correia esticada. No motor existe um disco encoder que fornece a posição atual do carro e também permite um controle da velocidade.

MOVIMENTO DE PAPEL

O motor do papel está localizado no lado direito do mecanismo na posição vertical e aciona as seguintes partes:

        Roletes de tracionamento

        Base de apoio

        Eixo do anteparo(platen)

        Bomba

 

ROLETES

Os roletes movimentam o papel perpendicularmente ao movimento do carro. Estes roletes são acionados nos seguintes casos:

ao carregar o papel da bandeja ao posicionar o papel para cima ou para baixo ao ejetar o papel da máquina

 Estes roletes são acionados pelo motor do papel através de um conjunto de engrenagens. Eles serão ativados toda vez que o motor do papel for ativado, mesmo durante a inicialização.

 

BASE DO APOIO DO PAPEL

A base que apóia o papel (plate) leventa o papel até os  roletes para que estes possam tracioná-lo para dentro da área de impressão. Depois que uma folha de papel é tracionada a base volta a sua posição inicial para que não haja outro papel sendo tracionado. Uma mola faz com que a base suba e uma trava na lateral direita a mantêm na posição de repouso. Esta trav é solta por uma engrenagem.

 

EIXO DO ANTEPARO

O anteparo superior encaminha o papel ejetado para a bandeja de saída. Isto ocorre de forma que quando o papel é ejetado o anteparo faz com que as “asas” da bandeja de saída se abram.

BOMBA

A bomba quando acionada pucha tinta até a cabeça (saída). Existe um tubinho na base do carro que vai até a unidade de absorção para fazer a ligação. O ar também é eliminado neste processo.

TRANSMISSÃO

A transmissão funciona de modo a conectar um sistema de engrenagem de cada vez. São 3 sistemas: O da base de papel, do anteparo que rotaciona e da bomba. Somente um mecanismo de engrenagem pode ser acionado de cada vez entretanto as funções podem ser sobrepostas no tempo devido ao uso de uma mola de interferência. Exemplo do caso em que precisa-se pegar um papel da bandeja antes da ejeção da anterior estar completa. Temos 3 acionadores (triggers) para ativar cada um dos 3 processos.

ESTAÇÃO DE SERVIÇO DO CARTUCHO

Este mecanismo possui 4 funções relacionadas a cabeça abaixo discriminadas:

  • guia
  • limpeza
  • proteção
  • expelir

GUIA (SLED)

Esta haste tem a função de conectar o tubo de sucção ao cartucho> O carro ao se movimentar para a direita irá acionar esta haste (sled).