Transporte de pessoas com deficiência

Ascensorista de Elevador

1 Transporte de pessoas com deficiência

Definições da Acessibilidades

 

Para os efeitos desta Norma, aplicam-se as seguintes definições:

Acessibilidade no edifício: Qualidade de um edifício/estrutura (e suas partes) que permite a pessoas acessar e usar o edifício de modo igual e independentemente.

Acessibilidade aos elevadores: A acessibilidade aos elevadores por pessoas portadoras de deficiência tem que ser garantida, o que significa que é essencial que o edifício e aquelas partes que conduzem aos elevadores atendam aos requisitos das normas aplicáveis (por exemplo, entrada, rampas, áreas de giro, largura de porta, etc.). Além disso, deve haver uma especificação precisa, clara e apropriada para os elevadores, contendo símbolos, alertas sonoros e pictogramas grandes. As necessidades mencionadas anteriormente devem cobrir a diversidade de deficiências e não devem trazer dificuldade para as pessoas não portadoras de deficiências.

Pessoa portadora de deficiência: Aquela pessoa que apresenta, em caráter temporário ou permanente, perdas ou reduções de sua estrutura ou função fisiológica, anatômica, mental ou sensorial, que gerem incapacidade para certas atividades, segundo padrões de comportamento e valores culturais.

Deficiência física: Aquela deficiência que, por motivo de perda ou anomalia congênita ou adquirida, parcial ou total, de estrutura ou função fisiológica ou anatômica, pode ocasionar restrições da capacidade orgânica e da habilidade funcional, podendo obrigar a pessoa a locomover-se, temporária ou permanentemente, com auxílio ou não de cadeira de rodas, aparelhos ortopédicos e/ou de próteses.

Deficiência auditiva: Aquela deficiência que, por motivo de perda ou anomalia congênita ou adquirida, parcial ou total, da estrutura ou função da audição, pode ocasionar restrições da capacidade de comunicação, de interpretação sobre as condições de segurança, de orientação e de mobilidade no meio edificado.

Deficiência mental: Aquela deficiência que, por motivo de perda ou anomalia congênita ou adquirida, parcial ou total, de raciocínio lógico ou intuitivo, pode gerar confusão de idéias, falhas de decisão, de interpretação das condições de segurança e de orientação no meio edificado.

Deficiência múltipla: Ocorrência simultânea de duas ou mais deficiências.

Mobilidade reduzida: Condição que faz a pessoa movimentar-se com dificuldade, insegurança e necessidade de apoiar-se, locomovendo-se com ou sem aparelhos ortopédicos e/ou próteses, reduzindo efetivamente a mobilidade, a flexibilidade, a coordenação motora e a percepção. Condição comum em gestantes, obesos, idosos e pessoas de pequena estatura.

Cela braille: Arranjo de seis pontos em relevo dispostos em duas colunas de três pontos. Estes seis pontos formam 63 combinações diferentes com as quais se representam as letras do alfabeto, os sinais de pontuação, os números, notação musical e científica, e são configurados e numerados da seguinte forma (ver figura 1).

O arranjo de seis pontos e o espaçamento entre as celas braille devem respeitar o padrão internacional (ver figuras 2 e 3).

Contraste: Oposição entre luz e sombra, claro e escuro e outros elementos de relevo.

Condições gerais

Os elevadores previstos nesta Norma devem atender à NM 207, bem como às condições específicas da seção 5 ou às normas exigidas para o elevador existentes ou preferivelmente mais recentes, desde que sejam garantidos os critérios de acessibilidade para as pessoas portadoras de deficiência exigidos nesta Norma.

Condições específicas

Elevadores novos

Localização e acesso

Os elevadores novos para o uso da pessoa portadora de deficiência devem situar-se em locais acessíveis à pessoa portadora de deficiência.

O saguão do edifício deve prover espaço adequado para permitir a entrada e a saída nos elevadores com segurança.

Operação e nivelamento

O elevador deve ter comando automático e ser provido com um sistema de nivelamento próprio que automaticamente leve a cabina ao piso dos pavimentos, dentro de uma tolerância máxima de 10 mm sob condições normais de carga e descarga.

 

Operação de portas

O sistema de portas deve ser do tipo corrediça horizontal automático, simultâneo na cabina e no pavimento.

Entradas

As entradas devem atender ao seguinte:

A largura livre mínima deve ser de 800 mm e a altura livre mínima deve ser de 2 000 mm. Em todos os pavimentos, a área defronte da entrada do elevador deve estar livre de obstáculos e conforme a NBR 9050.

Sistema de proteção e reabertura das portas

As portas devem ter um sistema de reabertura no caso de qualquer obstrução durante o movimento de fechamento. O sistema de reabertura deve atuar sem necessidade de contato físico de pessoa ou objeto na entrada, nas alturas de 50 mm até 1 200 mm acima do nível do piso da cabina com mínimo de 16 feixes de luz.

NOTA - Devido à energia cinética do sistema de porta, o movimento de reversão no sentido do fechamento não é instantâneo e continua até que o movimento da porta pare. É possível que a continuação deste movimento da porta possa causar o contato da porta com objeto ou pessoa que está passando através da abertura.

O sistema de reabertura da porta deve estar ativo durante pelo menos 20 s, se esta permanecer obstruída no seu fechamento. Após a decorrência deste tempo, a porta pode fechar-se. Neste caso, devem ser atendidas as exigências da NM 207 ou de normas exigidas para o elevador existentes ou preferivelmente mais recentes, desde que sejam garantidos os critérios de acessibilidade para as pessoas portadoras de deficiência exigidos nesta Norma.

O tempo de manutenção de porta aberta após sua abertura e desobstrução do detector deve ser ajustável entre 2 s e 7 s.

Tempo de porta aberta

Para permitir que os usuários entrem e saiam do elevador sem obstruções ou retardamentos, o tempo de porta aberta deve ser ajustável entre 5 s e 15 s. O tempo de porta aberta pode ser reduzido usando um botão de fechamento de porta na cabina ou por outros meios no controle.

Interior da cabina

Opção sem permitir o giro de cadeira de rodas

A distância entre os painéis laterais deve ser no mínimo de 1 100 mm e a distância entre o painel do fundo e o frontal deve ser no mínimo de 1 400 mm (ver figura 4 e tabela 1).

Opção para permitir o giro de cadeira de rodas

O espaço interno da cabina deve permitir o giro completo de uma cadeira de rodas. A distância entre os painéis laterais deve ser no mínimo de 1 725 mm. A distância entre o painel do fundo e o frontal deve ser no mínimo de 1 300 mm (ver figuras 5 e 6 e tabela 1).

Espelho

O espelho, se instalado, deve estar situado acima do corrimão

Comandos da cabina

A linha de centro horizontal da parte ativa do botão mais baixo deve estar localizada a uma altura de 890 mm e a linha de centro horizontal da parte ativa do botão mais alto a 1 350 mm, medidas a partir do piso da cabina, com tolerâncias de 25 mm (ver figura 7).

A linha de centro vertical da parte ativa do botão mais próximo da porta deve estar no mínimo a 400 mm do painel frontal e a linha de centro vertical da parte ativa do botão mais próximo do painel de fundo da cabina deve estar no mínimo a 500 mm deste painel (ver figura 7).

Os botões de chamada devem ter uma dimensão mínima de 19 mm, com área mínima de 360 mm2 , excluindo-se a aba, devendo ser saliente sem aresta cortante ou faceado em relação à placa da botoeira (ver figura 8). Quando operados, a profundidade não deve exceder 5 mm. Devem ser providos de indicação visual para cada chamada registrada, que deve extinguir-se quando a chamada é atendida.

O registro da chamada deve ser visível e audível, ajustável entre 35 dBA e 50 dBA, com freqüência não superior a 1 500 Hz, medidos a uma distância de 1 m do botão acionado. O sinal audível deve ser dado a cada operação individual do botão, mesmo que a chamada já tenha sido registrada. Além disso, é permitido dar uma resposta mecânica do registro da chamada.

A botoeira da cabina deve ser colocada no painel lateral direito de quem está de frente para o elevador.

No caso de portas corrediças laterais cujas folhas se deslocam para a direita ao abrir, deve ser instalada uma segunda botoeira no painel lateral esquerdo.

As identificações dos comandos devem estar preferivelmente localizadas ao lado esquerdo do botão correspondente e devem ter cor contrastando com o fundo. Os caracteres devem ter uma altura mínima de 16 mm e ser em alto ou baixo relevo de 0,8 mm no mínimo (ver figura 8).

As marcações braille devem estar localizadas ao lado esquerdo do botão correspondente, devendo respeitar a dimensão 7,4 mm x 4,7 mm para cada cela braille (ver figuras 1, 2 e 3). Estas marcações podem ser em placas de metal rígido ou plástico rígido, gravadas e permanentemente fixadas (ver figura 8).

Os comandos de emergência devem estar agrupados na parte inferior da botoeira da cabina. No caso de botoeiras horizontais, devem estar à esquerda

Símbolos conforme os mostrados no anexo A devem ser usados para permitir uma fácil identificação dos comandos.

Os comandos não essenciais para a operação automática do elevador pelo usuário em geral podem ser localizados em qualquer altura, conforme a conveniência.

Os pavimentos devem ser numerados sequencialmente por algarismos arábicos, sendo que a entrada principal (térreo) será designada por 0 (zero), os pavimentos acima do térreo serão designados por 1, 2, 3, etc. e os pavimentos abaixo do térreo por -1, -2, -3, etc.

A identificação dos botões de chamadas na botoeira da cabina deve estar sequenciada do seguinte modo:

a) se a botoeira é horizontal, da esquerda para a direita;

b) se a botoeira tem uma única coluna, de baixo para cima;

c) se botoeira tem várias colunas, da esquerda para a direita e de baixo para cima.

Para acionamento, os botões de chamada devem proporcionar uma força de operação na parte ativa compreendida entre 1,5 N e 3,0 N.

O espaçamento vertical livre da parte ativa de dois botões de chamada deve ser de 10 mm a 15 mm.

Indicador de posição da cabina e sinalização

O indicador de posição da cabina deve ser colocado na botoeira da cabina ou sobre a abertura de cada porta, para mostrar a posição da cabina no percurso, indicando por caracteres iluminados ou mostrador digital os pavimentos servidos no qual a cabina está parada ou de passagem.

As indicações devem mostrar bom contraste com o fundo e o caractere deve ter uma altura mínima de 16 mm.

Para todos os pavimentos servidos, a cada parada da cabina deve soar automaticamente um anúncio verbal.

Para ativar ou desativar o anúncio verbal, deve ser colocado um botão especial localizado na parte inferior da botoeira da cabina e à direita do botão de alarme. Este botão deve ser identificado pelo símbolo "S" (ver anexo A). Este símbolo deve ter altura mínima de 16 mm, em alto ou baixo relevo, de 0,8 mm no mínimo e deve ter cor contrastando com o fundo.

 

Sistema de intercomunicação

Um meio de comunicação de duas vias deve ser instalado entre o elevador e um local fora da caixa, de acordo com o especificado na NM 207 ou normas exigidas para o elevador existentes ou preferivelmente mais recentes, desde que sejam garantidos os critérios de acessibilidade para as pessoas portadoras de deficiência exigidos nesta Norma.

Um meio de comunicação necessitando de um acionamento físico pelo usuário deve ser colocado entre 890 mm e 1 350 mm acima do piso da cabina. Se for colocado um telefone, ele pode ser localizado abaixo de 890 mm, medido do piso da cabina. O telefone, de fácil acesso, deve ter um cabo com comprimento mínimo de 750 mm. No caso de haver mecanismo manual de discagem, este deve ser incorporado ao fone.

Uma marcação ou o símbolo internacional para telefone (ver anexo A) deve ser colocado ao lado esquerdo do comando ou sobre a caixa do telefone, em cor contrastando com o fundo. Caracteres devem ter uma altura mínima de 16 mm, em alto ou baixo relevo de 0,8 mm no mínimo. Estas marcações podem ser em placas gravadas e permanentemente fixadas.

Deve existir também uma marcação braille correspondente a “TEL” (ver anexo A) ao lado esquerdo do comando, obedecendo ao padrão definido em 3.4. Esta marcação pode ser feita em placa de metal rígido ou plástico rígido, gravada e permanentemente fixada.

 

Revestimento do piso da cabina

O revestimento do piso da cabina deve ter superfície dura e antiderrapante, permitindo uma movimentação fácil da pessoa portadora de deficiência.

As cores do piso da cabina devem ser contrastantes com as do piso do pavimento. As soleiras não são consideradas.

Corrimão

Na cabina deve haver um corrimão de superfície lisa e não deslizante, fixado nos painéis laterais e no de fundo, de modo que a parte superior esteja a uma altura entre 890 mm e 900 mm do piso acabado, com espaço livre entre o painel da cabina e o corrimão de 40 mm, com tolerância de ± 2 mm.

O corrimão deve suportar uma força de 700 N, aplicada em qualquer posição de sua superfície, sem flexionar-se mais do que 6 mm e sem deformação permanente.

O corrimão deve terminar junto à botoeira da cabina, ter extremidade com acabamento recurvado e ter contraste com os painéis da cabina

Se não houver continuidade entre os corrimãos instalados entre os painéis laterais e o de fundo, a distância entre os mesmos deve ser entre 40 mm e 45 mm e não deve haver cantos vivos.

O corrimão deve ter seção transversal conforme a figura 9-a) ou b).

Iluminação mínima

A cabina deve ter iluminação elétrica com no mínimo duas lâmpadas, de forma a assegurar iluminamento médio mínimo de 60 lx ao nível do piso.

Botões de pavimento

A altura da linha de centro horizontal dos botões deve estar entre 900 mm e 1 100 mm. O botão designativo da subida deve ficar em cima.

Os botões de chamada da botoeira de pavimento devem ter dimensão mínima de 19 mm com área mínima de 360 mm2 , excluindo-se a aba. Devem ser salientes, sem arestas cortantes ou faceados com relação à placa da botoeira. Quando operados, a profundidade não deve exceder 5 mm.

Os botões de chamada devem ser providos de indicação visual para cada chamada registrada que deve extinguir-se quando a chamada é atendida. O registro da chamada deve ser visível e audível, ajustável entre 35 dBA e 50 dBA, medido a uma distância de 1 000 mm do botão acionado, com freqüência não superior a 1 500 Hz. O sinal audível deve ser dado a cada operação individual do botão, mesmo que a chamada já tenha sido registrada. Além disso, é permitido dar uma resposta mecânica do registro de chamada.

Sinalização nos pavimentos

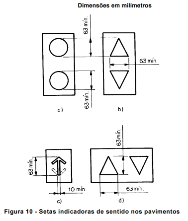
Junto a cada porta de entrada deve ser colocado um dispositivo que emita sinais acústico e visual, indicando o sentido em que a cabina se movimenta (ver figura 10).

O sinal visual para cada sentido de movimento da cabina deve atender às dimensões mínimas mostradas nas figuras 10-a), b), c) ou d), e deve ser visível quando a pessoa estiver próxima da botoeira de chamada. Quando o sinal visual contiver um elemento linear, este deve apresentar uma dimensão mínima de 10 mm [ver figura 10-c)].

Sinais sonoros devem ter um nível sonoro entre 35 dbA e 55 dbA, medidos a uma distância de 1 000 mm, e devem ser ajustáveis para atender às condições ambientes.

O sinal sonoro deve soar diferente para subida e descida, no caso de controle coletivo direcional e coletivo de descida:

a) uma nota para subida;

b) duas notas para descida;

c) três tons diferentes para a) e b).

Um anúncio verbal automático pode substituir o sinal sonoro. 

A linha de centro do dispositivo deve estar entre 1 800 mm e 2 500 mm do piso

Identificação do pavimento nos batentes das portas

A identificação do pavimento deve ser afixada em ambos os lados dos batentes das portas, na altura da botoeira de pavimento, em todos os pavimentos, e ser visível a partir do interior da cabina e do acesso. As marcações devem formar um contraste com o fundo e ter dimensões mínimas de 50 mm em alto ou baixo relevo de 0,8 mm.

A marcação braille de identificação do pavimento deve ser colocada imediatamente abaixo da designação do pavimento.

Estas marcações podem ser em placas gravadas e permanentemente fixadas.

Folga entre as soleiras

A folga entre a borda da soleira da plataforma do carro e a borda de qualquer soleira de pavimento deve ser conforme especificado na NM 207 ou normas exigidas para o elevador existentes ou preferivelmente mais recentes, desde que sejam garantidos os critérios de acessibilidade para as pessoas portadoras de deficiência exigidos nesta Norma.

Uso em caso de emergência

Elevadores não são considerados como meio de evacuação de um prédio em caso de emergência. Deve ser definido um plano para atender aos usuários de cadeira de rodas. Os elevadores podem não ser disponíveis durante um incêndio.

Composição da cabina (somente para novas instalações)

 

Elevadores existentes

Geral

Esta seção, para elevadores existentes, se aplica a elevadores que foram determinados para ser parte de um meio acessível para pessoa portadora de deficiência. É reconhecido que muitos elevadores foram projetados e instalados de acordo com os padrões industriais e exigências de códigos cujos padrões correntes eram anteriores às exigências de acesso nos edifícios por pessoa portadora de deficiência.

De acordo com estas exigências, os elevadores existentes devem sofrer todas as alterações tecnicamente possíveis previstas nesta Norma.

A rigorosa concordância com todas as exigências realçadas nesta seção pode não ser possível e, daí, impedir o elevador de se tornar um meio integralmente acessível para a pessoa portadora de deficiência.

Localização e acesso

Entre os elevadores existentes, aqueles previstos para o transporte de pessoa portadora de deficiência devem ter os seus acessos adequados para atender aos requisitos desta seção, permitindo, com segurança, a entrada e saída aos elevadores, conforme especificado na NBR 9050.

 

Operação e nivelamento

O elevador deve ter comando automático e ser provido com um sistema de nivelamento próprio que automaticamente leva a cabina ao piso dos pavimentos, dentro de uma tolerância máxima de 15 mm sob condições normais de carga e descarga.

Operação das portas

Devem ser colocados recursos automáticos, como portas tipo corrediça horizontal simultâneas operadas eletricamente, para os pavimentos e para a cabina. Portas guilhotina ou pantográficas são proibidas.

Existindo portas do tipo eixo vertical acionadas manualmente, elas podem continuar sendo usadas sob condição que tenham uma largura livre mínima de 760 mm, com ângulo de abertura de 90o (ver figura 12). A máxima força para vencer a inércia e o atrito e mover a porta até um ângulo de 12º deve ser de 35 N e para manter o movimento da porta até a posição aberta deve ser de 30 N. As forças devem ser aplicadas perpendicularmente às portas, no puxador de portas ou a 760 mm do lado da dobradiça.

Deve existir um operador de porta para cabina, acionado eletricamente, que deve abrir a porta da cabina e manter uma largura livre mínima de 800 mm. O fechamento da porta da cabina só deve iniciar quando a porta do pavimento estiver fechada.

Dimensionamento das portas

A largura livre mínima das portas para elevadores com portas simultâneas acionadas por operador elétrico deve ser de 800 mm, conforme a figura 13.

Sistema de proteção e reabertura de portas simultâneas

As portas devem ter um sistema de reabertura nos casos de qualquer obstrução durante o movimento de fechamento. O sistema de reabertura deve atuar sem necessidade de contato físico de pessoa ou objeto na entrada, nas alturas de 50 mm até 1 200 mm acima do nível do piso da cabina com mínimo de 16 feixes de luz.

NOTA - Devido à energia cinética do sistema de porta, o movimento de reversão no sentido do fechamento não é instantâneo e continua até que o movimento da porta pare. É possível que a continuação deste movimento da porta possa causar o contato da porta com objeto ou pessoa que está passando através da abertura.

O sistema de reabertura da porta deve estar ativo durante pelo menos 20 s, se esta permanecer obstruída no seu fechamento. Após a decorrência deste tempo a porta pode fechar. Neste caso, devem ser atendidas as exigências da NM 207 ou normas exigidas para o elevador existentes ou preferivelmente mais recentes, desde que sejam garantidos os critérios de acessibilidade para as pessoas portadoras de deficiência exigidos nesta norma. O tempo de manutenção de porta aberta após sua reabertura e desobstrução do detector deve ser ajustável entre 2 s e 7 s.

Para permitir que os usuários entrem e saiam do elevador sem obstruções ou retardamentos, o tempo de porta aberta deve ser ajustável entre 5 s e 15 s. O tempo de porta aberta pode ser reduzido usando um botão de fechamento de porta na cabina ou por outros meios no controle.

Interior da cabina

O interior da cabina deve permitir o acesso de uma pessoa em cadeira de rodas e ter a distância mínima entre os painéis laterais de 1 000 mm e a distância mínima entre o painel frontal e o de fundo de 1 250 mm.

NOTA - Para permitir o giro parcial de uma cadeira de rodas, a mínima distância ente as paredes ou entre as paredes e a porta, excluindo o painel de retorno, não deve ser menor do que 1 370 mm. A mínima distância do painel de fundo e o frontal não deve ser menor que 1 300 mm (ver figura 13).

Espelho, se existente, deve estar acima do corrimão.

Comandos da cabina

A linha de centro horizontal da parte ativa do botão mais baixo deve estar localizada a uma altura de 890 mm e a linha de centro horizontal da parte ativa do botão mais alto a 1 350 mm, medidas a partir do piso da cabina, com tolerâncias de 25 mm.

Os botões de chamada devem ter uma dimensão mínima de 19 mm, com área mínima de 360 mm2 , excluindo-se a aba, podendo ser saliente ou faceado em relação à placa da botoeira. Quando operados, a profundidade não deve exceder 5 mm. Devem ser providos de indicação visual para cada chamada registrada, que deve extinguir-se quando a chamada é atendida.

Quando a botoeira existente da cabina estiver instalada no painel frontal, deve ser instalada uma segunda botoeira no painel lateral.

Para os elevadores com porta de abertura central, a nova botoeira deve ser instalada no painel lateral direito para quem entra no elevador. Para os elevadores com porta da cabina de abertura lateral em que a porta se fecha para a direita, a nova botoeira deve ser instalada no painel lateral direito para quem entra no elevador. Para os elevadores com porta da cabina de abertura lateral em que a porta se fecha para a esquerda, a nova botoeira deve ser instalada no painel lateral esquerdo para quem entra no elevador.

Os comandos de emergência devem estar agrupados na parte inferior da botoeira da cabina. No caso de botoeiras horizontais, devem estar à esquerda.

Símbolos conforme os mostrados no anexo A devem ser usados para permitir uma fácil identificação dos comandos.

Os comandos não essenciais para a operação automática do elevador pelo usuário em geral podem ser localizados em qualquer altura, conforme a conveniência.

Quando for provida uma nova botoeira na cabina, ela deve preservar a identificação existente dos pavimentos. A marcação braille deve corresponder à identificação dos botões.

Sistema de intercomunicação

Um meio de comunicação de duas vias deve ser instalado entre o elevador e um local fora da caixa, de acordo com o especificado na NM 207 ou normas exigidas para o elevador existentes ou preferivelmente mais recentes, desde que sejam garantidos os critérios de acessibilidade para as pessoas portadoras de deficiência exigidos nesta norma.

Um meio de comunicação necessitando de um acionamento físico pelo usuário deve ser colocado na botoeira lateral entre 890 mm e 1 350 mm acima do piso da cabina. Se for colocado um telefone, ele pode ser localizado abaixo de 890 mm, medido do piso da cabina. O telefone, de fácil acesso, deve ter um cabo com comprimento mínimo de 750 mm. No caso de haver mecanismo manual de discagem, este deve ser incorporado ao fone.

Uma marcação ou o símbolo internacional para telefone deve ser colocado ao lado esquerdo do comando ou sobre a caixa do telefone, em cor contrastando com o fundo. Caracteres devem ter uma altura mínima de 16 mm, em alto ou baixo relevo de 0,8 mm no mínimo. Estas marcações podem ser em placas gravadas e permanentemente fixadas.

Deve existir também uma marcação braille correspondente a “TEL” (ver anexo A) ao lado esquerdo do comando, obedecendo ao padrão definido em 3.4. Esta marcação pode ser feita em placa de metal rígido ou plástico rígido, gravada e permanentemente fixada.

Revestimento do piso da cabina

O revestimento do piso da cabina deve ter superfície dura e antiderrapante, permitindo uma movimentação fácil da pessoa portadora de deficiência. As cores do piso da cabina devem ser contrastantes com as do piso do pavimento. As soleiras não são consideradas.

Corrimão

Na cabina deve haver um corrimão de superfície lisa e não deslizante, fixado nos painéis laterais e no de fundo, de modo que a parte superior esteja a uma altura entre 890 mm e 900 mm do piso acabado, com espaço livre entre o painel da cabina e o corrimão de 40 mm, com tolerância de ± 2 mm.

O corrimão deve suportar uma força de 700 N, aplicada em qualquer posição de sua superfície, sem flexionar-se mais do que 6 mm e sem deformação permanente.

O corrimão pode terminar junto à botoeira da cabina, ter a extremidade com acabamento recurvado e ter contraste com os painéis da cabina.

Se não houver continuidade entre os corrimãos instalados entre os painéis laterais e de fundo, a distância entre os mesmos deve ser entre 40 mm e 45 mm e não deve haver cantos vivos.

O corrimão deve ter seção transversal conforme a figura 9.

Iluminação mínima

A cabina deve ter iluminação elétrica com no mínimo duas lâmpadas, de forma a assegurar iluminamento médio mínimo de 60 lx ao nível do piso

Botões de pavimento

A altura da linha de centro horizontal dos botões deve estar entre 900 mm e 1 100 mm. O botão designativo da subida deve ficar em cima.

Os botões de chamada da botoeira de pavimento devem ter dimensão mínima de 19 mm, com área mínima de 360 mm2 , excluindo-se a aba. Devem ser salientes, sem arestas cortantes ou faceados com relação à placa da botoeira. Quando operados, a profundidade não deve exceder 5 mm.

Os botões de chamada devem ser providos de indicação visual para cada chamada registrada, que deve extinguir-se quando a chamada é atendida. O registro da chamada deve ser visível e audível, ajustável entre 35 dBA e 50 dBA, medidos a uma distância de 1 000 mm do botão acionado, com freqüência não superior a 1 500 Hz. O sinal audível deve ser dado a cada operação individual do botão, mesmo que a chamada já tenha sido registrada. Além disso, é permitido dar uma resposta mecânica do registro de chamada.

Sinalização nos pavimentos

Junto a cada porta de entrada deve ser colocado um dispositivo que emita sinais acústico e visual, indicando o sentido em que a cabina se movimenta (ver figura 10).

Sinais sonoros devem ter um nível sonoro entre 35 dbA e 55 dbA, medidos a uma distância de 1 000 mm, e devem ser ajustáveis para atender às condições ambientes.

O sinal sonoro deve soar diferente para subida e descida, no caso de controle coletivo direcional e coletivo de descida:

a) uma nota para subida;

b) duas notas para descida;

c) três tons diferentes para a) e b).

Um anúncio verbal automático pode substituir o sinal sonoro

A linha de centro do dispositivo deve estar no máximo a 2 500 mm do piso.

Identificação do pavimento nos batentes das portas

A identificação do pavimento deve ser afixada em ambos os lados dos batentes das portas, na altura da botoeira de pavimento, em todos os pavimentos, e ser visível a partir do interior da cabina e do acesso. As marcações devem formar um contraste com o fundo e ter dimensões mínimas de 50 mm em alto ou baixo relevo de 0,8 mm.

A marcação braille de identificação do pavimento deve ser colocada imediatamente abaixo da designação do pavimento.

Estas marcações podem ser em placas gravadas e permanentemente fixadas.

Folga entre as soleiras

A folga entre a borda da soleira da plataforma do carro e a borda de qualquer soleira do pavimento deve ser de acordo com o especificado na NM 207 ou normas exigidas para o elevador existentes ou preferivelmente mais recentes, desde que sejam garantidos os critérios de acessibilidade para as pessoas portadoras de deficiência exigidos nesta Norma.

Uso em caso de emergência

Elevadores não são considerados meio de evacuação de um prédio em caso de emergência. Deve ser definido um plano para atender aos usuários de cadeira de rodas. Os elevadores podem não ser disponíveis durante um incêndio.

Identificação

Se um ou mais elevadores de um edifício atenderem integralmente às exigências desta Norma, estes elevadores devem ser claramente identificados com o Símbolo Internacional de Acesso, de acordo com a figura 14.

Elevadores que não atenderem às exigências desta Norma não receberão o Símbolo Internacional de Acesso.

Composição da cabina (elevadores existentes)