Sistemas de cabeamento estruturado

Cabeamento Estruturado

1 Histórico dos sistemas de cabeamento estruturado:

 

No início da década de 80 os sistemas Mainframe dominavam o mercado.

Surgem os conceitos de "Networking" e "Downsizing" referindo-se ao processo de implementação de redes de microcomputadores.

 

Visão dos Anos 80:

 

  • Cabeamento Dedicado;
  • Sistemas Proprietários;
  • Processamento Centralizado;
  • Voz / Dados;
  • Até 10 Mbps.

Com a falta de normas para o mercado de redes locais, os fabricantes criaram sistemas proprietários para atender a demanda.

A rápida evolução e popularização dos PC's levou fabricantes e organismos internacionais a desenvolver normas e padrões para o setor.

A partir de 1988, os primeiros sistemas de cabeamento integrando voz, vídeo e dados foram lançados comercialmente.

Surge no mercado de redes o conceito SCS – “Structured Cabling System” - " Sistema de Cabeamento Estruturado".

Um SCS consiste de um conjunto de produtos de conectividade, empregado de acordo com regras específicas, cujas características principais são:

  • Arquitetura aberta;
  • Meio de transmissão e disposição física padronizados.
  • Aderência e padrões internacionais;
  • Projeto e instalações sistematizados. 

 

Visão dos Anos 90:

 

  • Sistema integrado de cabeamento;
  • Arquitetura aberta;
  • Processamento distribuído;
  • Voz/Dsdos/Imagem/Vídeo/Controles;
  • 100 Mbps, 1Gbps, etc. 

Com a introdução de padrões internacionais, os sistemas de cabeamento passaram a ser produzidos sob normas definidas internacionalmente.

A liberdade de escolha de fornecedores pelo usuário tornou mais flexível e barato o projeto de sistemas de informação, além de preservar seus investimentos.

 

2 Normas e Padronização de Sistemas de Cabeamento Estruturado:

Normalização Europeia/Internacional:

 

  • ISO (Internacional Standard Organization);
  • IEC (International Electrotechnical Commission);
  • BSI (British Standards Institute);
  • CENELEC (para o mercado britânico).

 

Normalização no Brasil:

 

  • ABNT - Associação Brasileira de Normas Técnicas, que desenvolve a normalização de sistemas de cabeamento estruturado para uso no Brasil, baseada em normas internacionais;
  • NBR 14565 (Infra-estrutura de redes);
  • NBR 5410 (Instalações elétricas).

 

Normas mais utilizadas para cabeamento no Brasil:

 

  • ANSI/EIA/TIA-568 que especifica sistemas de cabeamento estruturado para edifícios comerciais;
  • NBR 14565, norma brasileira que traz os procedimentos básicos para a elaboração de projetos de cabeamento estruturado em redes de telecomunicações;
  • BICSI – (Building Industry Consulting Service International) - Associação internacional dos profissionais da área de telecomunicações, com maior enfoque em cabeamento estruturado, infra-estrutura predial, automação predial e residencial, networking e planta externa;
  • AURESIDE – Associação Brasileira de Automação Residencial.

 

3 Projetos de Infraestruturas:

 

“Um sistema em uma rede nunca será melhor do que o seu cabeamento”.

Um bom projeto deve seguir metodologias definidas e os sistemas utilizados devem ser baseados em padrões internacionais, com componentes aferidos e de qualidade.

Em uma rede estruturada não se conecta diretamente um equipamento que provê um serviço ou sinal ao usuário. Conforme definido por normas internacionais, o equipamento deve ser conectado a um painel distribuidor e este, através de outros dispositivos de conexão, ser conectado a um ponto de acesso na área de trabalho.

Uma instalação típica de cabeamento estruturado consiste em tomadas para o usuário com conectores do tipo RJ-45. Cada cabo é conduzido para as salas de telecomunicações através do cabeamento horizontal.

 

 

Um projeto de cabeamento estruturado deve seguir várias etapas que antecedem a instalação física da rede:

•Análise das necessidades dos usuários e das facilidades de transmissão disponíveis ;

•Levantamento do cabeamento existente existente;

• Verificação da estrutura funcional e técnica disponível;

• Especificação da prumada e da topologia do cabeamento;

•Elaboração do desenho esquemático da rede, com detalhamento do sistema de distribuição, constituição do backbone físico, especificações técnicas, equipamentos de proteção, plano de etiquetagem, plano de conexão de equipamentos, etc;

•Detalhamento do orçamento para o total de cabos, conectores e demais módulos de hardware necessários;

•Se o projeto tem como objetivo a melhoria de uma rede existente, elaborar a documentação necessária do plano de migração da rede antiga para a nova rede.

 

 

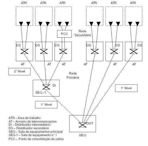
  • Projeto da rede primária: ,

 

 

  • Dimensionamento da Rede Primária: 

 

 

  • Projeto da Rede Secundária: 

 

 

O cabeamento da rede secundária adota a topologia estrela, com centro localizado na sala de telecomunicações do andar. Conversores de mídia colocados externamente às tomadas não são considerados parte integrante da rede secundária.

  • Mercado SOHO: 

 

 

As tecnologias que permitem automatizar uma residência geralmente são baseadas em conexões de alta velocidade para interligar computadores pessoais, eletrodomésticos, sistemas de segurança, telefones, iluminação e outras aplicações em conjunto.